лр7 (987860)
Текст из файла
Московский Энергетический Институт (Технический Университет)
Лабораторная работа №7
Исследование температурной зависимости проводимости твёрдых диэлектриков
Выполнил: Беликов Артем
ЭЛ-15-04
Проверил: Бородулин В. Н.
Цель работы – получение и исследование температурных зависимостей удельной объёмной электрической проводимости ионных кристаллов и стёкол.
-
Задание
-
Изучить экспериментальную установку.
-
Определить температурную зависимость удельной электрической проводимости поликристаллического образца хлористого натрия NaCl в интервале температур 20 – 400
С. -
Полученные результаты представить в виде таблиц и графиков.
-
По полученным данным для исследования образцов рассчитать значения энергии активации, концентрацию и подвижность носителей заряда.
-
Сформулировать письменные выводы по результатам работы
-
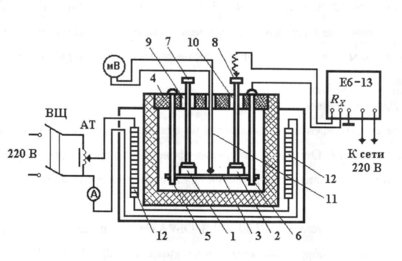
Описание экспериментальной установки и методика выполнения работы
Принципиальная схема установки для измерения электрических сопротивлений образцов диэлектриков при высокой температуре приведена на рис.:
Образцы исследуемых материалов 1 и 2 с нанесёнными методом вжигания серебряными электродами помещаются на траверсу 3. Траверса 3 прикреплена к крышке 4 тигельной печи тягами 5 и 6. Токовводы 7 и 8, изолированные от крышки кварцевыми втулкам 9 и 10, могут попеременно соединяться с измерителем сопротивлений. Траверса, тяги и токопроводящие контакты выполнены из нержавеющей стали.
Температура в непосредственной близости от образцов измеряется при помощи массивной хромель-алюминиевой термопары 2, включённой на милливольтметр, проградуированный в
С.
Измерение скорости нагрева печи осуществляется с помощью автотрансформатора АТ, ток нагревателей 12 контролируется амперметром А.
Размеры образца: l = 17 мм – длина
d = 35 мм – диаметр
| Результаты измерений | |||||||||
| Т, C | T, K | 1000/T, 1/K | R, Ом | p, Ом*м | g, См/м | ln(p) | ln(g) | ln(g*T) | |
| 20 | 293 | 3,4130 | 4*10^11 | 1,90E+12 | 5,30E-13 | 28,272875 | -28,2659 | -22,5857268 | |
| 40 | 313 | 3,1949 | 8,5*10^11 | 4,00E+12 | 2,50E-13 | 29,0173155 | -29,0173 | -23,2711123 | |
| 60 | 333 | 3,0030 | 10*10^11 | 4,70E+12 | 2,10E-13 | 29,1785836 | -29,1917 | -23,3835264 | |
| 80 | 353 | 2,8329 | 15*10^11 | 7,10E+12 | 1,40E-13 | 29,5911159 | -29,5971 | -23,7306659 | |
| 100 | 373 | 2,6810 | 8*10^11 | 3,80E+12 | 2,60E-13 | 28,9660222 | -28,9781 | -23,0565163 | |
| 120 | 393 | 2,5445 | 3*10^11 | 1,40E+12 | 7,00E-13 | 27,9674934 | -27,9877 | -22,0138864 | |
| 160 | 433 | 2,3095 | 1,4*10^11 | 6,60E+12 | 1,50E-13 | 29,5180908 | -29,5281 | -23,4574034 | |
| 200 | 473 | 2,1142 | 0,2*10^11 | 9,50E+12 | 1,10E-13 | 29,8823129 | -29,8383 | -23,6792006 | |
| 240 | 513 | 1,9493 | 0,4*10^10 | 1,90E+10 | 5,30E-11 | 23,6677048 | -23,6607 | -17,4204534 | |
| 280 | 553 | 1,8083 | 6,4*10^8 | 3,00E+10 | 3,30E-10 | 24,1244632 | -21,8319 | -15,5165705 | |
| 320 | 593 | 1,6863 | 2*10^8 | 9,50E+08 | 1,10E-09 | 20,6719725 | -20,628 | -14,2427613 | |
| 360 | 633 | 1,5798 | 5,2*10^7 | 2,50E+08 | 4,10E-09 | 19,3369715 | -19,3123 | -12,8618084 | |
| 400 | 673 | 1,4859 | 1,8*10^7 | 8,50E+08 | 1,20E-08 | 20,5607469 | -18,2384 | -11,7266139 | |
| 440 | 713 | 1,4025 | 9,8*10^6 | 4,70E+07 | 2,20E-08 | 17,6656582 | -17,6322 | -11,062742 | |
| 480 | 753 | 1,3280 | 4,5*10^6 | 2,10E+07 | 4,70E-08 | 16,860033 | -16,8731 | -10,249053 | |
| Удельная электрическая проводимость | |||||||||
| | |||||||||
| | |||||||||
Расчёт значений параметров, определяющих температурные зависимости проводимости, производится с использованием программы RESISTA6
Результаты расчёта представлены в таблице. Расчёт проводился для двух прямолинейных отрезков (точки1..5 и точки 5..20), установленных по построенным графикам температурной зависимости логарифма проводимости.
| Зависимость проводимости |
g(T)=(go/T)*exp(-W/kT) | ||
| Экспериментальные точки |
| 1..5 | 5..20 |
| Интервал температур | 20..100 | 100..400 | |
| Число степеней свободы | Z | 2 | 13 |
| Доверительная вероятность | P | 0,990 | 0,990 |
| Коэффициент Стьюдента | tp | 9,925 | 3,012 |
| Логарифм go-параметра | ln(go) | -1,71E+01 | 1,03E+01 |
| Доверительный интервал | Lln(go) | 8,37E+00 | 1,66E+00 |
| Математическое ожидание | Mgo, K/(Ом*м) | 3,89E-08 | 2,97E+04 |
| Максимальное значение | gomax, K/(Ом*м) | 1,69E-04 | 1,56E+05 |
| Минимальное значение | gomin, K/(Ом*м) | 8,97E-12 | 5,67E+03 |
| Коэффициент | B, K | -1,04E+02 | -1,06E+04 |
| Доверительный интервал | B1, K | 2,76E+03 | 8,25E+02 |
| Энергия активации, Дж | W, Дж | -1,44E-21 | -1,46E-19 |
| Энергия активации, эВ | W, эВ | -9,00E-03 | -9,15E-01 |
| Доверительный интервал, Дж | W1, Дж | 3,18E-20 | 1,14E-20 |
| Доверительный интервал, эВ | W1, эВ | 2,39E-01 | 7,14E-02 |
| Погрешность аппроксимации | p, % | 0,655 | 3,485 |
| Зависимость проводимости |
g(T)=go1*exp[Ca*(T-To)] | ||
| Число степеней свободы | Z | 2 | 13 |
| Доверительная вероятность | P | 0,990 | 0,990 |
| Коэффициент Стьюдента | tp | 9,925 | 3,012 |
| Логарифм предэкспоненты | ln(go1) | -2,31E+01 | -2,28E+01 |
| Доверительный интервал | Lln(go1) | 1,25E+00 | 5,23E-01 |
| Математическое ожидание | Mgo1, K/(Ом*м) | 9,20E-11 | 1,28E-10 |
| Максимальное значение | go1max, K/(Ом*м) | 3,20E-10 | 2,16E-10 |
| Минимальное значение | go1min, K/(Ом*м) | 2,64E-11 | 7,58E-11 |
| Коэффициент | Ca, 1/K | -1,82E-03 | 3,96E-02 |
| Доверительный интервал | Ca1, 1/K | 2,55E-02 | 2,97E-03 |
| Погрешность аппроксимации | p, % | 0,495 | 2,011 |
Определение концентрации и подвижности носителей заряда
Для расчёта значений параметров go и W, характеризующих зависимость g(T)=(go/T)*exp(-W/kT), рассчитываются произведения экспериментальных значений проводимости и температур, логарифмы таких произведений Ygi=ln{g[(1/Ti)*Ti]} и Xgi=1000/Ti – значения, обратные температурам. Совокупность рассчитанных значений Ygi аппроксимируется прямой Ygi=A+B*Xgi,
где А=ln(go), B=W/k, k=1,38Е-23 Дж (8,65Е-5 эВ) – постоянная Больцмана, W=1000*B*k –энергия активации.
Предэкспоненциальный множитель равен:
.
Отсюда концентрация носителей заряда равна:
.
Подвижность носителей определяется соотношением:
Для NaCl: Ze=1 - валентность ионов
δ= - длина свободного пробега носителя заряда
ν= - частота колебаний
Характеристики
Тип файла документ
Документы такого типа открываются такими программами, как Microsoft Office Word на компьютерах Windows, Apple Pages на компьютерах Mac, Open Office - бесплатная альтернатива на различных платформах, в том числе Linux. Наиболее простым и современным решением будут Google документы, так как открываются онлайн без скачивания прямо в браузере на любой платформе. Существуют российские качественные аналоги, например от Яндекса.
Будьте внимательны на мобильных устройствах, так как там используются упрощённый функционал даже в официальном приложении от Microsoft, поэтому для просмотра скачивайте PDF-версию. А если нужно редактировать файл, то используйте оригинальный файл.
Файлы такого типа обычно разбиты на страницы, а текст может быть форматированным (жирный, курсив, выбор шрифта, таблицы и т.п.), а также в него можно добавлять изображения. Формат идеально подходит для рефератов, докладов и РПЗ курсовых проектов, которые необходимо распечатать. Кстати перед печатью также сохраняйте файл в PDF, так как принтер может начудить со шрифтами.
















