Лаба_4(3)_отчет (987597)
Текст из файла
Московский Энергетический Институт
(Технический Университет)
Лабораторная работа № 4
Автогенераторы
Выполнил студент
группы А-15-:
.
Проверил преподаватель:
Поляхов М.Ю.
-
Собрать схему простейшего мультивибратора. Исследовать зависимость выходной частоты мультивибратора от постоянной времени f = F(τ), где τ = RС.
| f, Гц | τ, с | R, Ом | С, Ф | Т, с |
| - | 0,000047 | 470 | 100 п | - |
| 500,00 | 0,00047 | 470 | 1 мк | 0,002 |
| 116,28 | 0,00235 | 470 | 5 мк | 0,0086 |
| 50,00 | 0,0047 | 470 | 10 мк | 0,02 |
| - | 0,005 | 100 | 50 мк | - |
| - | 0,01 | 200 | 50 мк | - |
| - | 0,02 | 200 | 100 мк | - |
| 11,11 | 0,0235 | 470 | 50 мк | 0,09 |
| 8,33 | 0,0375 | 750 | 50 мк | 0,12 |
| 6,67 | 0,05 | 1000 | 50 мк | 0,15 |
-
Низкочастотный генератор прямоугольных импульсов. Исследовать зависимость выходной частоты мультивибратора от постоянной времени (f = F(τ), где τ = RС).
| f, Гц | τ, с | R, Ом | С, Ф | Т, с |
| 250000,00 | 0,00011 | 2200 | 0,00000005 | 0,000004 |
| 142857,14 | 0,00022 | 2200 | 0,0000001 | 0,000007 |
| - | 0,0022 | 2200 | 0,000001 | - |
| 15625,00 | 0,011 | 2200 | 0,000005 | 0,000064 |
| 2500,00 | 0,022 | 2200 | 0,00001 | 0,0004 |
| 285,71 | 0,22 | 2200 | 0,0001 | 0,0035 |
| 100,00 | 1 | 10000 | 0,0001 | 0,01 |
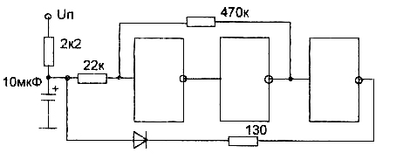
Исследовать зависимость частоты мультивибратора от отношения номиналов резисторов, обозначенных на схеме как 470к (R2) и 22к (R1).
| f, Гц | τ, с | R, Ом | С, Ф | Т, с | R1, Ом | R2, Ом | R2/R1 |
| - | 0,022 | 2200 | 0,00001 | - | 22000 | 47000 | 2,14 |
| 333,33 | 0,022 | 2200 | 0,00001 | 0,003 | 22000 | 82000 | 3,73 |
| 526,32 | 0,022 | 2200 | 0,00001 | 0,0019 | 100000 | 470000 | 4,70 |
| 684,93 | 0,022 | 2200 | 0,00001 | 0,00146 | 82000 | 470000 | 5,73 |
| 1515,15 | 0,022 | 2200 | 0,00001 | 0,00066 | 47000 | 470000 | 10 |
| 12500 | 0,022 | 2200 | 0,00001 | 0,00008 | 22000 | 220000 | 10 |
| 4255,32 | 0,022 | 2200 | 0,00001 | 0,00024 | 22000 | 470000 | 21,36 |
| - | 0,022 | 2200 | 0,00001 | - | 100 | 470000 | 4700 |
-
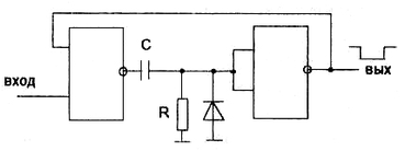
Ждущий мультивибратор (одновибратор) на элементах 2И-НЕ. Снять и построить зависимость длительности выходного импульса Т от постоянной времени τ, где τ = RС.
| f, Гц | τ, с | R, Ом | С, Ф | Т, с |
| 16666,67 | 0,000047 | 470 | 0,0000001 | 0,00006 |
| 11904,76 | 0,00001 | 100 | 0,0000001 | 0,000084 |
| 11904,76 | 2,35E-05 | 470 | 0,00000005 | 0,000084 |
| 11904,76 | 0,002209 | 470 | 0,0000047 | 0,000084 |
| - | 0,00047 | 4700 | 0,0000001 | - |
4
Характеристики
Тип файла документ
Документы такого типа открываются такими программами, как Microsoft Office Word на компьютерах Windows, Apple Pages на компьютерах Mac, Open Office - бесплатная альтернатива на различных платформах, в том числе Linux. Наиболее простым и современным решением будут Google документы, так как открываются онлайн без скачивания прямо в браузере на любой платформе. Существуют российские качественные аналоги, например от Яндекса.
Будьте внимательны на мобильных устройствах, так как там используются упрощённый функционал даже в официальном приложении от Microsoft, поэтому для просмотра скачивайте PDF-версию. А если нужно редактировать файл, то используйте оригинальный файл.
Файлы такого типа обычно разбиты на страницы, а текст может быть форматированным (жирный, курсив, выбор шрифта, таблицы и т.п.), а также в него можно добавлять изображения. Формат идеально подходит для рефератов, докладов и РПЗ курсовых проектов, которые необходимо распечатать. Кстати перед печатью также сохраняйте файл в PDF, так как принтер может начудить со шрифтами.














