Записка (986900)
Текст из файла
СОДЕРЖАНИЕ
-
Задание………………………………………………………………………………..1
-
Станок токарный патронно-центровой с числовым программным управлением модели 16К20Ф3С32…………………………………………………………………3
-
Назначение и конструктивные особенности…………………………………….. 3
-
Описание кинематической схемы………………………………………….............3
-
Техническая характеристика токарного станка с ЧПУ модели 16К20Ф3С32…………………………………………………………………………5
-
Выбор метода получения заготовки……………………………………………….6
-
Выбор способов механообработки………………………………………………….6
-
Выбор режущего инструмента……………………………………………………...7
-
Расчет режимов резания и разработка технологических наладок…………….8
-
Выбор конструкции промышленного робота и расчет схвата руки ПР…….13
-
Анализ исходных данных для выбора модели промышленного робота…….....13
-
Промышленный робот типа «Универсал-5»……………………………………..13
-
7.3 Выбор типа захватного устройства и расчет схвата руки промышленного робота………………………………………………………………………………………16
8 Вид транспортно-накопительной системы……………………………………...19
8.1 Магазин-накопитель с зигзагообразным лотком……………………………19
8.2 Расчет параметров накопителя………………………………………………21
9 Список литературы……………………………………………………………………24
2. Станок токарный патронно-центровой с числовым программным управлением модели 16К20Ф3С32.
2.1. Назначение и конструктивные особенности.
Станок предназначен для обработки деталей из штучных заготовок с зажимом в механизированном патроне и поджимом при необходимости центром, установленном в пиноли задней бабки с механизированным перемещением пиноли. Обработка может выполнятся в один или несколько проходов в замкнутом полуавтоматическом цикле наружных и внутренних поверхностей деталей типа тел вращения со ступенчатым и криволинейным профилями различной сложности, включая нарезание крепежных резьб.
Класс точности П, шероховатость обработанной поверхности до Ra 1,25 мкм.
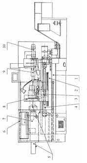
Рис.1 Общий вид токарного станка с ЧПУ модели 16К20Ф3С32.
Основные узлы токарного станка с ЧПУ модели 16К20Ф3С32 изображены на Рис. 1: 1 - основание; 2 - станина; 3 - суппортная группа (продольный и поперечный суппорты); 4 - передача винт-гайка качения (ВГК) продольного перемещения; 5 - патрон механизированный с электромеханическим приводом; 6 - ограждение подвижное; 7 - бабка шпиндельная; 8 - головка револьверная шести позиционная автоматическая; 9 - бабка задняя; 10 - электромеханический привод пиноли задней бабки.
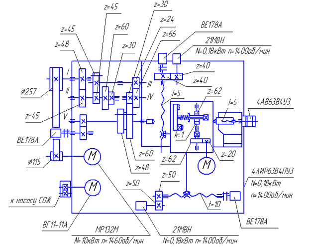
2.2. Описание кинематической схемы.
Главное движение – вращение шпинделя осуществляется от частотно-регулируемого асинхронного электродвигателя М1 с диапазоном регулирования постоянной мощности (N= 10квт) и частот вращения (1500 - 4500 об/мин).
Передача вращения от электродвигателя на первый вал шпиндельной бабки осуществляется через клиноременную передачу со шкивами
D =115мм –D=257мм, АКС вал ІІІ и вторую клиноременную передачу со шкивами D=200мм –D=280мм . На станке установлена шпиндельная бабка, имеющая три диапазона регулирования скоростей вращения с соотношениями :
1,25:1, 1:2, 1:5,8, переключаемых с помощью электромагнитных муфт работающих по программе обработки от СУ.
Рис.2 Кинематическая схема станка 16К20Ф3С32.
Продольная подача каретки осуществляется от асинхронного электродвигателя с частотным регулированием и редуктором (передаточное отношение 1:1). Привод продольного перемещения включает шарико-винтовую передачу винт-гайка качения (ВГК), опоры винта, а также датчик обратной связи, встроенный в асинхронный электродвигатель.
Поперечная подача суппорта осуществляется от асинхронного электродвигателя с частотным регулированием и редуктором (передаточное отношение 1:1). Привод поперечного перемещения включает шарико-винтовую передачу винт-гайка качения (ВГК), опоры винта, а также датчик обратной связи, встроенный в асинхронный электродвигатель.
2.3. Техническая характеристика токарного станка с ЧПУ модели 16К20Ф3С32.
| Наибольший диаметр обрабатываемого изделия над суппортом, мм | 200 |
| Наибольшая длина установленного в центрах изделия, мм | 1000 |
| Наибольшая длина обработки, мм | 905 |
| Диаметр отверстия в шпинделе, мм | 53 |
| Частота вращения шпинделя (бесступенчатое регулирование), мин-1 | 20-2240 |
| Пределы частот вращения шпинделя, устанавливаемые вручную, мин-1 | |
| 1 диапазон | 20-235 |
| 2 диапазон | 63-900 |
| 3 диапазон | 160-2240 |
| Скорость быстрых ходов, мм/мин (продольное) | 7500 |
| Перемещение суппорта на 1 импульс, мм | |
| Продольного | 0,01 |
| Поперечного | 0,005 |
| Пределы шагов нарезаемых резьб, мм | 0,01-40,95 |
| Количество позиций в инструментальной головке | 6 |
3. Выбор метода получения заготовки.
В качестве метода
получения заготовки выбираем штамповку на горизонтально-ковочной машине. Данный метод предназначен для получения заготовок массой до 30кг предпочтительно формы тела вращения, полых, со сквозными или глухими отверстиями, фланцами и выступами.
Припуски и допуски на штампованные заготовки регламентированы ГОСТ 7505-83. Используя методические указания [7], с учетом массы и размеров заготовки принимаем:
- величина припуска на сторону 2,3 мм;
- штамповочные уклоны наружные 5˚, внутренние 7˚;
- радиусы скруглений наружные 2,5 мм, внутренние 7,5 мм.
Эскизы заготовки с обработанной и необработанной наружной поверхностью представлены соответственно на листах 1 и 2.
Массу заготовки рассчитаем по формуле:
m=ρ·V=7850·0,33·10-3=2,6 кг,
где ρ=7850 кг/м3 плотность стали40, V=0,33·10-3 м3 объем заготовки, рассчитанный как сумма элементарных объемов.
4. Выбор способов механообработки.
Способы обработки выбираем, ориентируясь на заданные показатели качества детали. По заданию, для внутренних поверхностей обрабатываемой детали должны быть получены следующие характеристики: шероховатость Ra=2,5мкм и Ra=6,3мкм, точность соответствующую 10 и 12 квалитету.
Чтобы определить необходимые виды механообработки, воспользуемся таблицей №5 со страницы 11 справочника [1].
Точность и качество поверхности при обработке отверстий:
Растачивание черновое Ra=25-1,6мкм Квалитет размера допуска 13-11
Растачивание чистовое Ra=6,3-0,4мкм Квалитет размера допуска 10-8
Следовательно, для гарантированного достижения нужных характеристик, нужно выполнить черновое и чистовое растачивание (чистовое растачивание только для поверхностей с заданной шероховатостью 2,5мкм).
5. Выбор режущего инструмента.
Материал заготовки – Сталь 40. При обработке деталей из сталей рекомендуется использовать твердый сплав титановольфрамовой группы.
Для чернового растачивания выбираем сплав марки Т14К8, который обеспечивает хорошую точность обработки и обладает достаточной твердостью, подходит для чернового точения без резко выраженной ударной нагрузки.
Для чистового растачивания выбираем сплав марки Т15К6. Этот сплав отлично подходит для чистовой обработки любых поверхностей, за исключением тонкой обточки и расточки. Для чернового точения в нашем случае его применять нецелесообразно из-за его недостаточной прочности.
Для чернового растачивания отверстия используем расточной резец с механическим креплением треугольной пластины (крепление пластины винтом по конической фаске). Главный угол в плане 92˚, минимальный диаметр растачиваемого отверстия Dmin=25мм (см. Рисунок 3).
Рис.3 Резец расточной для черновой обработки отверстия.
Для чистового растачивания отверстия используем расточной резец с механическим креплением ромбической пластины с углом при вершине 55˚ (крепление пластины винтом по конической фаске). Главный угол в плане φ=107,5˚, минимальный диаметр растачиваемого отверстия Dmin=25мм, диаметр державки резца d=20мм, длина державки l=200мм, f=13мм (см. Рисунок 4).
Рис.4 Резец расточной для чистовой обработки отверстия.
6. Расчет режимов резания и разработка технологических наладок.
Деталь обрабатывается на станке с двух сторон, обозначения обрабатываемых поверхностей показаны на рисунке 5.
Рис.5 Поверхности для механообработки.
Последовательность обработки следующая: черновое точение поверхностей I, II; чистовое точение поверхности I; переворот детали; черновое и чистовое точение поверхности III, черновое точение поверхности VI. Расчет режимов обработки для каждой операции приведен ниже.
6.1. Черновое растачивание поверхности I.
-
Глубина резания t=2мм, количество проходов i=6.
-
Длина рабочего хода суппорта:
Lpx=Lрез+y=30·6+4=184 мм,
где Lрез=180мм-длина резания;
y=yврез+ yподв+ yп=1+3=4мм-см. Приложение 3, стр.300 справочника [4].
-
Подача суппорта на оборот шпинделя:
S0=0,25мм/об- см. карту Т2, стр.23 справочника [4],
рекомендуемую по справочнику подачу уменьшаем из-за неравномерности припуска на обработку и с целью получения малой шероховатости.
-
Стойкость резца:
Тp=Тм·λ,
где Тм =50мин-для одноинструментальной обработки;
λ = Lрез/ Lpx=0,97>0,7→принимаем Тp≈ Тм=50 мин.
-
Скорость резания:
V=Vтабл·К1·К2·К3= 130·0,9·1,25·1=146 м/мин,
где Vтабл=130м/мин, подбирается по карте Т4 стр.29 справочника [4], исходя из глубины резания, величины подачи, параметров резца и обрабатываемого материала;
Характеристики
Тип файла документ
Документы такого типа открываются такими программами, как Microsoft Office Word на компьютерах Windows, Apple Pages на компьютерах Mac, Open Office - бесплатная альтернатива на различных платформах, в том числе Linux. Наиболее простым и современным решением будут Google документы, так как открываются онлайн без скачивания прямо в браузере на любой платформе. Существуют российские качественные аналоги, например от Яндекса.
Будьте внимательны на мобильных устройствах, так как там используются упрощённый функционал даже в официальном приложении от Microsoft, поэтому для просмотра скачивайте PDF-версию. А если нужно редактировать файл, то используйте оригинальный файл.
Файлы такого типа обычно разбиты на страницы, а текст может быть форматированным (жирный, курсив, выбор шрифта, таблицы и т.п.), а также в него можно добавлять изображения. Формат идеально подходит для рефератов, докладов и РПЗ курсовых проектов, которые необходимо распечатать. Кстати перед печатью также сохраняйте файл в PDF, так как принтер может начудить со шрифтами.
















