Часть 1 2010 (970870), страница 4
Текст из файла (страница 4)
В производственной практике, технической документации, справочной и технической литературе применяются ряд терминов, понятий и определений, знание которых необходимо для работников завода, непосредственно связанных изготовлением оптических приборов. Часть этих понятий и определений установлены Государственными стандартами (ГОСТ) и являются обязательными для всех промышленных предприятий страны, а некоторые характерны для предприятий оптического производства.
-
Понятие об изделии
Изделием называется любой предмет или набор предметов, подлежащих изготовлению на предприятии. В зависимости от их назначения различают изделия основного производства и изделия вспомогательного производства.
Изделия основного производства предназначены для поставки (реализации) потребителю, например: кино- и фотоаппаратура, лабораторные и медицинские оптические приборы, приборы для научных исследований и т.п.
Изделия вспомогательного производства предназначается только для собственных нужд предприятия, например: штампы, пресс-формы, режущий и мерительный инструмент, специальные станки, контрольно-юстировочные приборы, изготавливаемые заводом “для себя”, для использования в цехах завода-изготовителя.
Изделия, предназначенные для поставки, но используемые на заводе для собственных нужд (например, автоколлиматоры или микроскопы, изготовленные для реализации, но переданные в измерительную лабораторию завода) относятся к изделиям основного производства.
Согласно ГОСТ-101-68 устанавливаются следующие виды изделий: детали, сборочные единицы, комплексы и комплекты. В зависимости от наличия или отсутствия составных частей изделия делятся на неспецифицированные (детали), не имеющие составных частей, и специфицированные (сборочные единицы, комплексы, комплекты) – состоящие из двух или более составных частей.
Деталь – это изделие, изготовленное из однородного по наименованию и марке материала, без применения сборочных операций, например, валик из одного куска металла, литой корпус, пластина из биметаллического листа и др.
Сборочная единица – изделие, составные части которого подлежат соединению между собой на предприятии-изготовителе сборочными операциями (свинчиванием, клепкой, пайкой, сваркой развальцовкой, склеиванием и т.п.). Например, объектив фотоаппарата и т.д.
2.2 Виды конструкторских документов
К конструкторским документам согласно ГОСТ 2.102-68 относятся графические (чертеж детали, сборочный чертеж, чертеж общего вида, монтажный чертеж и др.) и текстовые документы (пояснительная записка, технические условия, патентный формуляр и др.), которые в отдельности или совокупности определяют состав или устройство прибора и содержат необходимые данные для его разработки или изготовления, контроля, приемки, эксплуатации и ремонта.
Чертеж детали – документ, содержащий изображение детали и другие данные, необходимые для изготовления и контроля.
Сборочный чертеж – документ, содержащий изображение сборочной единицы и др. данные, необходимые для ее сборки (изготовления) и контроля. К сборочным чертежам относят также гидромонтажные, пневмомонтажные чертежи.
Чертеж общего вида – документ, определяющий конструкцию изделия, взаимодействие его основных составных частей и поясняющий принцип работы изделия.
Технические условия – документ, содержащий требования (совокупность всех показателей, норм, правил и положений) к изделию, его изготовлению, контролю, приемке, поставке, которые нецелесообразно указывать в других конструкторских документах.
2.3 Производственный и технологический процессы в приборостроении. Структура технологического процесса
На завод поступают исходные материалы, полуфабрикаты3 и комплектующие изделия4, которые трудом рабочих и служащих цехов и отделов завода превращаются в изделия основного или вспомогательного производства. Совокупность действий, в результате которых поступившие на завод материалы и полуфабрикаты превращаются в изделия называется производственным процессом. Производственный процесс включает в себя изготовление деталей, получение заготовок, сборку, юстировку, хранение и транспортировку деталей и материалов, изготовление инструмента, ремонт оборудования и т.п.
Технологическим процессом (ГОСТ 3.1109-73) называется “часть производственного процесса, содержащая действия по изменению и последующему определению состояния предмета производства”, т.е. все действия, непосредственно связанные с изменением формы, размеров или состояния предметов производства. Например, получение заготовок, обработка и контроль деталей, нанесение покрытий, сборка и юстировка узлов или проборов и т.п.
Средства выполнения технологического процесса
Средствами выполнения технологического процесса являются технологическое оборудование, технологическая оснастка, наладка и подналадка.
Технологическое оборудование – орудия производства, в которых для выполнения определенной части технологического процесса размещаются материалы или заготовки, средства воздействия на них и при необходимости источники энергии, например, станки, печи, разметочные плиты, испытательные стенды и т.д.
Технологическая оснастка – орудия производства, добавляемые к технологическому оборудованию, для выполнения определенной части технологического процесса, например режущий и измерительный инструмент, штампы, формы, модели и т.д.
Наладка – подготовка технологического оборудования и оснастки к выполнению определенной технологической операции. К наладке относятся установка приспособления, переключение скорости и подачи и т.д.
Подналадка – дополнительная регулировка технологического оборудования (или оснастки) в процессе работы для восстановления достигнутых при наладке значений параметров.
Для выполнения технологического процесса должно быть организовано и должным образом оборудовано рабочее место. Рабочее место обычно представляет собой часть объема цеха, предназначенного для выполнения работы одним рабочим или группой рабочих, в которой размещено технологическое оборудование, инструмент, приспособления, подъемно-транспортное оборудование и т.д.
Структура технологического процесса
Технологический процесс по физическим, организационным или экономическим причинам разделяется на операции, которые, в свою очередь, складываются из установов, переходов, ходов и позиций.
Технологической операцией (или просто операцией) называется законченная часть технологического процесса, выполняемая на одном рабочем месте.
Установ – часть технологической операции, выполняемая при неизменном закреплении обрабатываемых заготовок или собираемой сборочной единицы.
Технологический переход (или просто переход) – законченная часть технологической операции, характеризуемая постоянством применяемого инструмента и поверхностей, образуемых обработкой или соединяемых при сборке.
Вспомогательный переход – законченная часть технологической операции, состоящая из действий рабочего и (или) оборудования, которые не сопровождаются изменением формы, размеров или шероховатости поверхностей обрабатываемой заготовки или сборочной единицы, но необходимы для выполнения технологического перехода, например, установка и закрепление заготовки, смена инструмента и т.д.
Рабочий ход – законченная часть технологического перехода, состоящая из однократного перемещения инструмента относительно заготовки, сопровождаемого изменением формы, размеров, шероховатости поверхности или свойств заготовки.
Вспомогательный ход – законченная часть технологического перехода, состоящая из однократного перемещения инструмента относительно заготовки, не сопровождаемого изменением формы, размеров, шероховатости поверхности или свойств заготовки, но необходимого для выполнения рабочего хода, например, подвод и отвод инструмента.
Позиция – фиксированное положение, занимаемое неизменно обрабатываемой заготовкой или собираемой сборочной единицей совместно с приспособлением относительно инструмента или неподвижной части оборудования для выполнения определенной части операции.
Например, заготовка 1 закреплена в приспособлении 2, обрабатывается на на вертикально-сверлильном станке с поворотным столом 3. При повороте стола заготовка занимает последовательно четыре позиции. В 1 позиции производится установка заготовки в приспособление, во 2 позиции сверление отверстия, в 3 позиции зенкерование отверстия и в 4 позиции развертывание отверстия. Все обработки выполняются одновременно.
Рис. 1. Многофункциональная обработка.
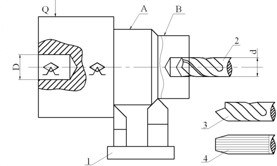
На рис. 2 показана обработка детали на токарно-револьверном станке за одну операцию. Поверхности А и В обрабатываются точением блоком 1 из 2-х резцов, поверхность С обрабатывается последовательно сверлом 2, зенкером 3 и разверткой 4, поверхность D сверлением. Здесь: одна операция, два установа, один показан на рисунке, второй при повороте заготовки чтобы отверстие D встало в рабочую зону, пять переходов (обработка поверхности A и B – один переход). Как видно процессов обработки много, а операция одна.
-
Типы производства
Как любой оптический прибор состоит из отдельных деталей и сборочных единиц, так и технологический процесс изготовления любого оптического прибора складывается из технологических процессов сборки. Структура технологических процессов изготовления деталей и сборки приборов существенно зависит от типа производства.
Тип производства - классификационная категория производства, выделяемая по признакам широты номенклатуры, регулярности, стабильности и объема выпуска изделий.
Одной из основных характеристик типа производства является коэффициент закрепления операций.
Коэффициент закрепления операций - отношение числа всех различных технологических операций, выполняемых или подлежащих выполнению в течение месяца, к числу рабочих мест.
В зависимости от объема выпуска изделий, их сложности и, главным образом, организации работы производственного участка различают три типа производства: массовое, серийное и единичное.
Массовое производство характеризуется тем, что на рабочих местах производственного участка (заготовительного, механического или сборочного цеха) постоянно, в течение длительного времени (3-4 года) выполняются одни и те же операции по обработке (или сборке) одной и той же детали (или сборочной единицы).
При массовом производстве широко применяется специальное оборудование, которое располагается в той последовательности, в какой следуют операции технологического процесса. Это обеспечивает кратчайший путь деталей при их обработке или сборочных единиц при сборке, поэтому массовое производство часто называют поточным методом производства. Очевидно, что такая организация производства возможна только при больших объемах выпуска изделий. Себестоимость продукции низкая.
Коэффициент закрепления для массового производства равен 1.
Серийное производство характерно тем, что за каждым станком или рабочим местом закреплено несколько однородных операций, а на участке обрабатываются (или собираются) несколько различных деталей (или сборочных единиц). В этом случае детали обрабатываются партиями, причем процесс изготовления партии деталей регулярно повторяется через определенные промежутки времени. После обработки партии одних деталей необходима переналадка оборудования для обработки партии других деталей. Поэтому в серийном производстве используются преимущественно универсальные станки со специальными или переналаживаемыми приспособлениями.
В зависимости от числа различных деталей, обрабатываемых на участке и количества деталей в партиях, различают крупносерийное, среднесерийное и мелкосерийное производство. Крупносерийное производство по организации приближается к массовому производству, а мелкосерийное - к единичному.
Коэффициент закрепления операций принимают равным:
-
для мелкосерийного производства - свыше 20 до 40 включительно;
-
для среднесерийного производства – свыше 10 до 20 включительно;
-
для крупносерийного производства – свыше 1 до 10 включительно.
Цикл изготовления продукции более длительный, чем в массовом производстве, а себестоимость выпускаемой продукции выше.















