Обработка отверсти 2010 (970865), страница 4
Текст из файла (страница 4)
Процесс протягивания. Схема протягивания отверстия на горизонтально-протяжном станке показана на рис.89 Гоца рис 8.4 стр 270.
Обрабатываемую заготовку 3 устанавливают в приспособлении 2, закрепленном на столе станка. Протяжку 4 продевают в отверстие и соединяют с тяговым патроном 1 каретки рабочего хода. При включении рабочего хода протяжка перемещается относительно обрабатываемой заготовки и осуществляется процесс резания. После выполнения рабочего хода протяжка возвращается в исходное положение вручную или при помощи каретки протяжного станка. Возвращение протяжки в исходное положение при помощи каретки происходит следующим образом. После снятия заготовки из приспособления протяжка перемещается в обратном направлении со скоростью холостого хода при помощи каретки рабочего хода до тех пор, пока задняя замковая часть не захватится тяговым патроном 5 каретки обратного хода. Цикл обработки повторяется.
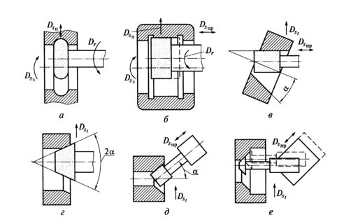
Методы протягивания. В зависимости от положения обрабатываемых поверхностей относительно баовых различают свободное и координатное протягивание и прошивание.
Метод свободного протягивания. (рис. 89) наиболее широко используют при обработке разнообразных по форме отверстий, пазов и т.д.
Точность расположения геометрического пятна протягиваемого контура отверстия относительно базовых поверхностей детали при свободном протягивании определяется точностью расположения геометрического центра отверстия, обработанного под протягивание.
Рис. Схемы свободного (а,б) и координатного (в-ж) протягивания внутренних и наружных поверхностей
1,2 – детали, 3 – заготовка, 4 = протяжка, 5 – неподвижная и подвижная базы.
7 – предварительно обработанная база
,. Координатное протягивание осуществляется принудительным направлением протяжек по подвижным и неподвижным направляющим базам, а также направление протяжек, закрепленных в протяжном блоке на инструментальной каретке, по направляющим вертикально-протяжного станка.
Метод координатного протягивания наряду с получением заданной формы поверхности обеспечивает расположение относительно базовой поверхности с точностью до 0,02 – 0,03 мм
На рис. в-ж представлены различные способы координатного протягивания внутренних и наружных поверхностей с направлением протяжки непосредственно по неподвижным базам 5 приспособления на горизонтально-протяжных (см. рис. в,г) и вертикально-протяжных (см. рис. д), внутренних поверхностей с применением подвижных направляющих баз 6 (передних и задних) (см. рис. е), внутренних поверхностей с направлением й протяжки по предварительно обработанной поверхности заготовки на горизонтально- и вертикально-протяжных станках (см. рис. ж).
10.Внутренне шлифование
Внутреннее шлифование является одним из основных способов обработки отверстий, при котором может быть достигнута точность обработки по Н6 – Н9 квалитетов, шероховатость поверхности
. Оно используется во всех типах производства.
Внутреннее шлифование применят при обработке цилиндрических и конических сквозных и глухих отверстий в деталях, изготовленных из незакаленной и закаленной стали, чугуна, цветных металлов и неметаллических материалов
Чаще всего оно осуществляется при обработке точных отверстий в закаленных деталях или в деталях из высокотвердых и труднообрабатываемых материалов, а также точных отверстий с пересеченной поверхностью, например, с вытачкой, со шпоночными и шлицевыми пазами, нестандартных диаметров (нет таких разверток), отверстий седьмого квалитета и выше.
Особенность внутреннего шлифования и его достоинством является возможность исправления направления оси отверстия при ее уводе на предшествующих операциях, а также обеспечение перпендикулярности торцовой поверхности к оси отверстия при шлифовании отверстия и торца с одной установки.
Однако особенность этого способа обработки создают и ряд ограничений для его использования. К ним относятся:
Зависимость диаметра шлифовального круга от диаметра обрабатываемого отверстия детали;
Недостаточная жесткость шпинделя, несущего шлифовальный круг.
Оборудование и схемы внутреннего шлифования. Современные внутришлифовальные станки позволяют обрабатывать отверстия диаметром от 5 мм, а в некоторых случаях – и от 1 мм. Эти станки подразделяются на патронные, планетарные и бесцентровые.
Внутришлифовальный станок (рис. ) имеет следующие узлы и детали: станина 1, служащая для установки всех узлов станка; стол 5, сообщающий шлифовальному кругу 3 возвратно - поступательное движение; передняя бабка 2 служит для размещения на шпинделе патрона или приспособления для закрепления детали и сообщения заготовке круговой подачи; шлифовальная бабка 4, на шпинделе которой устанавливается шлифовальный круг 3 и сообщает ему вращательное движение; панель управления 6.
Патронные станки получили наибольшее распространение и служат для шлифовании отверстий в деталях средних размеров, которые удобно закреплять в патроне станка. На этих станках можно шлифовать торцы деталей, а при наличии поворотной передней бабки – и конические отверстия.
На патронных станках внутренние поверхности могут обрабатываться с продольной или поперечной подачей. Схема шлифования продольными подачами представлена на рис. , а, а поперечными на рис. ,б. Главное движение скорость резания на этих станках – вращение шлифовального круга -
.
Скорость вращения заготовки -
выбирается в зависимости от обрабатываемого материала и назначения операции и обычно находится в пределах
.
Продольная подача сообщается шлифовальному кругу либо (реже) заготовке. В зависимости от обрабатываемого материала и характера шлифования продольная подача
принимается равной 0,25 – 0,75 В круга на один оборот заготовки.
Поперечная (радиальная) подача
сообщается кругу, иногда заготовке. Для чернового шлифования
, для чистового
.
Планетарные внутришлифовальные станки применяются для шлифования отверстий в деталях, которые трудно закреплять в патроне. Схема планетарного шлифования приведена на рис . Заготовка 1 в процессе обработки остается неподвижной, а шлифовальный круг 2 вращается одновременно вокруг своей оси со скоростью
и вокруг оси отверстия со скоростью круговой подачи
. Продольная
и поперечная
подачи также осуществляются кругом.
Рисунок 12.4. Внутреннее шлифование фасонных (а), цилиндрических (б) и конических (в, г, д, е) поверхностей с поперечной (а, б, г) и продольной (в, д, е) подачами:
α- половина угла конуса
Шлифование отверстий методом врезания с поперечной подачей шлифовального круга D применяют в двух случаях:
Для обработки фасонных поверхностей, когда невозможно осуществит продольное перемещение круга или заготовк4и и профиль шлифовального круга копируется на поверхности отверстия (рис. 12,4,а):
Для обработки отверстий, имеющих прямолинейные образующие, когда возможно осуществить небольшие колебательные (осциллирующие) продольные перемещения круга или заготовки (рис.12,4, б). Осциллирующие движения шлифовальной бабки или стола обеспечивают равномерный износ шлифовального круга по всей его ширине.
Конические отверстия можно шлифовать тремя способами:
Поворотом пере дней шлифовальной бабки на необходимый угол и с продольной подачей шлифовального круга (рис.12,4,в),
Шлифовальным кругом конической формы методом врезания (рис.12,4,г),
Повуоротом суппорта шлифовальной бабки на необходимый угол с продольной подачей суппорта (рис.12,4,д,е).
Бесцентровые внутришлифовальные станки используются для обработки цилиндрических и конческих отверстий после шлифования наружных поверхностей деталей, при обеспечивается высокая концентричность наружной и внутренней поверхностей.
Схема внутреннего бесцентрового шлифования показана на рис. 93 а, б, в. Заготовку 1 устанавливают между опорным роликом 2, ведущим кругом 3 и прижимным роликом 4. Шлифовальный круг 5 и ведущий 3 вращаются в разные стороны. Если диаметр детали меньше 30 мм, то опорный ролик заменяют опорным ножом. Шлифовальный круг осуществляет движение врезания
и поперечную подачу
в конце каждого хода детали. А деталь – круговую подачу с окружной скоростью ведущего круга и продольную подачу вместе с ведущим кругом и роликами.
Общие замечания. Вследствие малых размеров шлифовальных кругов при внутреннем шлифовании стойкость их меньше, чем при других видах шлифования. Для внутреннего шлифования нужно выбирать более мягкие круги, чем в аналогичных условиях для наружного шлифования, так как при значительной длине дуги контакта круга с обрабатываемой поверхностью возможен более сильный нагрев обрабатываемой заготовки.
11.Хонингование
Предварительно развернутое или расточенное отверстие обрабатывают специальной вращающейся и возвратно-поступательно перемещающейся головкой с шестью (иногда и более) раздвижными брусками. Головку называют – хон, а процесс обработки – хонингование. Схема конструкции хона с механическим раздвижением брусков показана на рис. 94
Рисунок 12.10. Хон (а) и схема штрихов на обрабатываемой поверхности (б):
1 – хвостовик; 2 – корпус; 3 – разжимной шток; 4 – абразивный брусок; φ – угол скрещивания штрихов обработки
. Бруски 1, установленные в корпусе 2, имеющем шесть радиальных пазов, стягиваются к оси вращения головки кольцевыми пружинами 2. Для осуществления обработки головку вводят в отверстие неподвижной детали 3, к тяге 4 прикладывают усилие и бруски через корпуса 5 и вкладыши 6 вводят в соприкосновение с обрабатываемой поверхностью. Раздвижение брусков производится механическим или гидравлическим устройством. Головка вращается со скоростью
скорость возвратно-поступательного движения головки
. Припуск на обработку
0,05 – 0,1 мм может быть снят за 1 – 2 мин. В результате хонингования получается поверхность
шероховатости поверхности и Н5 – Н6 квалитетов при точности формы 0,01 – 0,02 мм для отверстий 100 – 120 мм. Основным преимуществом хонингования является исправление погрешностей формы (овальности, конусности и т.п.)
Станки для хонингования 3820, 3821 и др. изготавливают одно- и многошпиндельными. Хонингования имеет по сравнению с внутренним шлифованием следующие преимущества: возможна обработка отверстий сложных заготовок, легче достигается правильная цилиндрическая поверхность отверстия (исправляется овальность, конусность и т.п.), так как отсутствует отжим инструмента; не вибраций.
Однако хонингованием нельзя устранить отклонения формы и положения и направления оси отверстия.
КОНЕЦ ГЛАВЫ.















