15 (970734)
Текст из файла
15. Получение отливок методами литья под давлением. Сущность, схема, возможности способа, области применения.
Сущность заключается в изготовлении отливок в металлических формах (пресс-формах) заполнением расплавом под действием внешних сил, превосходящих силы гравитации. Затвердевание отливки протекает под избыточным давлением. После охлаждения отливку извлекают из пресс-формы.
Значительное давление на расплав (100 МПа и >) обеспечивает выс. скорость движения потока расплава в пресс-форме, что ведет к образованию газовоздушной пористости и снижению плотности и герметичности отливок и пластических свойств. Выс. кин. энергия движущегося расплава и статич. давление способствуют получению пов-стного слоя отливки с весьма малой шероховатостью. Давление позволяет регулировать продолжительность заполнения и изменять количество теплоты, отводимой от расплава за время её заполнения.
Недостатки: выс. стоимость пресс-форм и оборудования; ограниченность габаритных размеров и массы отливок; наличие воздушной пористости в массивных частях отливок, снижающей прочность деталей.
Используют: в массовом и крупносерийном производстве отливок с min толщиной стенок 0,8 мм, с выс. точностью размеров и малой шерох-стью пов-сти за счет точной обработки и тщательного полирования рабоч. полости пресс-формы; без мех. обработки или с min припусками, что резко сокращает объем мех. обработки отливок; с выс. производительностью процесса.
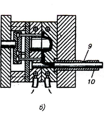
Три этапа: а) заливка металла в пресс-форму; б) запрессовка металла в пресс-форму; в) закрытие и извлечение отливки.
2 – неподвижная половина пресс-формы
3 – подвижная половина пресс-формы
4 – металлический стержень
5 – подвижная плита машины
6 – плита выталкивателей
7 – выталкиватель
8 – камера прессования
9 – окно для заливки металла
10 – прессовый поршень
11 – упор
12 – отливка
Характеристики
Тип файла документ
Документы такого типа открываются такими программами, как Microsoft Office Word на компьютерах Windows, Apple Pages на компьютерах Mac, Open Office - бесплатная альтернатива на различных платформах, в том числе Linux. Наиболее простым и современным решением будут Google документы, так как открываются онлайн без скачивания прямо в браузере на любой платформе. Существуют российские качественные аналоги, например от Яндекса.
Будьте внимательны на мобильных устройствах, так как там используются упрощённый функционал даже в официальном приложении от Microsoft, поэтому для просмотра скачивайте PDF-версию. А если нужно редактировать файл, то используйте оригинальный файл.
Файлы такого типа обычно разбиты на страницы, а текст может быть форматированным (жирный, курсив, выбор шрифта, таблицы и т.п.), а также в него можно добавлять изображения. Формат идеально подходит для рефератов, докладов и РПЗ курсовых проектов, которые необходимо распечатать. Кстати перед печатью также сохраняйте файл в PDF, так как принтер может начудить со шрифтами.















