Глава 10 Проектирование синхронных машин (967523), страница 10
Текст из файла (страница 10)
Рис. 10.25. Зависимость коэффициентов
и
от
Как известно, поперечная реакция якоря вызывает ослабление поля под одним краем полюса и усиление его под другим. В ненасыщенной машине результирующий поток полюса при этом не изменяется. При насыщении магнитной цепи увеличение потока под одним из краев полюса происходит в меньшей мере, чем ослабление под другим, и результирующий поток (его первая гармоника) уменьшается. Для компенсации размагничивающего действия поперечной реакции якоря необходимо увеличивать МДС обмотки возбуждения на
.
При равномерном воздушном зазоре
можно определить по формуле
а при зазоре, изменяющемся по (10.92), — по формуле
На рис. 10.25 даны зависимости
и
от отношения
.
Количественный учет реакции якоря при определении МДС обмотки возбуждения производится с помощью векторных диаграмм (см. § 10.14) [6].
10.13. ПАРАМЕТРЫ ОБМОТКИ СТАТОРА
ДЛЯ УСТАНОВИВШЕГОСЯ РЕЖИМА РАБОТЫ
При построении векторных диаграмм, а в дальнейшем и при расчете характеристик синхронных машин необходимо знать параметры обмотки статора.
Активное сопротивление обмотки статора, Ом,
где
— удельное сопротивление проводника обмотки;
— сечение эффективного проводника, м2;
— средняя длина витка обмотки статора;
— число параллельных ветвей.
Длину лобовой части
определяют при жестких секциях по (9.139), а для всыпных обмоток — по (9.136).
Активное сопротивление фазы в относительных единицах
Индуктивное сопротивление рассеяния фазы статора
обусловлено полями рассеяния пазовой и лобовой частей обмотки, а также высшими гармониками поля в воздушном зазоре (дифференциальное рассеяние) и определяется по следующей формуле:
где
— коэффициенты удельной (на единицу длины) проводимости пазового, лобового и дифференциального рассеяния.
Коэффициент удельной проводимости паза
состоит из двух составляющих: пропорциональной проводимости между стенками паза
и проводимости по коронкам зубцов
:
где
в зависимости от конфигурации паза определяют по табл. 9.26;
где
— зубцовое деление статора;
— ширина шлица паза (при открытых пазах
);
— коэффициент полюсного перекрытия (из § 10.9);
— по (9.156);
— по рис. 10.26 в зависимости от отношения
.
Рис. 10.26. Зависимость
от отношения
При больших отношениях
проводимость
становится отрицательной, что приводит к уменьшению
. Это уменьшение связано с искривлением силовых линий поля рассеяния вблизи воздушного зазора по сравнению с прямолинейным законом их распределения, как это было принято при выводе формулы для
.
Коэффициент проводимости лобового рассеяния определяют по (9.159).
Коэффициент проводимости дифференциального рассеяния приближенно определяют по формуле
Индуктивное сопротивление рассеяния в относительных единицах
Ненасыщенное значение индуктивного сопротивления продольной реакции якоря в относительных единицах
где
— МДС статора при номинальном токе по (10.90);
— магнитное напряжение воздушного зазора при
;
— по рис. 10.24;
—коэффициент, учитывающий влияние магнитных напряжений стали и зазора между полюсом и ярмом для ненасыщенной машины; он может быть найден из расчета магнитной цепи для точки, соответствующей
.
Ненасыщенное значение индуктивного сопротивления поперечной реакции якоря в относительных единицах
Коэффициент
определяют по рис. 10.23;
— коэффициент воздушного зазора — по (10.66).
Синхронное индуктивное сопротивление по продольной оси
Синхронное индуктивное сопротивление по поперечной оси
10-14. ОПРЕДЕЛЕНИЕ МДС ОБМОТКИ ВОЗБУЖДЕНИЯ
ПРИ НАГРУЗКЕ. ВЕКТОРНЫЕ ДИАГРАММЫ
Для определения МДС обмотки возбуждения при нагрузке используют векторные диаграммы (рис. 10-27).
Для их построения целесообразно использовать относительные значения параметров тока, напряжения, ЭДС и МДС.
Для более точного определения потока рассеяния полюсов при нагрузке необходимо иметь частичные характеристики намагничивания:
Рис. 10.27. векторные диаграммы:
а — для генератора; б — для двигателя
Здесь принято
,
,
;
— базовое значение потока, равное потоку при номинальном фазном напряжении;
—базовое значение МДС, равное МДС обмотки возбуждения при холостом ходе и номинальном фазном напряжении. На рис. 10.28 все характеристики имеют одинаковые масштабы по соответствующим осям координат.
Рис. 10.28. Частичные характеристики намагничивания
Для оценки насыщения машины удобно построить зависимость
(рис. 10.29). Указанные графики строятся по данным расчета магнитной цепи машины.
Рис. 10.29. Зависимость
от отношения
Диаграмма при заданных номинальных значениях тока
, напряжения
и угла между ними строится следующим образом.
1. В выбранном масштабе для тока и напряжения откладывают вектор номинального фазного тока и под углом
к нему— вектор фазного напряжения.
2. К вектору напряжения пристраивают векторы падения напряжения
,
, для генератора и
,
, для двигателя, в результате чего находят ЭДС
, которая индуктируется в обмотке якоря при нагрузке. При
векторы падения напряжения численно равны
и
. В крупных машинах падение напряжения в активном сопротивлении
относительно мало и им можно пренебречь.
3. По
из зависимости
определяют отношение
, по которому из рис. 10.25 находят коэффициенты
и
.
4. Определяют значение результирующей ЭДС по продольной оси
и угол
. Для этой цели находят МДС (в относительных единицах):
где
Отложив
по оси абсцисс характеристики
, на оси ординат получают ЭДС, равную
(см. рис. 10.28). Добавляя эту ЭДС к вектору
(или
), получают точку Д (см. рис. 10.27), через которую пройдет линия, совпадающая с направлением ЭДС
(или
). Угол между током
и этой линией является углом
.
5. Опустив перпендикуляр из конца вектора
(или
) на линию 0Д, находят ЭДС
, наводимую в обмотке якоря результирующим потоком по продольной оси
. Из характеристики
по
определяют МДС
(см. рис. 10.28).
6. Определяют МДС продольной реакции якоря:
7. По сумме
по характеристике
определяют поток рассеяния полюса
.
8. По потоку полюса
из характеристики
определяют сумму магнитных напряжений ротора
.
9. Находят МДС обмотки возбуждения при нагрузке в относительных единицах
и в физических единицах (амперах)
Из характеристики холостого хода
по
определяют ЭДС
, наводимую в обмотке статора при холостом ходе, а затем находят изменение напряжения на выводах машины (для генератора):
10.15. РАСЧЕТ ОБМОТКИ ВОЗБУЖДЕНИЯ
Обмотка возбуждения синхронных машин подключается к источнику постоянного тока. До недавнего времени для питания обмоток возбуждения применялись специальные генераторы постоянного тока — возбудители.
В настоящее время для возбуждения синхронных машин применяют статические устройства. Серии синхронных машин общего назначения 13—21-го габаритов (СД2, СГ2, СДН2 и т. д.) оснащены комплектными тиристорными возбудительными устройствами (ТВУ). Особенностью ТВУ является бесконтактное и быстродействующее управление током возбуждения во всех эксплуатационных режимах и наличие автоматического регулирования возбуждения. Это повышает надежность и улучшает использование машин. Кроме того, КПД тиристорных возбудительных устройств выше, чем генераторов постоянного тока.
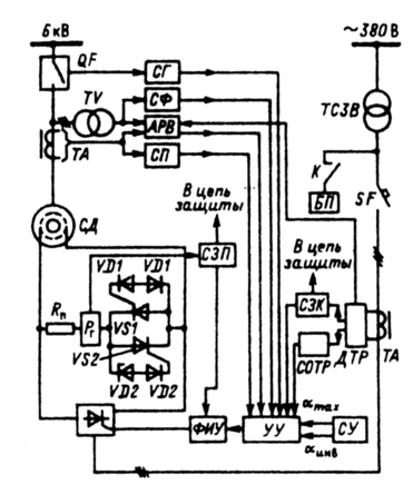
На рис. 10.30 приведена структурная схема одного из применяемых в настоящее время ТВУ. В ТВУ питание обмотки возбуждения происходит через тиристорный преобразователь или от сети переменного тока с напряжением 380 В через согласующий трансформатор ТСЗВ, или от дополнительной трехфазной обмотки, расположенной на статоре. Преобразователи осуществляют выпрямление переменного тока в постоянный и имеют трехфазную схему со средним выводом при выпрямленном напряжении до 100 В или трехфазную мостовую при напряжении выше 100 В. Параллельно обмотке возбуждения синхронного двигателя через тиристорный ключ подключен пусковой резистор.
Управление тиристорным преобразователем осуществляется фазоимпульсным устройством (ФИУ).
Рис. 10.30. Структурная схема тиристорного возбудителя
синхронного двигателя (питание от сети 380 В):
СГ — схема гашения поля; СФ — схема форсировки возбуждения;
















