ГЛАВА 4 Магнитная цепь (967512), страница 2
Текст из файла (страница 2)
Если одна поверхность зазора гладкая, а другая зубчатая, то kδ достаточно точно определяется по формуле
kδ = tz / (tz - γδ), (4.15)
где
либо по формуле
Обозначения величин, входящих в формулы, ясны из рис. 4.4.
Формула (4.15) получила наибольшее распространение. Формула (4.16) используется, в основном, при открытых пазах.
Коэффициенты воздушного зазора рассчитывают отдельно для статора и для ротора. В первом случае предполагается, что поверхность статора зубчатая, а ротора — гладкая, во втором — наоборот: поверхность ротора зубчатая, а статора гладкая.
В расчетные формулы (4.14) — (4.16) подставляются значения tz и bш, характеризующие зубцы, влияние которых учитывается коэффициентами kδ1 и kδ2. Так, для машины, имеющей зубцы и на статоре, и на роторе, рассчитывают:
для статора
для ротора
где tz1, bш1 и tz2 и bш2 — соответственно зубцовые деления и ширина шлица пазов статора и ротора.
По аналогичным формулам находят и другие частичные коэффициенты воздушного зазора kδ3, kδ4,..., учитывающие влияние других неравномерностей воздушного зазора, например канавок для размещения бандажей на якорях машин постоянного тока.
Результирующий коэффициент воздушного зазора равен произведению всех частичных коэффициентов, рассчитанных для статора и ротора:
kδ = kδ1 kδ2 kδ3… (4.19)
Таким образом, МДС воздушного зазора электрической машины Fδ, А, определяется по формуле
где kδ — коэффициент воздушного зазора; Вδ — индукция в воздушном зазоре, Тл:
Вδ = Ф/ ( aδ τ lδ ),
αδ — коэффициент полюсного перекрытия; lδ — расчетная длина магнитопровода [6].
4.3. МАГНИТНОЕ НАПРЯЖЕНИЕ ЗУБЦОВЫХ ЗОН
При расчете магнитных напряжений зубцовых зон принимается попущение, что линии равного магнитного потенциала в поперечном сечении машины представляют собой окружности с центром на оси вращения ротора. При этом допущении магнитное напряжение зубцовой зоны статора Fz1 или ротора Fz2 определяется разностью магнитных потенциалов между эквипотенциальными поверхностями (на поперечном сечении — окружностями), проходящими по дну пазов и по поверхности головок зубцов.
Обычно рассматривают поле в одном элементе зубцовой зоны — зубцовом (пазовом) делении tz = πD/ Z. Магнитные сопротивления паза и зубца в магнитной цепи машины соединены параллельно, поэтому поток в зубцовом делении распределяется между ними пропорционально проводимостям магнитных силовых трубок, проходящих через зубец и паз. Пазы в электрической машине заполнены проводниками и их изоляцией, т. е. средой с магнитной проницаемостью, во много раз меньшей, чем проницаемость стали зубца. Поэтому поток в пазу составляет лишь небольшую часть общего потока зубцового деления. Эта часть потока как бы «вытесняется» из зубца в паз. При малом насыщении зубцов она очень мала и в расчетах ее не учитывают. При увеличении насыщения зубцов доля потока в пазу возрастает и ее влияние начинает сказываться на магнитном напряжении зубцовой зоны Fz.
Рассмотрим вначале расчет магнитного напряжения зубцовой зоны без учета вытеснения части потока в паз. При принятом допущении о конфигурации эквипотенциальных линий и в силу симметрии зубцовой зоны магнитные силовые линии, проходящие через середины оснований зубцов, совпадают с отрезками радиусов (см. рис. 4.1, а и б), поэтому
где Hzx — напряженность магнитного поля в сечении зубца, соответствующем расстоянию hzx от его узкой части; hz — высота зубца (рис. 4.5, а).
Рис. 4.5. К расчету магнитного напряжения зубцовой зоны
При постоянном сечении зубца считают, что напряженность поля в нем Hz постоянна, тогда
Fz = Hzhz (4.21 а)
При переменном сечении зубца Fz можно определить, разделив зубец по высоте на n достаточно малых участков с высотой Δh, в пределах которых изменением Hz пренебрегают. Определив для каждого участка индукцию, напряженность магнитного поля, магнитное напряжение и просуммировав последние, находят магнитное напряжение зубца.
Поток, приходящийся на одно зубцовое деление,
Фtz = Bδ tz lδ. (4.22)
Если через bzx обозначить ширину зубца на высоте hzx, то соответствующее активное сечение зубца
Szx = kc lст b zx,
где kc — коэффициент заполнения сердечника сталью; lст — длина магнитопровода без вентиляционных каналов.
Индукция в рассматриваемом сечении зубца (рис. 4.5, б)
Напряженность поля определяется для соответствующей индукции по кривым намагничивания для выбранной марки стали.
Проведя несколько таких расчетов для различных сечений зубца, можно для потока ФtZ построить кривую распределения напряженности поля по высоте зубца (рис. 4.5, в). Площадь, ограниченная этой кривой, SACDE определяется в масштабе магнитного напряжения зубца:
Зубцы в электрических машинах могут иметь сложную конфигурацию, поэтому такие расчеты выполняют лишь на ЭВМ при необходимости получения уточненных данных, при этом программы расчетов должны учитывать особенности размерных соотношений данной зубцовой зоны.
В практических расчетах оказывается достаточным приближенное решение, когда Fz находится по (4.21) для некоторой средней расчетной напряженности Hz и расчетной высоты зубца hz, для которых справедливо
.
При плавно изменяющихся сечениях зубцов расчетная напряженность Hz достаточно точно находится по формуле
Hz =
( Hzmax + 4Hzср + Hzmin). (4.24)
Здесь Hzmax, Hzmin и Hzcp — напряженности поля в поперечных сечениях зубца, которые определяются по индукциям в наиболее узком Szmin, наиболее широком Szmax и среднем по высоте Szcp сечениях зубца, по следующим формулам:
где bzmin, bzmax - наибольшая и наименьшая ширина зубца (см. рис. 4.5, б)
При прямоугольных пазах при Bzmax ≤ 2,0 Тл используется распространенный метод расчета Fz по напряженности Нz1/3, определенной по индукции в сечении на 1/3 высоты зубца от его узкой части (см. рис. 4.5):
Fz = Hz1/3 hz, (4.26)
дающий хорошее совпадение с уточненными расчетами при небольшой разнице наибольшего и наименьшего сечений зубцов. При этом площадь прямоугольника ACD'E' со сторонами Hz1/3 и hz равновелика площади фигуры ACDE (см. рис. 4.5, в).
В отдельных случаях при большей разнице bzmax и bzmin и больших насыщениях расчет проводится более детально. Зубец делится по высоте на две части, и для каждой из них определяется средняя напряженность поля указанным методом. В этом случае расчетные сечения берутся на высоте
от наиболее узкого сечения зубца.
При расчете магнитного напряжения зубцов с резко изменяющимся по высоте сечением, например зубцов двухклеточного ротора асинхронного двигателя и короткозамкнутого ротора с фигурными пазами, зубцы также делятся по высоте на два участка с плавно изменяющимся сечением, при этом магнитное напряжение зубцов равно сумме магнитных напряжений участков.
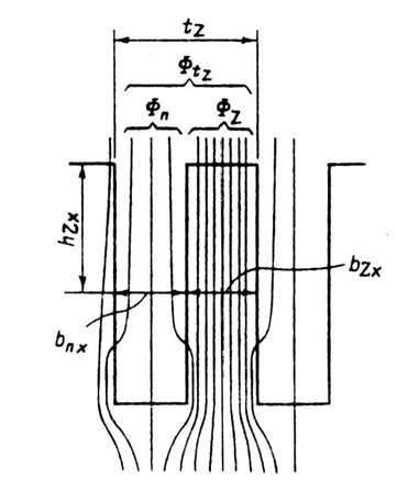
Рис. 4.6. Магнитный поток в зубцовом делении
при насыщении стали зубцов
Влияние местных изменений сечения зубца на изменение магнитного напряжения, не распространяющихся на большие, участки по его высоте (углубления в стенках пазов для крепления пазовых клиньев, расширения в коронках зубцов и т. п.), в практических расчетах обычно не учитывают.
В насыщенной зубцовой зоне доля потока в пазу возрастает. Ее можно оценить, не прибегая к полному расчету поля на зубцовом делении, следующим образом.
Обозначим поток в зубце ФZ и поток в пазу Фп (рис. 4.6), тогда поток на зубцовом делении на высоте зубца hzx будет равен:
Фtz = Фzx + Фпх (4.27)
Разделив (4.27) на Szx и умножив и разделив второе слагаемое правой части на Sпх = bnx lδ , получим
или
где В'zх — расчетная индукция, определимая полным потоком в сечении зубца Szx в предположении, что поток в пазу отсутствует; bzx — действительная индукция в сечении зубца Szx, т.е. индукция, определенная с учетом того, что часть потока вытесняется из зубца в паз; Впх — индукция в сечении паза Sпх, создаваемая вытесненной в паз частью потока.
Так как паз заполнен средой с магнитной проницаемостью μ0 (магнитной постоянной), то
Впх = μ0 Нпх. (4.30)
На основании принятого допущения о конфигурации эквипотенциальных линий в зубцовой зоне напряженность поля в зубце и в пазу на одной и той же высоте hzx будет одинакова, т. е.
Нпх = Hzx.
Тогда из (4.29) и (4.30) имеем
нли
B'zx = Bzx + μ0 Hzx kпx, (4.32)
















