12 вариант 2 (954078), страница 2
Текст из файла (страница 2)
Филиал № 1 Филиал № 2
2.2. Центральный офис фирмы.
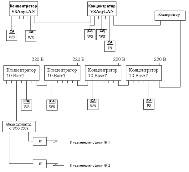
2.2.1. Структурная схема локальных вычислительных сетей центрального офиса фирмы.
2.2.2. Выбор оборудования и правила построения локальных вычислительных сетей.
2.2.2.1. Локальная вычислительная сеть 100VSAnyLAN.
2.2.2.1.1. Правила установки и монтажа.
| Тип кабеля - | UTP3, UTP4, UTP5 (четыре витых пары), STP (две витых пары), оптоволоконный кабель. |
| Топология - | звезда (древовидная топология, в качестве промежуточных узлов сети – концентраторы, оконечные узлы – рабочие станции или сервера) |
| Максимальное число узлов на сегменте - | 1024 |
| Максимальное колличество сегментов - | 4 (последовательно) |
| Максимальная длина кабеля между концентраторами - | 5 м |
| Максимальная длина сегмента (только для оборудования HP) - | 225 м (при использовании кабеля UTP 5 категории) |
| Максимальная длина сети - | 1100 м |
| Способ подсоединения узла - | RJ-45 |
| Колличество используемых пар кабеля - | 4 |
2.2.2.1.2. Выбор сетевого оборудования.
Согласно условию технического задания, сетевое оборудование должно быть фирмы Alfa Technology:
-
сетевые адаптеры AT-2400 (с разъемами Rj-45) для шины PCI;
-
неэкранированная витая пара 5-й категории, волновое сопротивление 100 Ом;
-
концентраторы AT-MR904TX.
Поскольку в сети находится 20 рабочих станций и один сервер, целесообразно реализовать ее в виде одного сегмента.
2.2.2.2. Локальная вычислительная сеть 10BaseT.
2.2.2.2.1. Правила установки и монтажа.
Основные компоненты сети:
-
неэкранированная витая пара 3-й категории, волновое сопротивление 100 Ом;
-
сетевые адаптеры Ethernet с разъемом Rj-45;
-
концентраторы (устройства, предназначенные для усиления и разветвления сигнала, проходящего по кабелю).
Правила:
-
длина луча сети не должна превышать 100 м;
-
концентраторы могут иметь 8, 12, 24, 48 или 72 порта с разъемом Rj-45. К порту концентратора может быть подключен либо узел сети (сервер или рабочая станция), либо соседний концентратор;
-
в сети должно быть не более четырех последовательно соединенных концентраторов (или четырех стеков концентраторов);
-
в сети должно быть не более 1024 узлов;
-
между любыми двумя удаленными узлами сети не должно быть более пяти лучей. Поэтому длина сети не должна превышать 500 м;
-
между любыми двумя узлами (компьютерами) в сети должно быть не более 5 концентраторов.
2.2.2.2.2. Выбор сетевого оборудования.
Согласно условию технического задания, сетевое оборудование должно быть фирмы SVEC:
-
сетевые адаптеры FD700 USB (с разъемами Rj-45);
-
неэкранированная витая пара 3-й категории, волновое сопротивление 100 Ом;
-
концентраторы FD510.
Поскольку в сети находится 20 рабочих станций и один сервер, целесообразно реализовать ее в виде одного сегмента.
2.2.2.3. Связь сетей.
Для подключения сети 100VG-AnyLan к сети 10BaseT используется коммутатор 10/100 Fast Eternet Switch FS708 фирмы Allided Telesyn, который имеет 1 скоростной порт 100Мбит/с и 4 порта по 10Мбит/с.
Коммутатор соединяется с концентратором и конвертором через порты Rj-45.
Для связи с удаленными офисами используются маршрутизатор Сisco 2621.
2.2.3. Серверы локальной вычислительной сети центрального офиса.
При выборе серверов нужно рассматривать серверы на базе микропроцессоров AMD Athlon, Intel Pentium III и Xeon.
Сравнительный анализ микросхем для системных плат серверов на базе Pentium и Pentium Pro.
Характеристики плат на основе микропроцессора Intel Xeon (III и 1,7 ГГц).
| Характеристики микросхем | SC450NX | i840 | i850 | DX400 |
| Изготовитель | INTEL | VIA | ||
| Кодовое название | Sitka | Koa | Palmeto/ Cabot | Iwill DX400-SN |
| Количество микросхем в наборе | 4 | 4 | 6 | 4 |
| Поддержка режима SMP (Количество МП на плате) | 4 | 4 | 8 | 4 |
| Поддержка контроля чётности | + | + | + | + |
| Работа с типами ОЗУ Rambus | - | - | + | - |
| EDO | + | + | - | + |
| SDRAM | + | + | - | + |
| Максимальный объём ОЗУ (Мбайт) | 2048 | 4096 | 8192 | 4096 |
| Максимальный объём КЕШ-2 (Кбайт) на каждый процессор | 2048 | 2048 | 2048 | 2048 |
| Интегрирован в набор контроллер Ultra SCSI-3 | + (2) | - | + | + |
| Интегрирован в набор контроллер Fast SCSI | + | + | + | - |
Характеристики плат на основе микропроцессора AMD Athlon.
| Характеристики микросхем | Pro266 | 82450 GX |
| Изготовитель | VIA | |
| Кодовое название | ASUS A7M266 | Orion |
| Поддержка режима SMP ( Количество МП на плате ) | 2 | 4 |
| Работа с типами ОЗУ EDO | + | + |
| SDRAM | + | + |
| DDR SDRAM | + | + |
| RDRAM | - | - |
Сравнительные характеристики Pentium, Pentium MMX, Pentium Pro и Pentium II.
| Характеристики | Intel Pentium III | Intel Xeon | AMD Athlon |
| Тактовая частота ядра ЦП (МГц) | до 1000 | до 1700 | до 1200 |
| Частота внешней шины ЦП (МГц) | 66,75,100,125 | 100,400 (RDRAM) | 233 (DDR SDRAM) |
| КЕШ-1 ( Кбайт ) | 32+32 | 64+64 | 64+64 |
| Тактовая частота КЕШ-1 | Равна тактовой частоте ядра процессора | ||
| КЕШ-2 ( Кбайт ) | 256/512 | 256 / 512/1024/2048 | 512 / 1024 |
| Тактовая частота КЕШ-2 | Равна частоте внешней шины ЦП | Равна половине частоты ядра ЦП | |
Сравним производительность четырех систем:
-
AMD Athlon-C 1,2 ГГц на материнской плате AMD 760 (мы выбрали 1,2 ГГц Thunderbird для сравнения в будущей статье)
-
Двухпроцессорная конфигурация на базе Intel Pentium III 933 и материнской платы VIA Apollo Pro266. Как уже говорилось раньше, Pro266 обеспечивает примерно ту же производительность, что и i840 по намного меньшей цене. Производительность процессора Pentium III практически равна Pentium III Xeon начального уровня с 256 кб L2 кэша.
-
Двухпроцессорная конфигурация на базе Intel Xeon 1,7 ГГц и материнской платы Iwill 860.
-
Однопроцессорная конфигурация на базе Intel Xeon 1,7 и материнской платы Iwill 860. Производительность такой системы идентична системе на одном процессоре Pentim 4 1,7 ГГц.
Мы использовали 512 Мб памяти для всех тестов, рассчитанных на обычные компьютеры и рабочие станции, и 1 Гбайт памяти для серверных тестов.
| Тестовые системы на основе Windows 98SE / 2000 | |||
| Аппаратное обеспечение | |||
| Процессор | Intel Pentium III 933 МГц x 2 | Intel Xeon 1,7 ГГц x 2 | AMD Athlon-C "Thunderbird" 1,2 ГГц |
| Материнская плата | Iwill DVD266-R | Iwill DX400-SN | ASUS A7M266 |
| Память | 1 Гб PC2100 Corsair DDR SDRAM | ||
| Жесткий диск | IBM Deskstar 30GB 75GXP 7200 RPM Ultra ATA/100 | ||
| CDROM | Phillips 48X | ||
| Видеокарта | NVIDIA GeForce2 Ultra 64MB DDR (частота по умолчанию - 250/230 DDR) | ||
| Сеть Ethernet | Linksys LNE100TX 100Mbit PCI Ethernet | ||
| Программное обеспечение | |||
| Операционная система | Windows 2000 Professional SP2 | ||
| Драйверы видео | NVIDIA Detonator3 v6.50 @ 1024 x 768 x 16 @ 75Гц | ||
Сравнение полосы пропускания памяти
Начнем тестирование Intel Xeon с измерения полосы пропускания памяти. Мы уже показывали раньше, что Pentium 4 хорошо умеет использовать большую пропускную способность памяти, которая обеспечивается чипсетом i850 благодаря двум каналам Rambus. Результаты Intel Xeon не должны отличаться от Pentium 4, так как процессоры идентичны и пропускная способность памяти также одинакова.
Посмотрите на уменьшение производительности после того, как размер обрабатываемой матрицы превысит размер кэша каждого процессора. Производительность двух процессоров намного ниже, чем производительность одного процессора. Причина этого заключается в том, что двойной канал RDRAM на i860 не может обеспечить нужную пропускную способность памяти для двух ненасытных процессоров.
















