МЕХАНИЧЕСКИЕ МУФТЫ (946568), страница 4
Текст из файла (страница 4)
z=16 - для муфт, работающих в масле.
Осевая сила замыкания (по ней рассчитывают пружину)
Расчету на прочность также подлежат шлицевые соединения дисков. При этом необходимо учитывать (см.рис.7), что расчетная длина шлицевого соединения определяется толщиной дисков, а также долей вращающего момента, передаваемого наиболее нагруженным диском.
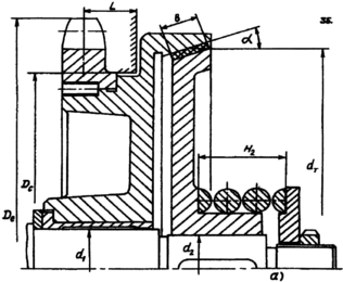
КОНУСНАЯ ФРИКЦИОННАЯ МУФТА
В
зависимости от числа пар поверхностей трения (пар конусов) различают одно и двухконусные муфты.
Недостатки: Так как число пар поверхностей трения здесь ограничено двумя, то нагрузочная способность конусных муфт ниже дисковых.
Преимущество: небольшое потребное осевое усилие.
Расчетный вращающий момент для конусных муфт
dT и b - размеры поверхностей трения в мм, показанные на рис.;
прочие величины аналогичны формуле для дисковой фрикционной муфты
В проектном расчете из уравнения определяют:
1. ширину b задаваясь диаметром трения dT,
или,
2. устанавливают диаметр трения dT, принимая b =(0,15...0,25)dT
В проверочном расчете (аналогично дисковой муфте)
Осевая сила замыкания(по ней рассчитывают пружину)
где
- угол наклона образующей конуса. Этим углом задаются: в муфтах сухого трения 20...25° и при работе в масле 8...10°.
Тепловой расчёт фрикционных муфт:
В процессе буксования фрикционной муфты выделяющаяся тепловая энергия вызывает нагрев деталей муфты, что сопровождается снижением коэффициента трения и ухудшением условий работы фрикционных пар.
Тепловой расчёт предохранительных фрикционных муфт проводится по наиболее теплонагруженному элементу, которым является металлическое контртело (диск, шлицевой барабан, зубчатый венец), и сводится к определению ………
допустимого времени буксования
Где С – массовая теплоёмкость (для сталей и чугунов С=480 Дж/кг град
m– масса нагреваемого элемента в кг
(m=Vρ, плотность сталей и чугунов ρ=7,8 10 –6 кг/мм3)
θmax и θ0 – максимальная и начальная температура нагрева
(θmax=75…85оС для муфт, работающих в масле
θmax=150…220оС для муфт сухого трения
θ0=15…20оС )
ω – угловая скорость скольжения (рад /сек)
x – коэффициент, учитывающий распределение тепла по
нагреваемым элементам (x=z1/z ,
где z – число пар поверхностей трения
z1 - число поверхностей трения нагреваемого элемента )
















