Испытания станков и станочных систем (832103)
Текст из файла
Производство и испытание станков
Лукьянец Олег Федорович
Литература:
-
Свифт Букер «Выбор процесса…» 2006
-
Беспалов
-
Точность металлорежущих станков. Решетов.
Лекция 1
Рейтинг станкостроительных фирм
-
Trumpf (Германия)
Оборот 2,8 млд $
В основном станке для лазерной обработки
Мощность до 4 кВт
Водоструйная резка
Дыропробивные машины с ЧПУ
Листогибочные обрабатывающие центры
Занятость 8000 человек
-
Mazak (Япония)
Оборот 2,6 млд $
Примерно 6000 токарных станков с ЧПУ в год
Обрабатывающие центры
Лазерные станки (3 завода: Япония, США, Великобритания)
Сама разрабатывает лазер
-
Gildemeister (DMG) (Германия)
Оборот 2,5 млд $
Заводы – Германия, Италия, Польша
Занятость 6500 человек
-
Amada (Япония)
Оборот 2,1 млд $
Листоштамповочные прессы
Ленточные пилы
Токарные станки
6,5 тыс. чел. на 4 Японских завода
-
Окита (Япония)
Оборот 1,8 млд $
Токарные станки и обрабатывающие центры
Занятость 1900 человек
-
MoriSeiki (Япония)
Оборот 1,8 млд $
Токарные станки и обрабатывающие центры
-
Fanuc
Оборот 3 млд $
Современные проблемы машин
-
Высокое качество должно быть обеспечено по низким ценам
-
Короткие жизненные циклы
-
Цена и качество продукции должно закладываться на ранних стадиях проектирования
В изделиях содержится много лишних деталей (из практики).
30% времени проектно-конструкторских работ тратится на их переделывание.
60-80% стоимости изделия определяется на стадии проектирования, при этом затраты на проектирование 5-7%
Лекция 2
Ознакомление со служебным назначением станка
Необходимо сформулировать требования к точности и жесткости оборудования с целью обеспечения заданного качества обработки.
В ГОСТах предусмотрены 5 классов точности оборудования:
Н – нормальная точность
П – повышенная точность
В – высокая точность
А – особо высокая точность
С – особо точные
На каждый вид оборудования и класс точности разработаны соответствующие ГОСТы.
-
Точность станка назначается конструктором.
-
Проводится анализ соответствия условий служебному назначению станка
-
Осуществляется выбор методов достижения требуемой точности и корректировка рабочих чертежей
Методы достижения точности:
- полная взаимозаменяемость
- неполная взаимозаменяемость
-групповая взаимозаменяемость
- применение компенсаторов
- подгонка/пригонка (окончательная точность часто достигается пригонкой. Например, станины)
Для этого строятся технологические и размерные цепи, они рассчитываются и выбирается метод достижения заданной точности
При оценке точности немаловажна жесткость элементов станка. Ее считали методом конечных элементов.
Трудоемкость сборочных операций 30-60%. Сборка производится в сборочных цехах (имеется жесткий фундамент).
Станки высокой точности собирают в термоконстантных помещениях.
MINSUI SEIKI – Японская фирма (с 2001), изготовляющая только точное оборудование. (до 1 микрона). Изготавливают высокоточные расточные станки. Покрытие бетонное 1-1,2 м толщиной. Температура в помещении 20 градусов. Перепад по высоте 0,5 градуса. Влажность 55. Подача воздуха сверху (система кондиционирования), снизу воздух забирается. Полный воздухообмен – 24 раза в день.
Рисунок 1.
Рисунок 2.
Цель фундамента – изоляция от внешних источников. Глубина фундамента 30 м.
Составляется баланс точности обработки для высокоточных измерений.
Для станков средних размеров погрешность изготовления станка 75%
Деформация корпусных деталей стола под действием массы заготовки до 25%
Направляющие скольжения до 40%
Деформация изделия и приспособления под действием сил закрепления до 50%
Температурные деформации узлов станка до 50%
Погрешности от остаточных напряжений заготовки до 60%
Температурные деформации от внутренних источников станка до 40%
Для борьбы с температурными деформациями делают охлаждение, ставят холодильники.
Проверка геометрической точности станка
Основной показатель – результаты качества сборки.
ГОСТ 22267 Станки металлорежущие. Схемы и способы измерения геометрических параметров.
Разработаны стандарты для проверки конкретных типов оборудования.
ГОСТ 9726 Станки фрезерные вертикальные с крестовым столом. Нормы точности и жесткости.
-
В ГОСТе предусмотрены схемы проверки геометрической точности.
-
Обработка и измерение точности образца изделия
-
Схема проверки жесткости станка
ГОСТ 7035 Станки металлорежущие. Общие условия испытаний станка на жесткость
ГОСТ 26189 Станки металлорежущие. Метод комплексной проверки параллельности и прямолинейности плоских поверхностей образца-изделия.
Рисунок 3
Класс точности Н, П
Для класса точности В допускается ужесточение в 1,6 раза
Проверка прямолинейности рабочей поверхности стола
Рисунок 4
Стол устанавливается в среднем положении (продольном и поперечном).
Измерение проводится в разных точках рабочего пространства.
Черт 1 – уровень
Уровень измеряет отклонение от горизонтальности в долях градуса.
Рисунок 5
Делается 2 диагональных измерения и сетка.
Черт 2 – оптическая линейка (для измерения отклонений)
Черт 3 – контрольная линейка (линейка устанавливается на опорах, для измерений используется щуп)
Черт 4 – индикатор
На всех схемах опоры должны быть на одинаковой высоте. Шаг должен быть не меньше 80 мм.
Рисунок 6
Измеряется рабочее пространство станка у токарного и фрезерного станка.
| Длина изм., мм | Допуск, мкм | |
| Н | П | |
| До 250 | 10 | 6 |
| 250…400 | 12 | 8 |
| … | ||
| 630…1000 | 20 | 12 |
| …. | ||
| 1600…2500 | 30 | 20 |
Допуск для класса В: допуск П делить на 1,6
Выпуклость рабочей поверхности стола не допускается (только вогнутость – деталь должна стоять устойчиво)
Рисунок 7
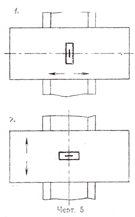
Постоянство углового перемещения стола при его перемещении
Рисунок 8
1 – стол движется в продольном направлении
2 – стол движется в поперечном направлении
На стол устанавливается уровень и двигается
В диапазоне 400…600 допуск для Н 0,03 мм/6 секунд, для П 0,02 мм/4 секунды
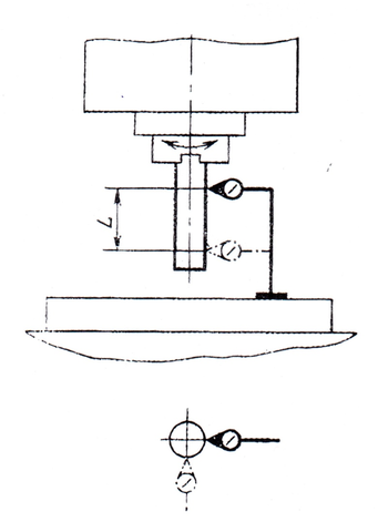
Перпендикулярность оси вращения шпинделя к рабочей поверхности стола в продольном и поперечном направлениях
Рисунок 9
Стол устанавливается в среднем положении. Стол имеет 2 перемещения. На столе устанавливается линейка. В шпинделей закрепляется индикатор. Измеряется в 2 положениях (поворот на 180 градусов).
Гостируется ширина стола и расстояние L.
При ширине до 630 мм, L = 300 мм
Допуски на перпендикулярность:
Н 16 мкм
П 10 мкм
Чертеж 13б – измерение в другой плоскости.
Прямолинейность траектории перемещения шпиндельной бабки в продольном и поперечном вертикальных плоскостях
Рисунок 10
Стол устанавливается в среднем положении. На стол устанавливается угольник (поз. 3).
Поз. 2 – регулируемые опоры.
Поз. 1 – стол.
Повернуть так, чтобы в крайних точках 1 и 2 показания индикатора одинаковы.
Шпиндельную бабку перемещают на всю длину хода без остановки
Отклонение от прямолинейности – максимальная разность показаний индикатора.
Для длины 400…600 мм для Н – 12 мкм, П – 8 мкм.
Перпендикулярность направления перемещения шпиндельной бабки к рабочей поверхности стола в продольном и поперечном направлениях
Рисунок 11
Стол устанавливается в среднем положении. Поверочный угольник устанавливают на две равновысокие опоры.
Отклонение от перпендикулярности – максимальная разность показаний индикатора или другого прибора.
Для перемещения 400...600 мм для класса Н 25 мкм, П 16 мкм.
Параллельность плоскости поворота шпиндельной бабки в направлении продольного перемещения стола
Рисунок 12
Таким поворотным устройством обычно оснащаются универсальные фрезерные станки
1 – Стол
2 – Поверочный угольник
3 – Измерительный прибор (индикатор)
Угольник устанавливают в середине стола и выверяют параллельно продольному перемещению. Затем поворачивают шпиндельную бабку (пунктир) и определяют разность показаний индикатора.
L – 300 мм.
Н – 20 мкм
П – 12 мкм
Осевое биение шпинделя
Рисунок 13
Слева – конический шпиндель
Справа – сплошной шпиндель
Для диаметра шпинделя до 65 мм для Н 8 мкм, П 5 мкм. Для диаметра шпинделя 65…100 Н 10 мкм, П 6 мкм.
Проверка торцевого биения шпинделя фрезерного станка
Рисунок 14
Шпиндель имеет большую шейку. По наружному диаметру устанавливается фреза. Через шпоночный паз фрезе передается вращение. Типичная схема для фрезерных станков. Торцевое биение измеряют в 2х точках. Расстояние индикатора должно быть максимальным от оси вращения.
до 65 мм Н 12 мкм, П 8 мкм.
65…100 мм Н 16 мкм, П 10 мкм.
Радиальное биение конического отверстия шпинделя
Рисунок 15
Проверяется у торца шпинделя и на расстоянии L. В шпиндель устанавливают контрольную оправку. Измерение биения происходит в 2х плоскостях.
Диаметр шпинделя 65…100 мм у торца Н 8 мкм, П 5 мкм; на расстоянии 150 мм Н 12 мкм, П 8 мкм.
Точность линейных координатных перемещений позиционирования стола и бабки
Характеристики
Тип файла документ
Документы такого типа открываются такими программами, как Microsoft Office Word на компьютерах Windows, Apple Pages на компьютерах Mac, Open Office - бесплатная альтернатива на различных платформах, в том числе Linux. Наиболее простым и современным решением будут Google документы, так как открываются онлайн без скачивания прямо в браузере на любой платформе. Существуют российские качественные аналоги, например от Яндекса.
Будьте внимательны на мобильных устройствах, так как там используются упрощённый функционал даже в официальном приложении от Microsoft, поэтому для просмотра скачивайте PDF-версию. А если нужно редактировать файл, то используйте оригинальный файл.
Файлы такого типа обычно разбиты на страницы, а текст может быть форматированным (жирный, курсив, выбор шрифта, таблицы и т.п.), а также в него можно добавлять изображения. Формат идеально подходит для рефератов, докладов и РПЗ курсовых проектов, которые необходимо распечатать. Кстати перед печатью также сохраняйте файл в PDF, так как принтер может начудить со шрифтами.














