Испытания станков и станочных систем (832103), страница 6
Текст из файла (страница 6)
Изготовление шарико-винтовых пар
Чтоб повысить чувствительность
Типовые представители ШВП
Рисунок 5
Вверху написано вид и класс (4й)
Материал сталь ХВГ
Рисунок 6
Винт 2 класса точности
Рисунок 7
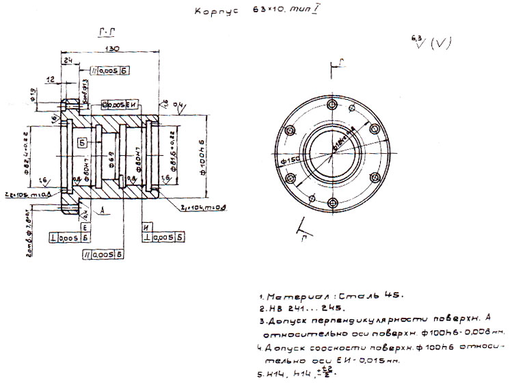
Корпус
Рисунок 8
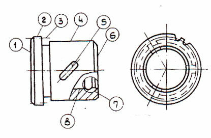
Вкладыш
Рисунок 9
Гайка
Рисунок 10
Материал 9ХС, ШК15
ТО: объемная закалка
Класс точности 2ой
Операции
-
Отрезка
-
Штаповка
-
Предварительная обработка торцев наружной и внутренней поверхностей
-
Отжиг
-
Обработка наружных и внутренних поверхностей и торцев с припуском под шлифование
-
Нарезка резьбы с припуском под шлифование
-
Фрезерование лысок, пазов и обработка отверстий
-
Фрезерование окон под вкладыши
-
Закалка
-
Предварительное шлифование наружной поверхности, окончательное шлифование наружной поверхности и торца
-
Окончательное шлифование второго торца
-
Шлифование зубьев по целому (окончательное)
-
Маркирование числа зубьев
-
Предварительное шлифование резьбы
-
Магнитная дефектоскопия
-
Отпуск стабилизирующий
-
Окончательное шлифование наружной поверхности
-
Окончательное шлифование резьбы
-
Промывка, технический контроль
Типовой чертеж
Рисунок 11
Типовой технологический процесс изготовления ходовых винтов из стали 8ХФ
-
Отрезать заготовку
-
Правда по мере необходимости
-
Отжиг в случае правки
-
Фрезерно-центровальная (обработка торцев, центровых отверстий, обтачивание шеек под патрон и люнет)
-
Центрошлифовальная. Шлифовать центровые фаски.
-
Токарная. Точить наружную поверхность предварительно
-
Круглошлифовальная. Шлифовать поверхность под резьбу
-
Токарная с ЧПУ. Нарезать резьбу с припуском под шлифование
-
Шпоночно-фрезерная. Фрезеровать шпоночный паз
-
Закалка
-
Центрошлифовальная. Шлифовать центровые фаски.
-
Шлифовальная с ЧПУ. Шлифовать наружную поверхность резьбы предварительно
-
Резьбошлифовальная. Шлифовать резьбу многониточным кругом.
-
Технический контроль на отсутствие микротрещин
-
Отпуск стабилизирующий
-
Центрошлифовальная. Шлифовать центровые фаски.
-
Шлифовальная с ЧПУ. Шлифовать резьбу и посадочные шейки с припуском под окончательное шлифование
-
Круглошлифовальная. Шлифовать наружную поверхность резьбы окончательно.
-
Круглошлифовальная. Шлифовать посадочные шейки окончательно
-
Контроль
Возможна накатка резьбы (4 класс) и нарезание резьбы после закалки (токарная обработка деталей высокой твердости) (HPT – точка твердых деталей, например, карбид нитрида бора)
Лекция 10
Сборка станочных узлов
-
Цилиндрические зубчатые передачи
Рисунок 1
Качество сборки определяется пятном контакта. Допустим наносят масло с краской, прокручивают и смотрят пятно контакта
а – нормальное пятно контакта
б – смещенное пятно контакта (перекос валов)
в – изменение межцентрового расстояния. пятно контакта смещено (если межцентровое расстояние больше номинального)
г – меньше номинального
-
Конические
Рисунок 2
а – нормальное пятно контакта
разница между цилиндрическими и коническими в том, что конические – регулируемые
Компенсатор позволяет правильно отрегулировать зацепление
Рисунок 3
Справа регулируется прокладка, слева применяется резьбовая втулка
-
Червячные редуктора
Рисунок 4
Тоже проверяется пятно контакта. Смазывается червячное колесо смазкой,прокручивается и по пятну контакта на червяке. Регулируется путем перемещения колеса вправо/влево.
-
Сборка различных втулок
Рисунок 5
Фиксация после сборке винтами или штифтами
а - винт
б – штифт
г – штифт поставлен в торец
д – винт низкопрочный
е – штифт по касательной. (не технологична – требуется приспособление для сверления – кондуктор)
-
Установка шпонок
Рисунок 6
Требуется ручная доработка паза (подпиливание). Подгонка паза и шпонки.
Шпонка может разбалтываться, что крайне нежелательно.
в – шпонка для переключения шестерни
г – для подвижных соединений, для повышения несущей способности вала.
Наиболее технологична сегментная шпонка.
Сборка плоских направляющих
Рисунок 7
Шабрение (проверка на краску)
Пригонка по поверхностям Е и Г
1 и 2 варианты компенсатора
Рисунок 8
Предусматривается регулировка клином. Предварительное пришабривание клина.
Достоинства:
Возможность регулировки зазора
Недостатки:
Возможно ослабление натяга – возникновение зазора.
Наличие трения – существенный недостаток.
Подшипники. Схемы запрессовки
Рисунок 9
Запрессовать надо с направлением и равномерным прикладыванием усилия (чтобы не было перекосов)
Нагрев подшипников в масле (t~100)
При большей температуре возможно структурное изменение материала
Необходимо устранить радиальный зазор (для этого создают предварительный натяг)
Собирают у4зел, дают осевую нагрузку, замеряют осадку подшипника и шлифуют проставочное кольцо, с помощью которого создается натяг.
Для прецизионных шпинделей осуществляют подбор подшипников; измерение биения колес и сборку так, чтобы компенсировать биение наружного и внутреннего кольца.















