лекция Додонов (832089), страница 6
Текст из файла (страница 6)
Рисунок 1
После ввода круга в раб. пол. На автомат надевают измерительную скобу.
Измерительная скоба (внизу зубчик) – устройство, которое приводится в движение специальным механизмом
М.П. – механизм привода
Сильфон механически связан с прецизионным сопротивлением.
Подается стабилизированное давление
Электросхема содежит 2 задатчика (2 уставки): сняли 80% за 2 припуска (быстро), а далее обработка засчет упругих деформаций (S поп равен нулю). Это контролирует измерительная скоба. С помощью электросхемы сравнивается сигнал в уставке и текущий. После переключения скоба продолжает контролировать. После достижения второй уставки, шпиндель совершает резкий отскок и осуществляется его вывод. Но чтобы вывести, надо сначала вывести устройство контроля, потом шпиндель, а потом само кольцо выгружается.
Загрузка и выгрузка кольца осуществляется с помощью автооператора.
Щуп лучше делать не острым – иначе возникнет износ. Периодически сравниваются значения щупа и калибра.
Точность 2 микрона. Проводится каждый раз правка шлифовального круга
Цикл обработки примерно 45 секунд. А такт больше. Поэтому надо порядка 8 внутришлифовальных станков
Загрузка
Рисунок 2
Автооператор. В шпинделе есть толкатель. Шпиндель разжимается и деталь выталкивается в лоток. Для поштучной выгрузки отсекатель с блокированной системной.
Проверка – выборочно берем подшипник и контролируем. Если неправильно – остановка станка и ставят новый измерительный прибор, налаживают.
Для проверки правильности измерений существуют специальные образцовые детали (эталоны)
14 – контрольный автомат
Рисунок 3
Для настройки и проверки датчика вставляется индикатор часового типа с ценой деления 1 микрон, который взаимодействует со штангой. Нужен для контроля работы электроконтактного датчика.
На контрольных автоматах контролируется следующее:
Рисунок 4
На одной из позиций производится подъем подшипника и его вращение с целью определения его радиального биения наружной поверхности относительно внутренней.
Правильность контроля автомата проверяется по индикатору часового типа и используя специальные эталонные детали, которые имеют образцовые размеры.
Особенностью автомата является наличие механизмов точных перемещений, а они нужны для:
Рисунок 5
Пружины обеспечивают нулевую погрешность.
В автомате используются более сложные механизмы для прицезионной передачи всех необходимых размеров для электроконтактные датчики.
Около каждой позиции имеются защелки с электроприводом, которые срабатывают в том случае, если деталь бракованная.
Изолятор брака. В изоляторе брака происходит оценка возможности доработки этой детали.
Лекция 15
Автомат сборки карданных подшипников
Рисунок 1
Два основных движения:
- дискретное движение стола
- постоянное вращение центральной приводной шестерни В
Поступательное движение от распределительного вала (вверх-вниз) – движение сборки
МП – мальтийский механизм (трансформация ¼ в 1/16 поворота с помощью редуктора)
В 16 позициях происходит сборка
Рисунок 2
На второй позиции технологическая втулка
3 позиция пустая
4 – сборка тел качения
Процесс загрузки тел вращения
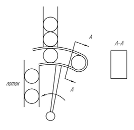
Рисунок 3
Правая воронка находится над зоной 4, а левая воронка в зоне загрузки тел качения. Ее поворот осуществляется на 180 градусов. Высыпается ровно 16 тел качения.
Конус, т.к. невозможно лотки разместить близко друг к другу.
5 – проверяем все ли тела качения вставлены (может одно из тел качений застрять) – вставляем щуп. Если тела качения свободно раздвигаются (то есть одного тела качения не хватает), загорается красная лампочка
6 – одеваем втулочку. Опускаем шток и сдавливаем по диаметру (уменьшаем диаметр по корпусу подшипника засчет пластических деформаций)
Шиберный механизм подает втулочку.
Рисунок 4
7 – проверить оделась ли втулочка (опускаем щуп. Если одели – щуп останавливается на одном месте, если не одели – опускается ниже)
8 – вытащить технологическую втулку. Вставляем стержень. На нем может быть подпружиненный шарик. Засчет трения он ее держит,а когда возвращается обратно, втулочка падает.
Операции размещать равномерно!
Автомат конвервации
Рисунок 5
Кривошипно-ползунный механизм совершает возвратно-поступательное движение
Отскатель
Автомат контроля собранных подшипников
Рисунок 6
-
На одной из позиций вставляют калибр для проверки диаметра собранного подшипника. Если калибр не входит – загорается красная лампочка.
-
Вставляется калибр и проворачивается кольцо (чтобы проверить какой момент на подшипнике) Не должно быть заклинивания тел качения и момент должен быть маленький. Если момент большой – тела качения встали неправильно.
Автомат упаковки подшипников
Рисунок 7
Кривошипно-ползунный механизм – устройство подачи подшипников и одновременно является отсекателем подшипников. Отрезаем после того, как подшипник прошел. Оправкой загибают бумагу. Есть захватное устройство, которое держит бумажку. Отрезаем. Далее завальцовывают бумагу по внутреннему телу качения.
Лекция 16
Имитационное моделирование АСС.
Симуляция – подражание
Имитационное моделирование может ответить на ряд вопросов: сколько станков, транспорт, как управлять, сколько стоит, какая производительность, надежность.
Т.Дж.Шрайбер – программист и ученый, сотрудник JBM. GPSS – General purpose simulation system. Общества систем моделирования. Используется для анализа сложных и дискретных систем.
Машиностроение
- сугубо дискретное производство
- непрерывное система
Сложная дискретная система
Дискретная, т.к. машиностроительное производство сугубодискретное
Сложная, т.к. несколько технологических машин, вспомогательных машин, транспортных машин, складирований, систем управления.
РТК для обработки и сборки ротора ЭД
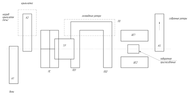
Рисунок 1
РТК может обрабатывать 38 типоразмеров ротора. Длина ротора до 1300 мм. Максимальный диаметр 320 мм. Вес до 130 кг.
На РТК осуществляется роботизированная запрессовка крыльчаток и шлифовка концов валов (посадочные концы под подшипники)
Имитационное моделирование
Рисунок 2
К – конвейеры
ПС – позиция сборки
Т.Р. - Транспортный робот
ПО - Позиции охлаждения
ШС - Шлифовальные станки
Лекция 17
Эл. Машина постоянного тока – электродвигатель, генератор
Гибкий робототехнический комплекс (РТК) – фрагмент гибкой автоматической линии (ГАЛ)
На РТК осуществляется автоматизированная напрессовка крыльчаток на валы электродвигателей.
На шлифовальных станках осуществляется шлифовка вала под подшипники. Поворотная часть, чтобы зашлифовывать часть А и часть В (поворот на 180 градусов)
РТК – могут быть использованы 38 разных роторов
К1,К2 – подводящие конвейеры
ПС – позиция сборки
ПО – позиция охлаждения
ШС – круглошлифовальные станки с ЧПУ
ТР – портальный транспортный ротор
Выдачу готовых роторов осуществляется конвейер К3
Конвейеры К1,К2,К3 могут содержать до 10 единиц деталей и сборок
Конвейер К3 выдает сборки на окончательный этап обработки
На сборочной позиции осуществляется горячая запрессовка крыльчаток на ротор электродвигателя.
Время транспортировки деталей транспортера (среднее, но может быть варьирование в каком-то диапазоне):
(допустим) и содержит следующие составляющие:
– время подхода к позиции
– время захвата детали
– время подъема или опускания детали
– время горизонтальных перемещений детали
Время сборки - 1 минута
- время шлифования – 3 минуты
Эти все времена варьируются в условии прохождения конкретных деталей.
Существует понятие «класс задач», которое в общем собирательно называются задачи исследования операций. Они предполагают:
-
Задачи проектирования АСС
-
Задачи эксплуатации АСС
Задача исследование операций отвечает на вопрос: «Что будет, если я спроктирую какую-то конкретную автоматизированную станочную систему? Каковы характеристики? Какова экономическая эффективность? Какие детали сможет обработать?»
Задачи эксплуатации: «Какие потери времени будут при той или иной надежности? Какова оптимальная последовательность партии деталей? Какая стратегия смены инструмента, которая даст минимальные затраты?"
Одно из средств – имитационное моделирование. Появилось с моментом появления современных машиностроительных машин и разработкой специальных языков моделирования, которые позволяют создать модели (электронные модели ) автоматизированных станочных систем.
Имитационная модель описывает логику сложных реальных явлений, протекающих в сложных дискретных системах. (выше рисовали сложную дискретную систему).
Проведение имитационного эксперимента позволяет моделировать реальные системы и процессы в них протикающие:
-
Сделать выводы о поведении сложной дискретной системы до ее изготовления (на этапе начального проектирования СДС (АСС)
-
Моделирование эксплуатационных особенностей проектированной АСС.
//имитационное – не вмешиваясь в систему можем понаблюдать как она будет работать в других условиях
Признаки сложных дискретных систем:
-
СДС. Ее нельзя проектировать и управлять без наличия математической модели. Но записать математическую модель бывает сложно. Необходимость математической модели и ее отсутствие является признаком сложных дискретных систем.
-
Стохастичность (вероятностный характер) поведения СДС. Любая СДС имеет большое количество случайностей в поведении. Случайными могут быть как внешние воздействия, так и внутренние свойства элементов систем.
-
«Нетерпимость» к управлению.
-
Нестационарность СДС. С течением времени характеристики меняются. Элементы стареют, заменяются новыми, появляются вновь устанавливаемые элементы, система работает с частично отказавшими элементами.
-
Невоспроизводимость экспериментов со сложными дискретными системами. Нет четкого математического описания системы и эксперименты, сделанные в одних и тех же условиях не в точности соответствуют реальности.
// При бросании 1 кости равновероятностный закон – прямая линия, при бросании 2 костей – распределение Симпсона (треугольник).
В имитационном моделировании используются датчики случайных чисел. Датчик случайных чисел (ДСЧ) – электронная схема (узел, прибор), который генерирует числа от 0 до 0,99999 (равновероятностный закон распределения).
















