2019_2_semestre_Otchyot_po_labe_1_1_Mole kulyarny_praktikum (827039)
Текст из файла
Отчет о лабораторной работе 1.1
“Броуновское движение частиц в жидкости.”
Выполнила: Затолоцкая Юлия Андреевна
Студентка группы 18308. ФФ НГУ
Преподаватель: Золкин Александр Степанович.
Преподаватель НГУ, к.ф.-м.н., доцент.
Цель работы
Проверка первого закона броуновского движения (дисперсия смещений по выбранному направлению пропорциональна времени), определение коэффициента диффузии.
Идея метода измерения
Зная координаты частицы в определенные моменты времени, можно определить среднее смещение. Зная среднее смещение, можно определить коэффициент диффузии
Методика измерений
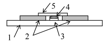
С помощью микроскопа наблюдаем движение броуновской частицы, находящейся в кювете с раствором. Капля раствора наносится на основание таким образом, чтобы она полностью покрыла основание и между раствором и покровным стеклом не было пузырьков воздуха, и чтобы она не касалась опорных полос и не затекала между ними. Фиксируем положения частицы через равные промежутки времени, считаем смещения.
Рис. 1. Кювета с жидкостью. 1 – стеклянная подложка, 2 – опорные полосы, 3 – прямоугольное основание микрокюветы, 4 – капля раствора.
Результаты измерений
Р
ис 2. Траектория броуновской частицы. Количество смещений n = 124.
Рис 3. Зависимость функций <x2>, <y2>, (<x2>+<y2>)/2, то есть дисперсий смещения от времени. Пунктирные линии – линии тренда.
Таблица 1. Значения среднеквадратичных отклонений и коэффициентов диффузии Dx, Dy, (Dx+Dy)/2 зависимости от времени.
| Время, сек | <x2>, мкм2 | <y2>, мкм2 | (<y2>+<x2>)/2, мкм2 | Dx, мкм2/с | Dy,мкм2/с | (Dy+Dx)/2, мкм2/с |
| 1 | 11,12 | 10,57 | 10,85 | 5,56 | 5,29 | 5,42 |
| 2 | 21,50 | 20,71 | 21,10 | 5,37 | 5,18 | 5,28 |
| 3 | 33,40 | 32,62 | 33,01 | 5,57 | 5,44 | 5,50 |
| 4 | 45,87 | 42,58 | 44,23 | 5,73 | 5,32 | 5,53 |
| 5 | 57,43 | 54,88 | 56,15 | 5,74 | 5,49 | 5,62 |
| 6 | 69,47 | 64,06 | 66,76 | 5,79 | 5,34 | 5,56 |
| 7 | 83,72 | 74,16 | 78,94 | 5,98 | 5,30 | 5,64 |
| 8 | 96,91 | 84,01 | 90,46 | 6,06 | 5,25 | 5,65 |
| 9 | 114,03 | 95,54 | 104,78 | 6,33 | 5,31 | 5,82 |
| 10 | 134,40 | 103,86 | 119,13 | 6,72 | 5,19 | 5,96 |
Dx = 5,89 ± 0,40 мкм2/с коэффициент диффузии по оси х.
Dy = 5,31 ± 0,10 мкм2/с коэффициент диффузии по оси у.
D ср = (Dy+Dx)/2 = 5,60 ± 0,19 мкм2/с средний коэффициент диффузии.
1 смещение = 0,1 мкм
Диаметр частицы d = 1,26 ± 0,94 мкм
Погрешности измерений
Погрешности создают:
- Сложность определения центра и границ частицы из-за дифракционного ореола;
- Потоки в жидкости нарушают условия проведения эксперимента по броуновскому движению;
Расчет погрешности определения диаметра d броуновской частицы:
Δx = Δу = 1 смещение.
Координаты по которым рассчитывался диаметр: (
Δd = 0,94 мкм (64%)
Обсуждение результатов
Рис 4. Значения коэффициентов диффузии HNO3 – H2О[1], (CH3)2CO– H2O[2], броуновской частицы - H2O.
По результатам измерений первый закон броуновского движения подтвердился, потому что дисперсия смещений по выбранному направлению оказалась пропорциональна времени (рис.3). Дисперсии смещений по оси х и у оказались примерно равны: при увеличении времени наблюдается расхождение графиков в связи с возможным появлением потоков по оси х.
Коэффициент диффузии броуновской частицы оказался много меньше коэффициентов диффузии HNO3 - вода и ацетон - вода (рис.4).
Вывод
Мной твердо установлено, что коэффициент диффузии в водном растворе равен
D ср = 5,60 ± 0,19 мкм2/с. Проверен первый закон броуновского движения, заключающийся в том, что дисперсия смещений по выбранному направлению пропорциональна времени и дисперсия смещений по оси x и у равны.
Литература
[1] – Кошкин Н.И, Ширкевич М.Г. Справочник по элементарной физике. – М.: Наука, 1980. – 90 с.
[2] – Википедия, Mass diffusivity: Wikipedia.org/wiki/mass_diffusivity.
4
Характеристики
Тип файла документ
Документы такого типа открываются такими программами, как Microsoft Office Word на компьютерах Windows, Apple Pages на компьютерах Mac, Open Office - бесплатная альтернатива на различных платформах, в том числе Linux. Наиболее простым и современным решением будут Google документы, так как открываются онлайн без скачивания прямо в браузере на любой платформе. Существуют российские качественные аналоги, например от Яндекса.
Будьте внимательны на мобильных устройствах, так как там используются упрощённый функционал даже в официальном приложении от Microsoft, поэтому для просмотра скачивайте PDF-версию. А если нужно редактировать файл, то используйте оригинальный файл.
Файлы такого типа обычно разбиты на страницы, а текст может быть форматированным (жирный, курсив, выбор шрифта, таблицы и т.п.), а также в него можно добавлять изображения. Формат идеально подходит для рефератов, докладов и РПЗ курсовых проектов, которые необходимо распечатать. Кстати перед печатью также сохраняйте файл в PDF, так как принтер может начудить со шрифтами.
















