08-04-2020-Учебное-пособие-по-матведу (821178), страница 3
Текст из файла (страница 3)
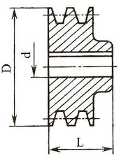
указанных пределах, твердость сердцевины НВ (не менее).
Обосновать сделанный выбор стали, рекомендовать обработку шестерни, которая обеспечит его работоспособность в предлагаемых условиях.
| а | б |
| Рис. 1.8. Шестерня редуктора открытого типа: а – общий вид зубчатого зацепления; б – эскиз шестерни редуктора | |
Исходные данные Таблица 1.8
| Вариант | D, мм | d, мм | s, мм | HRC | Δh, мм | HB |
| а | 88 | 48 | 28 | 58 – 62 | 0.9 – 1.1 | 340 |
| б | 150 | 90 | 45 | 58 – 60 | 0.8 – 1.0 | 330 |
| в | 200 | 136 | 70 | 59 – 63 | 0.7 – 0.9 | 350 |
| г | 210 | 118 | 62 | 60 – 64 | 1.1 – 1.3 | 300 |
| д | 250 | 150 | 80 | 57 – 61 | 0.9 – 1.1 | 350 |
Задание МД - 9 (а – д). Пользуясь «Марочником сталей и сплавов», выбрать марку стали для изготовления рым-болта, предназначенного для такелажных работ при монтаже конструкций и деталей различного веса (рис.1.9). Производство рым-болтов массовое.
При выборе стали использовать данные согласно выданному варианту домашнего задания (табл.1.9): основные размеры рым-болта, предел текучести сердцевины σ0,2 (не менее), ударная вязкость KCU (не менее).
Обосновать сделанный выбор стали, рекомендовать упрочняющую обработку рым-болта, которая обеспечит его работоспособность в предлагаемых условиях.
а б
Рис. 1.9. Рым-болт:
а –общий вид рым-болта; б – эскиз рым-болта
Исходные данные Таблица 1.9
| Вариант | d, мм | d1, мм | d2, мм | σ0,2, МПа | KCU, Дж/см2 |
| а | 8 | 36 | 20 | 500 | 130 |
| б | 18 | 63 | 35 | 900 | 70 |
| в | 24 | 90 | 50 | 1050 | 100 |
| г | 36 | 126 | 70 | 1000 | 90 |
| д | 48 | 162 | 90 | 900 | 60 |
Задание МД - 10 (а – д). Пользуясь «Марочником сталей и сплавов», выбрать марку стали для изготовления оси колеса велосипеда дорожно- шоссейного класса (рис.1.10). Производство осей серийное.
При выборе стали использовать данные согласно выданному варианту домашнего задания (табл.1.10): основные размеры оси, твёрдость поверхности HRC в указанных пределах, предел текучести сердцевины σ0,2 (не менее), ударная вязкость KCU (не менее).
Обосновать сделанный выбор стали, рекомендовать упрочняющую обработку оси, которая обеспечит её работоспособность в предлагаемых условиях.
Исходные данные Таблица 1.10
| Вариант | d1, мм | d2, мм | L, мм | HRC | σ0,2, МПа | KCU, Дж/см2 |
| а | 10 | 16 | 140 | 51 – 54 | 750 | 100 |
| б | 12 | 17 | 150 | 51 – 54 | 650 | 130 |
| в | 14 | 19 | 150 | 49 – 52 | 850 | 130 |
| г | 18 | 23 | 180 | 48 – 53 | 750 | 160 |
| д | 20 | 24 | 200 | 54 – 57 | 760 | 80 |
Задание МД - 11 (а – д). Пользуясь «Марочником сталей и сплавов», выбрать марку стали для изготовления валика приводной цепи эскалатора (рис.1.11). Производство валиков серийное.
При выборе стали использовать данные согласно выданному варианту домашнего задания (табл.1.11): основные размеры валика, твёрдость поверхности HRC в указанных пределах, предел текучести сердцевины σ0,2 (не менее).
Обосновать сделанный выбор стали, рекомендовать упрочняющую обработку валика, которая обеспечит его работоспособность в предлагаемых условиях.
| а | б |
| Рис. 1.11. Валик приводной цепи эскалатора: а – общий вид фрагмента приводной цепи; б – эскиз валика | |
Исходные данные Таблица 1.11
| Вариант | D, мм | L, мм | HRC | σ0,2, МПа |
| а | 15 | 60 | 60 – 62 | 1150 |
| б | 19 | 58 | 45 – 50 | 730 |
| в | 25 | 105 | 52 – 54 | 920 |
| г | 46 | 150 | 51 – 54 | 1100 |
| д | 65 | 200 | 54 – 56 | 780 |
Задание МД - 12 (а – д). Пользуясь «Марочником сталей и сплавов», выбрать марку стали для изготовления шкива клиноременной передачи привода генератора (рис.1.12). Производство шкивов серийное.
При выборе стали использовать данные согласно выданному варианту домашнего задания (табл.1.12): основные размеры шкива, предел текучести сердцевины σ0,2 (не менее), твёрдость сердцевины HB (не менее). Обосновать сделанный выбор стали, рекомендовать упрочняющую обработку шкива, которая обеспечит его работоспособность в
предлагаемых условиях.
Исходные данные Таблица 1.12
| Вариант | D, мм | d, мм | L, мм | σ0,2, МПа | HB |
| а | 52 | 20 | 42 | 900 | 300 |
| б | 66 | 24 | 47 | 1100 | 360 |
| в | 90 | 30 | 54 | 1200 | 380 |
| г | 102 | 32 | 58 | 1050 | 300 |
| д | 134 | 36 | 60 | 950 | 280 |
Задание МД - 13 (а – д). Пользуясь «Марочником сталей и сплавов», выбрать марку стали для изготовления пластины тяжелонагруженной приводной роликовой цепи эскалатора (рис.1.13). Производство пластин серийное.








