08-04-2020-Учебное-пособие-по-матведу (821178)
Текст из файла
Факультет «Машиностроительные технологии» Кафедра «Материаловедение»
Учебное пособие
Д.В. Власова, И.Ю. Сапронов, О.М. Ховова
КОМПЛЕКТ ДОМАШНИХ ЗАДАНИЙ ПО КУРСУ «МАТЕРИАЛОВЕДЕНИЕ»
УДК 621.785
ББК 34.651
Рецензент А.Т. Каменихин
Власова Д.В., Сапронов И.Ю., Ховова О.М.
Комплект домашних заданий по курсу «Материаловедение»: учебное пособие – М : Издательство МГТУ им. Н.Э. Баумана, 2017.
Представлен комплект из 18 домашних заданий по общему курсу
«Материаловедение». На примере подробно рассмотрены содержание и последовательность основных этапов выполнения домашнего задания с использованием специальной справочной литературы – «Марочников сталей и сплавов». Приведены требования к оформлению отчёта по выполненному заданию и указан порядок его защиты.
Для студентов машиностроительных специальностей инженерного направления подготовки.
Рекомендовано Учебно-методической комиссией НУК МТ МГТУ им. Н.Э. Баумана.
ПРЕДИСЛОВИЕ
В учебном пособии представлены комплект домашних заданий по общему курсу «Материаловедение» и методические рекомендации по их выполнению. Пособие предназначено для студентов машиностроительных специальностей инженерного направления подготовки МГТУ им. Н.Э. Баумана. В прежних изданиях кафедра публиковала только методические указания по выполнению домашнего задания, а сами задания разрабатывались как отдельные комплекты разными авторами. Отсутствие единого методического подхода затрудняло работу студентов при выполнении домашнего задания.
Домашнее задание предлагает студенту сделать обоснованный выбор марки стали для изготовления конкретного изделия и рекомендовать для неё упрочняющую термическую обработку. В данном учебном пособии комплект домашних заданий представлен в новой версии: в каждом задании впервые приводится эскиз детали (при подборе объектов авторы использовали известные Атласы деталей машин). Кроме того, применительно к каждому изделию предусмотрено пять вариантов задания, отличающихся исходными данными по размерным параметрам детали, по уровню требований к структуре или к механическим свойствам материала. Такой методический приём расширяет диапазон возможных инженерных решений, предполагает развитие у студентов аналитического подхода к выбору материала или режима его упрочняющей обработки. В общей сложности комплект включает 18 заданий, что с учётом вариантов (всего 90 заданий) позволяет его использовать и для студентов одной группы, и в потоке из 3-5 групп.
Наряду с комплектом заданий в пособии даны подробные методические рекомендации по их выполнению, в первую очередь касающиеся работы студентов с особым видом справочной технической
литературы – с марочниками сталей и сплавов. Такой подход имеет
принципиальное значение. Выполняя домашнее задание, студенты знакомятся с информацией о материалах, представленной в марочнике, приобретают необходимые навыки работы с таким видом литературы и применяют эти навыки на практике. Приобретение таких навыков на профессиональном уровне является главной целью выполнения домашнего задания.
В методических рекомендациях на условном примере детально рассмотрены последовательность и содержание основных этапов выполнения задания. В пособии подробно изложены требования к оформлению и защите выполненного домашнего задания.
СПИСОК ОБОЗНАЧЕНИЙ
σ0,2, МПа – условный предел текучести; KCU, Дж/см2 – ударная вязкость;
HB – твердость по шкале Бринеля; HRC – твердость по шкале Роквелла; HV – твердость по шкале Виккерса; Δh, мм – глубина упрочненного слоя.
ВВЕДЕНИЕ
В Программе общего курса «Материаловедение», изучаемого студентами всех машиностроительных и приборостроительных специальностей инженерного профиля, предусмотрено выполнение домашнего задания. Домашнее задание представляет собой несложную типичную инженерную задачу, связанную с выбором марки материала для изготовления предлагаемого изделия и разработку принципиальной технологии его упрочняющей термической обработки.
В условиях реального промышленного производства принят следующий порядок выполнения подобной задачи. Вначале инженер- конструктор изделия проводит обоснованный выбор и назначает наиболее подходящую марку материала, а затем уже инженер-технолог разрабатывает для него режимы упрочняющей термической обработки. Такой подход позволяет в комплексе обеспечить и возможность изготовления изделия по самой рациональной технологии, и возможность получения в изделии требуемых эксплуатационных свойств. В учебном домашнем задании предусмотрено условное объединение этих функций конструктора и технолога: решается комплексная задача по выбору материала и технологии его упрочнения для распространённых видов деталей машин или инструмента.
Главная цель такого домашнего задания – познакомить студентов с особым видом справочной технической литературы – с марочниками сталей и сплавов с тем, чтобы они смогли приобрести практические навыки работы с марочниками и применить полученные навыки при решении типичной инженерной задачи. Умение работать с марочниками – обязательный элемент инженерной подготовки, поскольку в инженерной практике именно эти издания используются для решения различных задач.
В каждом домашнем задании студенту предстоит обосновать и
выбрать марку стали для конкретного изделия, эскиз которого приводится,
с учётом его геометрии и требуемых характеристик. Кроме того, для выбранной стали необходимо обосновать и рекомендовать упрочняющую термическую (или химико-термическую) обработку, которая будет гарантировать работоспособность детали в условиях эксплуатации.
В качестве предлагаемых изделий для домашних заданий отобраны типичные детали машино- и приборостроения, поэтому принципиально важно, что на многих факультетах предметы «Материаловедение» и
«Детали машин» изучаются параллельно.
При выполнении домашнего задания студент обязательно должен продемонстрировать определённый уровень общей инженерной эрудиции, уже полученный при изучении наряду с «Материаловедением» таких базовых инженерных дисциплин, как «Сопротивление материалов» и
«Детали машин». Вначале необходимо представить и проанализировать условия работы изделия, определить характер нагружения отдельных его зон и выявить среди них наиболее проблемные, определяющие работоспособность изделия в целом. Кроме того, студенту важно владеть основными представлениями о взаимосвязи между структурой и свойствами сталей. Исходя из условий работы изделия и ориентируясь на материалы лекций или учебника [6], можно определить то структурное состояние стали, которое обеспечит нужный уровень свойств и работоспособность изделия в предлагаемых условиях эксплуатации. Соответственно, по требуемому структурному состоянию стали можно установить типичный класс сталей и возможные пути реализации в нём требуемых свойств.
Ориентируясь на выбранный класс сталей, студент уже может провести поиск наиболее оптимальной марки стали, в полной мере, удовлетворяющей всем исходным данным задания и рекомендовать для неё принципиальный режим упрочняющей термической обработки.
Именно эта основная часть задания и должна выполняться с использованием марочников сталей и сплавов.
Марочники сталей и сплавов подготовлены разными авторскими коллективами, но в главном они имеют одинаковую концепцию. В марочниках размещена самая необходимая информация о нескольких сотнях марок сталей и сплавов, наиболее широко применяющихся в машино- и приборостроении. Важно, что все представленные сведения о материалах чётко структурированы и систематизированы, поэтому пользоваться «Марочником» очень удобно. Конкретную марку стали или сплава найти по оглавлению очень легко, поскольку расположение материалов в пределах каждого раздела представлено в единой логике по мере усложнения их химического состава.
Все материалы в марочниках сгруппированы по наиболее типичному их применению, причём принцип изложения информации – единый. По каждому материалу приведён марочный химический состав (включая содержание примесных элементов, что очень важно для оценки качества стали и её цены), представлен основной выпускаемый промышленностью сортамент по ГОСТ или ТУ, приведены температуры фазовых превращений, комплекс свойств после различных вариантов обработки. Здесь же представлены свойства материала для разных условий испытания (для повышенных и пониженных температур эксплуатации, для циклического или ударного нагружения), основные технологические характеристики, включая прокаливаемость сталей и их склонность к отпускной хрупкости. В марочниках также даются рекомендации наиболее типичного применения каждой стали и возможные её аналоги-заменители, что помогает пользователю точно сориентироваться при выборе материала для заданной детали. При выборе стали вполне может быть учтён и такой важный аспект задания как характер производства детали (массовое, крупносерийное или единичное), который прямо связан с ценой
применяемого материала. Важные ориентиры при таком выборе – это подбор стали с менее дефицитными легирующими элементами, а также с соответствующим качеством её выплавки. Таким образом, марочники содержат все основные сведения о конструкционных и инструментальных материалах, которые необходимы для решения большинства инженерных задач, а значит и для выполнения предлагаемого домашнего задания. Работа с «Марочником» подробно разобрана на условном примере в
«Методических рекомендациях по выполнению домашнего задания», представленных в настоящем Учебном пособии.
Таким образом, выполнение предлагаемого домашнего задания, связанного с решением типичной инженерной задачи, должно способствовать формированию у студента инженерного мышления, развивать аналитический подход и умение применять в комплексе знания, полученные при изучении смежных базовых инженерных дисциплин.
-
КОМПЛЕКТ ЗАДАНИЙ
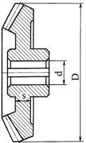
Задание МД - 1 (а – д). Пользуясь «Марочником сталей и сплавов», выбрать марку стали для изготовления зубчатого колеса редуктора ручной строительной лебёдки (рис.1.1). Производство лебёдок серийное.
При выборе стали использовать данные согласно выданному варианту домашнего задания (табл.1.1): основные размеры зубчатого колеса, твердость поверхности зубьев HRC, глубина упрочненного слоя Δh, твёрдость сердцевины НВ в указанных пределах.
Обосновать сделанный выбор стали, рекомендовать упрочняющую обработку зубчатого колеса, которая обеспечит его работоспособность в предлагаемых условиях.
|
| |
| а | б |
| Рис. 1.1. Зубчатое колесо редуктора ручной строительной лебедки: а – общий вид зубчатого зацепления; б – эскиз зубчатого колеса | |
Исходные данные Таблица 1.1
| Вариант | D, мм | d, мм | s, мм | Δh, мм | HRC | HB |
| а | 350 | 52 | 35 | 1.0 – 1.2 | 59 – 63 | 160 – 175 |
| б | 250 | 40 | 28 | 0.8 – 1.0 | 56 – 60 | 150 – 155 |
| в | 270 | 45 | 30 | 0.7 – 0.8 | 58 – 61 | 148 – 160 |
| г | 450 | 75 | 50 | 1.2 – 1.4 | 59 – 60 | 270 – 290 |
| д | 700 | 130 | 85 | 1.6 – 1.8 | 58 – 62 | 280 – 300 |
Задание МД - 2 (а – д). Пользуясь «Марочником сталей и сплавов», выбрать марку стали для изготовления шлицевого вала привода рулевого управления автомобиля (рис.1.2). Производство автомобилей крупносерийное.
При выборе стали использовать данные согласно выданному варианту домашнего задания (табл.1.2): основные размеры шлицевого вала, твердость шлицевой поверхности HRC в указанных пределах, предел текучести сердцевины σ0,2 (не менее).
Обосновать сделанный выбор стали, рекомендовать упрочняющую обработку шлицевого вала, которая обеспечит его работоспособность в предлагаемых условиях.
| | |
| а | б |
| Рис. 1.2. Шлицевой вал привода рулевого управления автомобиля: а – общий вид шлицевого соединения; б – эскиз шлицевого вала | |
Исходные данные Таблица 1.2
| Вариант | D, мм | L, мм | HRC | σ0,2, МПа |
| а | 40 | 450 | 50 – 52 | 800 |
| б | 37 | 310 | 50 – 54 | 950 |
| в | 55 | 800 | 50 – 56 | 920 |
| г | 28 | 320 | 55 – 57 | 750 |
| д | 40 | 350 | 50 – 53 | 850 |
Задание МД - 3 (а – д). Пользуясь «Марочником сталей и сплавов», выбрать марку стали для изготовления высокоточного вала-шестерни механизма перемещения рабочего стола координатно-расточного станка (рис.1.3). Производство станков мелкосерийное.
Характеристики
Тип файла документ
Документы такого типа открываются такими программами, как Microsoft Office Word на компьютерах Windows, Apple Pages на компьютерах Mac, Open Office - бесплатная альтернатива на различных платформах, в том числе Linux. Наиболее простым и современным решением будут Google документы, так как открываются онлайн без скачивания прямо в браузере на любой платформе. Существуют российские качественные аналоги, например от Яндекса.
Будьте внимательны на мобильных устройствах, так как там используются упрощённый функционал даже в официальном приложении от Microsoft, поэтому для просмотра скачивайте PDF-версию. А если нужно редактировать файл, то используйте оригинальный файл.
Файлы такого типа обычно разбиты на страницы, а текст может быть форматированным (жирный, курсив, выбор шрифта, таблицы и т.п.), а также в него можно добавлять изображения. Формат идеально подходит для рефератов, докладов и РПЗ курсовых проектов, которые необходимо распечатать. Кстати перед печатью также сохраняйте файл в PDF, так как принтер может начудить со шрифтами.








