лекция1 (775842)
Текст из файла
Лекция №1
Передатчики и станции активных помех (АП).
Основная задача РЭБ является информационное подавление РЭС, под которым понимают уменьшение количества информации в системе в условиях воздействия АП.
Рис. 1 Общая схема РЭС.
Количество информации в системе
, где
Х – информационный показатель качества (ИПК), определяющий количество применяемой принимаемой информации.
Так как количество информации на выходе детектора приемника определяется соотношением мощности сигнала и шума в соответствии с выражением:
PC↑
Imin
PC↑ - I↓
PП↓ - I↑
Для обеспечения работоспособности РЭС системе задается определенный уровень информации.
Тогда при определении уровня помех количество информации уменьшается до некоего уровня Imin, при котором РЭС теряет свою работоспособность.
При I<Imin – потеря работоспособности.
I>Imin – система сохраняет работоспособность, то есть помехоустойчива до уровня РП1.
При этом коэффициентом подавления РЭС kпод называется:
.
Н
Характеристики обнаружения РЛС представляются семейством кривых
.
Эти характеристики используются для расчета необходимых коэффициентов подавления.
Например.
Д
ля РЛС с параметрами:WЛТ=10-6
W
Рис. 3 Характеристика обнаружения РЛС.
обн=0,8θ0,5=1º
N=10 об/мин
FП=600
Коэффициент подавления, обеспечивающий снижения вероятности обнаружения в 2 раза, определяется следующим образом:
n – количество импульсов в пачке.
Рис. 5 Функциональная схема обзорной РЛС.
Рис. 6.
Основным заданием ПВО является уничтожение всех самолетов противника, участвующих в воздушном налете, который осуществляется группой самолетов-бомбардировщиков, несущих бомбовую нагрузку и передатчики помех с целью проникновения на территорию противника через системы ПВО.
Задачей ПВО является не пропуск ни одного самолета противника на свою территорию. Эта задача решается в поставленное время путем взаимодействия 3-х основных контуров системы ПВО.
Рис. 7 Основные контуры системы ПВО.
Рассмотрим структуру контуров и условие подавления РЭС этих контуров.
Рис. 8 Функциональная схема контура целераспределения.
Полученная информация поступает в систему сбора информации, которая решает задачу целеопределения, то есть определяет количество поражаемых целей с учетом готовности собственных средств поражения. Эти данные передаются центру управления и счетно-решающее устройство выбора решения, где решается задача целераспределения – соответствие любой выбранной цели определяет средства поражения. Сигнал с выхода СРУ через РЭС системы связи передается на стартовые установки средств поражения, которые дольше обрабатываются и запускаются в действие.
В условиях отсутствия помех для любой цели выбор (рассчитывается) определяет средство поражения и определяется среднее число атак n, необходимо для обеспечения заданной вероятности поражения этой цели, этим средством.
, где – W1 – вероятность поражения при 1 атаке (заданная величина).
Уменьшение информации в этом контуре может осуществляться при воздействии АП на РЛС кругового обзора при помощи маскирующей шумовой помехи и имитации. n тип ложной цели.
После завершения работы контура целераспредления начинает работу функциональный контур наведения.
Рис. 9 Функциональная схема контура наведения.
РЛС определяют угловые координаты цели Р и Ц (азимут и угол места), которые называются угловыми координаторами или РЛС АСМ (автономного сопровождения по направлению). Сигнал с выхода этих РЛС поступает в СРУ, которая определяет, расчетную точку встречи и расчетную траекторию ракеты. При отклонении ракеты от расчетной траектории СРУ вырабатывает сигнал команды, который передается на борт ракеты, дешифрируется и подается на ракеты, меняя ее траекторию.
Δ – абсолютная ошибка наведения , информационный показатель качество и контура наведения.
Рис. 10.
Помехи РЛС и помехи воздействующие на прием команд радиоэлектронного управления.
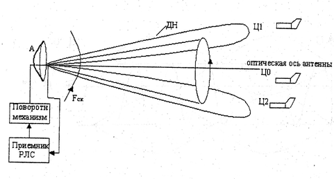
Подавление угловых координаторов осуществляется помехой прицельной по частоте сканировании. Также РЛС работает в непрерывном режиме, то есть излучая сигнал с модулированием частотой сканирования антенны. При этом ДН антенны вращается таким образом, что ось вращения совпадает с образующей кругового конуса.
Рис. 12 Коническое сканирование антенны с частотой FCК.
Рис. 13.
ПХ – АМС, который модулирован с частотой сканирования антенны.
Рис. 14 Характеристика подавления.
Помеха в КРУ заключается в искажении кода, используемого в сигнале, тогда коэффициент подавления:
Рис. 15.
ККРУ
n>2
m=n=2
Рис. 16.
После вывода ракеты в расчетную зону включается контур самонаведения.
Рис17. Функциональная схема контура самонаведения.
Подавление контура самонаведения осуществляется теми же помехами, что и контуру наведения. Контур самонаведения включается, только если промах в контуре наведения превышает радиус действия РЛС контура самонаведения.
Характеристики
Тип файла документ
Документы такого типа открываются такими программами, как Microsoft Office Word на компьютерах Windows, Apple Pages на компьютерах Mac, Open Office - бесплатная альтернатива на различных платформах, в том числе Linux. Наиболее простым и современным решением будут Google документы, так как открываются онлайн без скачивания прямо в браузере на любой платформе. Существуют российские качественные аналоги, например от Яндекса.
Будьте внимательны на мобильных устройствах, так как там используются упрощённый функционал даже в официальном приложении от Microsoft, поэтому для просмотра скачивайте PDF-версию. А если нужно редактировать файл, то используйте оригинальный файл.
Файлы такого типа обычно разбиты на страницы, а текст может быть форматированным (жирный, курсив, выбор шрифта, таблицы и т.п.), а также в него можно добавлять изображения. Формат идеально подходит для рефератов, докладов и РПЗ курсовых проектов, которые необходимо распечатать. Кстати перед печатью также сохраняйте файл в PDF, так как принтер может начудить со шрифтами.
















