148209 (730656), страница 3
Текст из файла (страница 3)
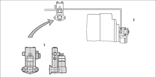
Пояснення
1 Блокуючий вентиль (в залежності від типу передавального механізму різні місця приєднання, вентилі і болти)
2 Коробка відбору потужності
Монтажна схема
Монтажна схема для пневматичної управління коробки відбору потужності
Номер замовлення.: 1238 298 911 (Несерійні)
ВКАЗІВКИ:
Відповідні деталі для установки пневматичного з'єднання від Повітрозбірники і відповідно від місця з'єднання додаткового споживача до стику коробки відбору потужності можна отримати через ЦФ станцію технічного обслуговування.
Керівництво по обслуговуванню для коробок відбору потужності пов'язаних зі зчепленням
При пневматичному управлінні перемиканням коробки відбору потужності потрібно звертати увагу на те, що при тривалих зупинках (наприклад, на ніч) коробка відбору потужності повинна бути виключена. Так як на підставі досвіду у спокої транспортного засобу тиск повітря в пристрої падає, внаслідок цього кулачкова муфта вийде із зачеплення з-за вбудованої нажимною пружини в циліндрі керуючим включенням. Як тільки тиск повітря після запуску двигуна знову підніметься, відбудеться автоматичне включення кулачковий муфти. Це спричинить за собою при працюючому двигуні пошкодження перемикання зубчастого зачеплення і внаслідок цього передчасну поломку коробки відбору потужності.
Пояснення
1 T-різьбове з'єднання 11 Лампа розжарювання
2 Вставна втулка 12 Шестигранна гайка
3 Трубка 13 Шайба
5 3/2-трехходовой двопозиційний клапан 14 Порожниста гвинт
6 Різьбове з'єднання 15 Ущільнююче кільце
7 Ущільнювальне кільце 16 Кругла деталь
9 Кабельне з'єднання 17 Порожниста гвинт
10 Сигналізатор зі світиться насадкою 18 Ущільнююче кольцоg
19 Кругла деталь
Перелік використаної літератури
-
Автомобили КАМАЗ. Руководство по ремонту, эксплуатации и техническому обслуживанию: М.: Третий Рим, 2002. – 185с.
-
Бабушко С.М. Ремонт тракторов и автомобилей. – К.: Висшая школа. 1982. – 344с.
-
Кисликов В.Ф., Лущик В.В. Будова і експлуатація автомобілів: Підручник. К.: Либідь, 2002. – 400с.
-
Специальное оборудование: - Техническая информация по автомобилям УРАЛ и КАМАЗ:.
















