148209 (730656), страница 2
Текст из файла (страница 2)
Після монтажних робіт і випробувань фахівці повинні переконатися в бездоганному функціонуванні вироби.
5. Безконтактний вимикач
При конструкції з безконтактним вимикачем зверніть увагу на:
• Контактна навантаження
Напруга перемикання: 48 В макс.
24 В - бортова електрична мережа
Струм перемикання: 0,5 A макс. омічного навантаження
Сталий струм: 0,3 A
Розривне потужність 10 Вт VA
Додатковий резистор 3,9 Ом 0,6 Вт
Тип контакту або призначення: замикає контакт закрито у поз. КОМ вкл.
• Магнітна навантаження
УВАГА
Навколо вимикача (≤ 20 мм) не повинно бути ніяких металевих деталей і магнітних полів.
Пошкодження, викликані недотриманням даної інструкції, не потрапляють під дію гарантії!
Можливі конструкції:
Конструкція "b"
З фланцем вала відбору потужності 90 мм, 4 отворами 8,1 мм (інші розміри фланця за запитом).
Конструкція "c"
Для безпосереднього приєднання насоса відповідно до стандарту ISO 7653.
(Звертати увагу на вільний хід насоса до фланця валу відбору потужності КП і карданному валу)
ВКАЗІВКИ
Можливості встановлення коробок відбору потужності ЦФ NH 1 і NL 1 на продукти ЦФ вказані на оглядовому листі стор.6.
Підготовчі роботи на КП
1 Трансмісійне масло при необхідності залишати в КП і відповідно в установленому N.../10.
2 Розбирання в порядку нумерації
3 Очистити ущільнювальну поверхню.
ВКАЗІВКИ
Стара прокладка (транспортувальна прокладка товщиною 1 мм) для встановлення насоса більше не знадобитися.
Підготовка до встановлення коробки відбору потужності NL 1 на коробки відбору потужності ЦФ N 36/10, N 221/10, N 221/10 IT та N 251/10 IT
1 Знімається кришка (1) і віддаляється розпірне кільце (2). Оглядаємо звільнилося установче місце від торця до зовнішнього кільця підшипника.
2 На перехідною корпус (3) накладається прокладка (4) і вимірюється відстань від центрувальні буртика до прокладки. Різниця двох розмірів дасть зазор 0 - 0,2 мм.
3 Розбіжності компенсуються шайбами (5) (див. таблицю).
4 Прикріпити перехідною корпус (3) з прокладкою (4).
Поз. Найменування Номер замовлення розмір
3 перехідний корпус 1250 313 191
4 прокладка 0501 315 727
5 шайба 0730 103 586 = 1,2 мм
0730 103 587 = 1,1 мм
0730 103 588 = 1,0 мм
0730 103 589 = 0,8 мм
0730 103 590 = 0,6 мм
0730 103 591 = 0,4 мм
015287
015622
Підготовка до встановлення коробки відбору потужності NL / 1 на коробки відбору потужності ЦФ N 75/10 та N 109/10
1 Знімається кришка (1) і віддаляється основна шайба, 3 мм товщиною (3), з компенсаційної шайбою (2).
Оглядаємо звільнилося установче місце від торця до зовнішнього кільця підшипника.
2 На перехідною корпус (4) накладається прокладка (5) і вимірюється відстань від центрувальні буртика до прокладки. Різниця двох розмірів дасть зазор 0,05 - 0,15 мм.
3 Розбіжності компенсуються шайбами (6) (див. таблицю).
4 Прикріпити перехідною корпус (4) з прокладкою (5).
Поз. найменування Номер замовлення / розмір
4 Перехідний корпус 1250 313 191
5 прокладка 0501 315 727
6 шайба 1232 304 115 = 2,95 мм
1232 304 118 = 3,10 мм
1232 304 096 = 3,40 мм
1232 304 099 = 3,55 мм
1232 304 102 = 3,70 мм
1232 304 105 = 3,85 мм
1232 304 108 = 4,00 мм
1232 304 110 = 4,10 мм
Вибір і установка правильного проміжного валу
A: КП Ecosplit без інтардера
16 S 151/221, 8 S 151,16 S 181,16 S 251
16 S 151/221 довжина = 213,5 мм
(Поз. 1, 2, 3, 4)
Шліцьове вал Kit Nr. kpl. 6090 142 804
16 S 251 довжина = 250 мм
Шліцьове вал Kit Nr. kpl. 6090 142 800
B: КП Ecosplit з інтардером
16 S 151/221, 8 S 151,16 S 181,16 S 251
16 S 151/221 довжина = 250 мм
(Поз. 1-10)
Шліцьове вал Kit Nr. kpl. 6090 142 819
16 S 251 довжина = 286,5 мм
Шліцьове вал Kit Nr. kpl. 6090 142 820
ВКАЗІВКИ
Проміжний вал може бути встановлений без замірів.
ВКАЗІВКИ
Різьбова заглушка M10x1 (11) вивінчівают з каналу мастила.
Пояснення
1 проміжний вал
2 шарикопідшипник
3 стопорне кільце
4 втулка
5 адаптер
6 O-подібне кільце
7 прокладка
8 вал контрпрівода
9 конічний роликовий підшипник
10 під'єднання N1
11 різьбова заглушка
08032
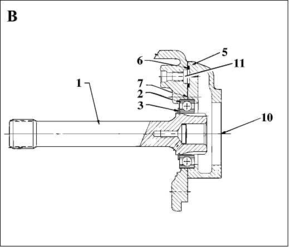
Встановлення проміжного валу в КП Ecomid
Перед установкою перевірити!
- На фірмовій табличці КП зчитується передача найшвидшої ступені:
наприклад 1,0 = пряма передача
наприклад 0,85 = прискорює передача менше ніж 1,0
- Передача визначається установкою правильного проміжного валу:
9 / 16 S 109
Пряма предеча
(Повільніше задня передача)
Прискорююча передача
Пряма передача (стара версія)
Проміжний вал 14 зубів (Kit kpl. 6090 142 011)
Проміжний вал 17 зубів (Kit kpl. 6090 142 006)
Проміжний вал 14 зубів (Kit kpl. 6090 142 007)
Пояснення
КП
1 корпус
2 зовнішнє кільце підшипника
3 кришка випадає даптерний комплект
4 проміжний вал
5 конічний роликовий підшипник
6 втулка
7 настановна шайба
Увага: При 8 S 109 консультуватися із сервісною організацією.
9 S 75 = Проміжний вал 16 зубів
(Kit kpl. 6090 142 008)
ВКАЗІВКИ
У КП (1) зовнішнє кільце підшипника вже заздалегідь вмонтовано і захищено чотириразовим врізання корпусу.
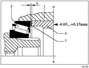
Конічний роликовий підшипник обмірити і встановити
У процесі вимірювання і відповідно установки обидва конічних роликових підшипника повинні бути без зазору, однак без осьового попереднього натягу. Беззазорний стан конічних роликів досягається натиском зовнішнього кільця підшипника з боку валу відбору потужності при одночасному багаторазовому прокручуванні проміжного вала. Товщина "S" встановлюється такий, щоб втулка по відношенню до площини корпусу заглиблювалася на макс. 0,05 мм або виступала на макс. 0,15 мм.
ОБЕРЕЖНО
З установкою адаптерний комплекту повинна одночасно встановлюватися коробка відбору потужності.
ВКАЗІВКИ
Настановні шайби поставляються наступних товщин "S":
0730 004 700 = 0,80 мм
0730 004 703 = 0,95 мм
0730 002 943 = 1,10 мм
0730 004 706 = 1,25 мм
0730 002 940 = 1,40 мм
0730 002 939 = 1,50 мм
0730 002 938 = 1,60 мм
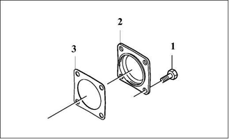
Установка конструкції "b"
ВКАЗІВКИ
Перед установкою коробки відбору потужності NH / 1 обов'язково зверніть увагу: настановні штифти для закріплення коробки відбору потужності додаються до незакріплений коробці відбору потужності.
ОБЕРЕЖНО
Настановні штифти з короткою різьбовий частиною ввернути в корпус КП відповідно до DIN (див. малюнок). При застосуванні інтардера використовувати тільки DIN 939 (10.9).
1 Якщо корпус КП з наскрізною різьбою, ввірчує різьблення інсталяційного штифта постачають прокладкою Nr.241.
2 4 настановних штифта (1) M 12 угвинчують в різьбу місця встановлення.
Момент затягування = 18 Нм
3 Голчатий підшипник (3) встановити в отвір для підшипника вала проміжного і відповідно вихідного валу. Ширина голчастої підшипника при:
NH 1 + NL 1 приб. 16 мм
NL 1 при установці на N. 10 приб. 12 мм
4 Коробку відбору потужності (4) з новою прокладкою (2) приставити до установчого місцем.
5 Коробку відбору потужності закріпити 4 шестигранними гайками і шайбами (5).
Момент затягування = 65 Нм
ОБЕРЕЖНО
Контролювати рівень масла в КП, при необхідності доливати і затискати масляні пробки з певною силою.
019233
Поз. Найменування Номер замовлення.
1 Установчий штифт Див Таблицю стор.6
2 прокладка 6090 301 009
3 Голчатий роликовий підшипник 0735 320 120 0635 300 528 (при N.../10)
5 гайка шайба 0737 006 005 0730 105 493
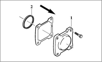
Установка конструкції "з"
Без вихідного валу для прямого під'єднання насоса.
1 Підготовка:
Видалити з коробки відбору потужності транспортувальне кріплення.
2 Коробку відбору потужності (3) з новою прокладкою (4) приставити до насоса.
3 4 настановних штифта (1) M 12 угвинчують в різьбу місця встановлення.
Момент затягування = 18 Нм
4 Насос і коробку відбору потужності з новою прокладкою (2) насадити і пригвинтити 4 шестигранними гайками (5) з шайбами.
Момент затягування = 65 Нм
ВКАЗІВКИ
Конструкція "c" не містить голчастого підшипника.
ВКАЗІВКИ
Якщо установка насоса відбувається пізніше, вгвинчуються настановні штифти (1) у місце установки, насаджується коробка відбору потужності (3) з прокладкою (2) і закривається транспортувальній кришкою (6) з прокладкою. Транспортувальна кришка може бути замовлена додатково, якщо її немає в наявності.
Момент затягування, настановні штифти M12 = 18 Нм Момент затягування.
Поз. найменування Номер замовлення.
1 Установчий штифт siehe Tabelle Seite 6
2 прокладка 6090 301 009
4 прокладка 6090 301 009
5 гайка шайба 0737 006 005 0730 105 493
Блокування руху
Для коробки відбору потужності пов'язаної зі зчепленням для КП - S 6 36 / S 6-36/2 6S850 9S75 9S 109/16 S 109 / 8S109 16 S 151 / 8 S 151 / 16 S 181 16 S 221/16 S 251
ВКАЗІВКИ
Для деяких транспортних засобів повинно забезпечуватися, щоб при включеній коробці відбору потужності не відбувалося руху і відповідно коробка відбору потужності не повинна бути включена, до тих пір, поки рух застопорився.
Тому для всіх коробок відбору потужності пов'язаних зі зчеплення поставляється пневматична блокувальна система руху ЦФ. Блокувальна система гальмує систему тяг і важелів управління механізмом перемикання і оберігає транспортний засіб від неправильної експлуатації.
















