147878 (730596)
Текст из файла
Министерство образования Российской Федерации
Санкт-Петербургский государственный университет
сервиса и экономики
Автотранспортные средства
Реферат
Тема: «Система смазки и охлаждения двигателя автомобиля»
Выполнил студент 3-ого курса
Специальность 100.101
Иванов В.И.
Санкт-Петербург
2010
Содержание
1. Смазочная система
1.1 Назначение и характеристика
1.2. Конструкция и работа смазочной системы
1.3 Вентиляция картера двигателя
2. Система охлаждения
2.1 Назначение и характеристика. Системой охлаждения называется
2.2 Конструкция и работа жидкостной системы охлаждения
Список использованной литературы
1. Смазочная система
1.1 Назначение и характеристика
Смазочной называется система, обеспечивающая подачу масла к трущимся деталям двигателя. Смазочная система служит для уменьшения трения и изнашивания деталей двигателя, для охлаждения и коррозионной защиты трущихся деталей и удаления с их поверхностей продуктов изнашивания.
Рис. 1. Типы смазочных систем, классифицированных по различным признакам
В двигателях автомобилей применяется комбинированная смазочная система различных типов (рис. 1). Комбинированной называется смазочная система, осуществляющая смазывание деталей двигателя под давлением и разбрызгиванием. Давление создается масляным насосом, а разбрызгивают масло коленчатый вал и другие быстровращающиеся детали двигателя. Под давлением смазываются наиболее нагруженные трущиеся детали двигателей — коренные и шатунные подшипники коленчатого вала, опорные подшипники распределительного вала, подшипники вала привода масляного насоса и др. Разбрызгиванием смазываются стенки цилиндров, поршни, поршневые кольца, поршневые пальцы, детали газораспределительного механизма, его цепного или шестеренного привода и другие детали двигателей. В двигателях со смазочной системой без масляного радиатора охлаждение масла, которое нагревается в процессе работы, происходит в основном в масляном поддоне. При наличии в смазочной системе масляного радиатора охлаждение масла осуществляется и в масляном поддоне, и в масляном радиаторе, который включается в работу при длительном движении автомобиля с высокими скоростями и при эксплуатации автомобиля летом. В смазочной системе с открытой вентиляцией картера двигателя картерные газы, состоящие из горючей смеси и продуктов сгорания, удаляются в окружающую среду. При закрытой вентиляции картера двигателя картерные газы принудительно удаляются в цилиндры двигателя на догорание, что предотвращает попадание газов в салон кузова легкового автомобиля и уменьшает выброс ядовитых веществ в окружающую среду. Для смазывания двигателей автомобилей применяют специальные моторные масла минерального происхождения, которые получают из нефти, а также синтетические. Марки моторных масел весьма разнообразны. Их основными свойствами являются вязкость, Маслянистость и чистота (отсутствие механических примесей и кислот). Вязкость характеризует чистоту масла, его текучесть и способность проникать в зазоры между трущимися деталями. Маслянистость характеризует свойство масла обволакивать трущиеся детали масляной пленкой. Для повышения качества моторных масел к ним добавляют специальные присадки, повышающие смазывающие свойства масел.
1.2 Конструкция и работа смазочной системы
На рис. 2 представлена смазочная система двигателя легкового автомобиля ВАЗ. Смазочная система комбинированная, без масляного радиатора и с закрытой вентиляцией картера двигателя. Смазочная система включает в себя масляный поддон, масляный насос с редукционным клапаном и маслоприемником, масляный фильтр, маслопроводы (каналы в головке и блоке цилиндров, коленчатом и распределительном валах), заливную горловину и указатель уровня масла. Масло заливают в поддон 12 через горловину 3 и его количество контролируют специальным стержнем 8, конец которого находится в масляной ванне.
Рис. 2. Смазочная система двигателя легкового автомобиля:
/ — вал; 2, 4 — каналы; 3 – горловина; 5 — лампа; 6 — датчик; 7 — магистраль; 8 — стержень; 9 — фильтр; 10 — насос; 11 — маслоприемник; 12 — поддон
При работе двигателя масло забирается из поддона насосом 10 через маслоприемник 11 и по приемному каналу в блоке цилиндров подается в фильтр 9, который включен в главную масляную магистраль 7 последовательно. Из фильтра масло через главную магистраль и канал в блоке цилиндров под давлением поступает соответственно к коренным подшипникам коленчатого вала и переднему подшипнику вала 1 привода масляного насоса, а также к заднему подшипнику по центральному каналу вала. Максимальное давление масла, создаваемое насосом, ограничивается редукционным клапаном, установленным в масляном насосе.
При засорении фильтра масло поступает в главную масляную магистраль, минуя фильтр, через перепускной клапан, который установлен в фильтре. От коренных подшипников масло через внутренние каналы коленчатого вала подается к шатунным подшипникам и от них через отверстия в нижних головках шатунов разбрызгивается на стенки цилиндров.
Поршневые кольца и поршневые пальцы смазываются маслом, снимаемым со стенок цилиндров, и масляным туманом, находящимся внутри двигателя. К центральному опорному подшипнику распределительного вала масло из фильтра под давлением поступает через главную магистраль 7, канал 4 и канавку в опоре в центральный канал 2 распределительного вала и из него к другим опорным подшипникам и кулачкам вала. Звездочка и цепь привода распределительного вала смазываются маслом, вытекающим из переднего опорного подшипника вала. Стержни клапанов, направляющие втулки и другие детали клапанов смазываются маслом, разбрызгиваемым механизмами двигателя при их работе. Отработавшее масло стекает в поддон картера двигателя. Давление масла в смазочной системе контролируется контрольной лампой 5, датчик 6 которой установлен на блоке цилиндров двигателя. Масляный поддон является резервуаром для масла. Он закрывает двигатель снизу, и в нем масло охлаждается. Масляный поддон 12 — стальной, штампованный. Внутри поддона имеется специальная перегородка, уменьшающая колебания масла при движении автомобиля. Поддон крепится к нижнему торцу блока цилиндров (к картеру) через уплотнительную прокладку, изготовленную из пробкорезиновой смеси. Он имеет резьбовое отверстие с пробкой, предназначенное для слива масла. Масляный насос подает масло под давлением к трущимся поверхностям деталей двигателя. На двигателях применяют масляные насосы шестеренного типа с установленным в насосе редукционным клапаном, отрегулированным на давление 0,45 МПа и не подлежащим регулировке в процессе эксплуатации.
Масляный насос двигателя (рис. 3) имеет две шестерни наружного зацепления. К корпусу 7насоса через крышку 5прикреплен маслоприемный патрубок 2 с фильтрующей сеткой 1 и редукционным клапаном 3. Ведущая шестерня 8 напрессована на ведущем валу 10 насоса. Ведомая шестерня 6 свободно вращается на оси Р, запрессованной в корпусе насоса. При вращении шестерен создается разрежение, масло через фильтрующую сетку и патрубок поступает под крышку 5 насоса и через отверстие в крышке — в полость разрежения корпуса насоса. Масло, заполняющее впадины между зубьями шестерен, переносится в полость нагнетания, а оттуда поступает в приемный канал блока цилиндров двигателя. При повышении давления масла в смазочной системе более допустимого редукционный клапан 3 открывается, перепуская при этом часть масла из полости нагнетания в маслоприемный патрубок 2, и давление в системе не повышается. Давление открытия редукционного клапана не регулируется. Оно обеспечивается его пружиной 4. Ведущему валу 10 насоса вращение передается с помощью шестерни 11 вала привода масляного насоса, который приводится цепной передачей от коленчатого вала двигателя. Масляный насос установлен внутри масляного поддона и прикреплен двумя болтами к блоку цилиндров.
Рис. 3. Масляный насос с шестернями наружного зацепления:
1 — сетка; 2 — патрубок; 3 — клапан; 4 — пружина; 5 — крышка; 6, 8, 11 — шестерни; 7 — корпус; 9 — ось; 10 — вал
Рис. 4. Масляный насос с шестернями внутреннего зацепления: 1 — корпус; 2, 3 — шестерни; 4 — клапан; 5 — пружина; 6 — манжета; 7 — крышка; 8 — маслоприемник; 9 — выступ; 10 — вал
Масляный насос другого типа (рис. 4) имеет две шестерни внутреннего зацепления. Он состоит из корпуса 1, крышки 7, ведущей 3 и ведомой 2 шестерен, маслоприемника 8 и редукционного клапана 4. Корпус насоса отлит из чугуна. Он имеет две полости (всасывания и нагнетания), которые разделены между собой выступом 9. Ведущая и ведомая шестерни изготовлены из спеченного материала и размещены внутри корпуса. Ведущая шестерня 3 установлена на переднем конце коленчатого вала 10, который уплотняется в крышке насоса манжетой 6. К корпусу прикреплены маслоприемник с фильтрующей сеткой и крышка. Крышка 7 насоса отлита из алюминиевого сплава. В ней размещен редукционный клапан 4, давление срабатывания которого обеспечивается пружиной 5. При вращении шестерен масло через маслоприемник поступает во всасывающую полость насоса. Оно заполняет впадины между зубьями шестерен, переносится в полость нагнетания и под давлением направляется в приемный канал блока цилиндров. Редукционный клапан срабатывает при возрастании давления выше допустимого и перепускает часть масла из нагнетательной полости насоса во всасывающую. Подача насоса равна 34 л/мин при частоте вращения ведущей шестерни 6000 мин -1, а создаваемое Давление — 0,5 МПа. Масляный фильтр очищает масло от твердых частиц (продуктов износа трущихся деталей, нагара и т.п.), так как они вызывают повышенное изнашивание деталей и засоряют масляные магистрали.
Рис. 5. Масляный фильтр; 1 — корпус; 2 — днище; 3, 5 — клапаны; 4, 6 — отверстия; 7 — кольцо; 8— крышка; 9 — фильтрующий элемент
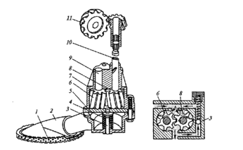
На легковых автомобилях применяется масляный фильтр полнопоточный (пропускает все нагнетаемое масло), неразборный, с перепускным и противодренажным клапанами. В корпусе 1 фильтра (рис. 5) находится бумажный фильтрующий элемент 9 со специальной вставкой из вискозного волокна. Нагнетаемое насосом масло поступает через отверстия о в днище z в наружную полость фильтра, проходит через поры фильтрующего элемента 9, очищается в нем и выходит в масляную магистраль блока цилиндров из центральной части фильтра через отверстие 4. Вставка фильтрующего элемента очищает масло при пуске холодного двигателя, когда оно не может пройти через поры бумажного фильтрующего элемента. При сильном загрязнении фильтра, а также при повышенной вязкости масла (при низких температурах) открывается перепускной клапан 5 масляного фильтра, имеющий пружину, и неочищенное масло из фильтра поступает в масляную магистраль. Противодренажный клапан 3, выполненный в виде манжеты из специальной маслостойкой резины, пропуская масло в фильтр, предотвращает вытекание его из смазочной системы в масляный поддон при неработающем двигателе. Это позволяет ускорить подачу масла к трущимся поверхностям деталей двигателя после его пуска. Масляный фильтр крепится к блоку цилиндров на специальном резьбовом штуцере, для чего в днище фильтра имеется резьбовое отверстие 4. Резиновое кольцо 7, надетое на крышку 8, обеспечивает герметичность установки фильтра на блоке цилиндров двигателя. Для эффективной очистки масла фильтр заменяют при смене масла в двигателе. На автомобилях широкое применение также имеют фильтры центробежной очистки масла, или центрифуги. В центрифуге очистка масла производится за счет центробежных сил, которые отбрасывают механические примеси к стенкам вращающегося ротора. В корпусе 3 (рис. 6) фильтра с крышкой 6 неподвижно закреплена ось / с внутренним каналом и выходными отверстиями. На оси на радиально-упорном подшипнике 8 и двух втулках установлен ротор 4 с колпаком 5, фильтрующей сеткой 7 и жиклерами 2, выходные отверстия которых направлены в противоположные стороны.
Характеристики
Тип файла документ
Документы такого типа открываются такими программами, как Microsoft Office Word на компьютерах Windows, Apple Pages на компьютерах Mac, Open Office - бесплатная альтернатива на различных платформах, в том числе Linux. Наиболее простым и современным решением будут Google документы, так как открываются онлайн без скачивания прямо в браузере на любой платформе. Существуют российские качественные аналоги, например от Яндекса.
Будьте внимательны на мобильных устройствах, так как там используются упрощённый функционал даже в официальном приложении от Microsoft, поэтому для просмотра скачивайте PDF-версию. А если нужно редактировать файл, то используйте оригинальный файл.
Файлы такого типа обычно разбиты на страницы, а текст может быть форматированным (жирный, курсив, выбор шрифта, таблицы и т.п.), а также в него можно добавлять изображения. Формат идеально подходит для рефератов, докладов и РПЗ курсовых проектов, которые необходимо распечатать. Кстати перед печатью также сохраняйте файл в PDF, так как принтер может начудить со шрифтами.















