147878 (730596), страница 3
Текст из файла (страница 3)
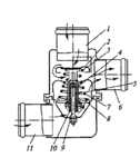
Рис. 12. Жидкостный насос (а) и вентилятор (б) двигателя: 1 — крыльчатка; 2 — корпус; 3 — окно; 4 — крышка; 5 — подшипник; 6 — вал; 7 — ступица; 8 — винт; 9 — уплотнительное устройство; 10 — патрубок; 11, 13,14 — шкивы; 12 — ремень; 13 — вентилятор; 16 — накладка; 17 — болт
Рассмотрим устройство насоса, привод которого осуществляется зубчатым ремнем (рис. 13). Вал 4 насоса установлен в корпусе 5 из алюминиевого сплава в неразборном двухрядном шариковом подшипнике 3. Подшипник стопорится в корпусе винтом 2 и уплотняется специальным устройством 6, включающим в себя графитокомпозитное кольцо и манжету. На переднем конце вала напрессован зубчатый шкив 1 из спеченного материала, а на заднем конце — крыльчатка 8. В крыльчатке сделаны два сквозных отверстия 7, которые соединяют между собой полости с охлаждающей жидкостью, расположенные по обе стороны крыльчатки. Благодаря этим отверстиям выравнивается давление охлаждающей жидкости на крыльчатку с обеих сторон, что исключает осевые нагрузки на вал насоса при его работе. Вал насоса приводится во вращение через шкив 1 зубчатым ремнем привода распределительного вала от коленчатого вала. При вращении вала жидкость поступает к центру крыльчатки и под действием центробежной силы направляется в рубашку охлаждения двигателя. Насос крепится корпусом к блоку цилиндров двигателя через уплотнительную прокладку. Термостат способствует ускорению прогрева двигателя и регулирует в определенных пределах количество охлаждающей жидкости, проходящей через радиатор. Термостат представляет собой автоматический клапан. В двигателях автомобилей применяют неразборные двухклапанные термостаты с твердым наполнителем.
Рис. 13. Жидкостный насос двигателя: 1 — шкив; 2 — винт; 3 — подшипник; 4 — вал; 5 — корпус; 6 — уплотнительное устройство; 7 — отверстие; 8 — крыльчатка
Термостат (рис. 14) имеет два входных патрубка 1 и 11, выходной патрубок 6, два клапана (основной 8, дополнительный 2) и чувствительный элемент. Термостат установлен перед входом в насос охлаждающей жидкости и соединяется с ним через патрубок 6. Через патрубок 1 термостат соединяется с головкой блока цилиндров двигателя, а через патрубок 11 — с нижним бачком радиатора.
Рис. 14. Термостат
Чувствительный элемент термостата состоит из баллона 4, резиновой диафрагмы 5 и штока 9. Внутри баллона между его стенкой и резиновой диафрагмой находится твердый наполнитель 10 (мелкокристаллический воск), обладающий высоким коэффициентом объемного расширения. Основной клапан 8 термостата с пружиной начинает открываться при температуре охлаждающей жидкости более 80 °С. При температуре менее 80 °С основной клапан закрывает выход жидкости из радиатора, и она поступает из двигателя в насос, проходя через открытый дополнительный клапан 2 термостата с пружиной 3. При возрастании температуры охлаждающей жидкости более 80 С в чувствительном элементе плавится твердый наполнитель, и объем его увеличивается. Вследствие этого шток 9 выходит из баллона 4, и баллон перемещается вверх. Дополнительный клапан 2 при этом начинает закрываться и при температуре более 94 С перекрывает проход охлаждающей жидкости от двигателя к насосу. Основной клапан 8 в этом случае открывается полностью, и охлаждающая жидкость циркулирует через радиатор. Расширительный бачок служит для компенсации изменений объема охлаждающей жидкости при колебаниях ее температуры и для контроля количества жидкости в системе охлаждения. Он также содержит некоторый запас охлаждающей жидкости на ее естественную убыль и возможные потери. На автомобилях применяют полупрозрачные пластмассовые бачки с заливной горловиной, закрываемой пластмассовой пробкой. Через горловину система заполняется охлаждающей жидкостью, а через клапаны, размещенные в пробке, осуществляется связь внутренней полости бачка и системы охлаждения с атмосферой. В пробке расширительных бачков часто имеется один резиновый клапан, срабатывающий при давлении, близком к атмосферному. При сливе охлаждающей жидкости из системы пробку снимают с расширительного бачка. Расширительный бачок размещается в подкапотном пространстве отделения двигателя, где крепится к кузову автомобиля. Радиатор обеспечивает отвод теплоты охлаждающей жидкости в окружающую среду. На легковых автомобилях применяются трубчато-пластинчатые радиаторы.
Радиатор автомобиля (рис. 15, а) — неразборный, имеет вертикальное расположение трубок и горизонтальное расположение охлаждающих пластин. Бачки радиатора и трубки латунные, а охлаждающие пластины стальные, луженые. Трубки и пластины образуют сердцевину 5 радиатора. В верхнем бачке J радиатора имеется горловина 2, через которую систему охлаждения заполняют жидкостью. Горловина герметично закрывается пробкой J, имеющей два клапана — впускной 7 и выпускной 8. Выпускной клапан открывается при избыточном давлении в системе 0,05 МПа, и закипевшая охлаждающая жидкость через патрубок 6 и соединительный шланг выбрасывается в расширительный бачок. Впускной клапан не имеет пружины и обеспечивает связь внутренней полости системы охлаждения с окружающей средой через расширительный бачок и резиновый клапан в его пробке, который срабатывает при давлении, близком к атмосферному. Впускной клапан перепускает жидкость из расширительного бачка при уменьшении ее объема в системе (при охлаждении) и пропускает в расширительный бачок при увеличении объема (при нагревании жидкости). Радиатор установлен нижним бачком 4 на кронштейны кузова на двух резиновых опорах, а вверху закреплен двумя болтами через стальные распорки и резиновые втулки.
Рис. 15. Неразборный радиатор (а) и кожух (б) вентилятора двигателя: 1 — пробка; 2 — горловина; 3,4— бачки; 5 — сердцевина; 6 — патрубок; 7, 8 — клапаны; 9 — кожух; 10 — уплотнитель
Для направления воздушного потока через радиатор и более эффективной работы вентилятора за радиатором установлен стальной кожух 9 вентилятора (рис. 15, 6), состоящий из двух половин. Обе половины кожуха имеют резиновые уплотнители 10, которые уменьшают проход воздуха к вентилятору помимо радиатора и предохраняют от поломок кожух и радиатор при колебаниях двигателя на резиновых опорах крепления. Радиатор не имеет жалюзи и утепляется в случае необходимости специальным съемным чехлом-утеплителем. Радиатор автомобиля, приведенный на рис. 16, — разборный, с горизонтальным расположением трубок и вертикальным расположением охлаждающих пластин. Радиатор не имеет заливной горловины и выполнен двухходовым — охлаждающая жидкость входит в него и выходит через левый бачок, который разделен перегородкой. Бачки радиатора пластмассовые. Левый бачок 8 имеет три патрубка, через которые соединяется с расширительным бачком, термостатом и выпускным патрубком головки блока цилиндров. Правый бачок 1 имеет сливную пробку 10, в нем установлен датчик 3 включения вентилятора. К бачкам через резиновые уплотнительные прокладки Скрепится сердцевина 2радиатора. Она состоит из двух рядов алюминиевых круглых трубок и алюминиевых пластин с насечками. В части трубок вставлены пластмассовые турбулизаторы в виде штопоров. Двойной ход жидкости через радиатор, насечки на охлаждающих пластинах и турбулизаторы в трубках обеспечивают турбулентное движение жидкости и воздуха, что повышает эффективность охлаждения жидкости в радиаторе. Алюминиевая сердцевина и пластмассовые бачки существенно уменьшают массу радиатора. Радиатор установлен на трех резиновых опорах 9. Две опоры находятся снизу под левым и правым бачками, а третья опора — сверху. Резиновые опоры и прокладки между сердцевиной и бачками делают радиатор нечувствительным к вибрациям.
Рис. 16. Разборный радиатор (а) и электровентилятор (6) двигателя: 1, 8— бачки; 2 — сердцевина; 3 — датчик; 4 — прокладка; 5 — вентилятор; 6 — электродвигатель; 7 — кожух; 9 — опора; 10 — пробка
Вентилятор увеличивает скорость и количество воздуха, проходящего через радиатор. На двигателях автомобилей устанавливают четырех- и шестилопастные вентиляторы. Вентилятор 15 двигателя (см. рис. 12) — шестилопастный. Лопасти его имеют скругленные концы и расположены под утлом к плоскости вращения вентилятора. Вентилятор крепится накладкой 16 и болтами 17 к ступице и приводится во вращение от шкива коленчатого вала. На некоторых двигателях (см. рис. 16) применяется электровентилятор. Он состоит из электродвигателя 6 и вентилятора 5. Вентилятор — четырехлопастный, крепится на валу электродвигателя. Лопасти на ступице вентилятора расположены неравномерно и под углом к плоскости его вращения. Это увеличивает подачу вентилятора и уменьшает шумность его работы. Для более эффективной работы электровентилятор размещен в кожухе 7, который прикреплен к радиатору. Электровентилятор крепится к кожуху на трех резиновых втулках. Включается и выключается электровентилятор автоматически датчиком 3 в зависимости от температуры охлаждающей жидкости.
Список использованной литературы
1. Сарбаев В.И. Техническое обслуживание и ремонт автомобилей. − Ростов н/Д: «Феникс», 2004.
2. Вахламов В.К. Техника автомобильного транспорта. − М.: «Академия», 2004.
3. Барашков И.В. Бригадная организация технического обслуживания и ремонта автомобилей. – М.: Транспорт, 1988г.
8















