147292 (730458)
Текст из файла
РЕФЕРАТ
на тему:
Основна гідросистема комбайна РСМ-10 (ДОН-1500)
Гідросистема комбайна РСМ-10 (ДОН-1500) представлена на рис. 1.
Рис.1 Принципова схема основного гідроприводу комбайна «Дон-1500»: 1 — бак; 2 — насос; З і 4 — півмуфти; 5 — гідроклапан з електромагнітним керуванням; 6 — розподільник з ручним керуванням; 7 — гідроциліндри піднімання і опускання жатної частини; 8 — дроселювальний регульований клапан; 9, 17, 19, 23, 26, 27, 28, 29, 31, 33, 34 і 37 — дроселі нерегульовані; 10, 18, 20 і 21 — з'єднувальні муфти; 11 — гідроциліндр варіатора мотовила; 12 і 13 — гідроциліндри вертикального переміщення мотовила; 14 і 15 — гідроциліндри горизонтального переміщення мотовила: 16— гідроциліндр механізму вмикання і вимикання робочих органів молотарки; 22 — двосекційний гідророзподільник з електрогідравлічним керуванням; 24 — гідроциліндр реверса жатної частини; 25 — гідроциліндр механізму вмикання і вимикання вивантажувальних шнеків бункера; 30 — гідроциліндр варіатора молотильного барабана; 32 — гідроциліндр повороту вивантажувального похилого шнека бункера; 35 і 36 — вібратори бункера; 38 — гідроциліндр відкриття заскочки клапана копнувача; 39 і 40 — гідроциліндри закриття клапана копнувача; 41 — розподільник керування копнувачем; 42 — трисекційний гідророзподільник з електрогідравлічним керуванням; 43 і 44 — трубопроводи лінії гідроприводу рульового керуваня; 45 — запобіжно-переливний клапан; 46 — трубопровід лінії гідроприводу рульового керування.
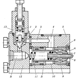
Бак (місткістю 25 л) призначений для забезпечення гідропривода маслом. Крім того, у баці масло частково охолоджується, звільняється від повітря і очищається. Він спільний для основного та рульового гідропривода і складається із корпуса 1 (рис. 2), всередині якого розміщені фільтр 3, сапун 11, маслопокажчик 12, зливний вентиль 8 і патрубки.
Фільтр забезпечує ступінь фільтрації до 25 мкм і складається з корпуса, зворотного клапана 13, клапана-сигналізатора 7 і фільтроелемента 6.
Зворотний клапан запобігає витіканню масла із бака при заміні фільтроелемента.
Клапан-сигналізатор призначений для контролю чистоти фільтроелемента. При надмірному забрудненні фільтроелемента і підвищенні тиску в зливній лінії понад 0,25 МПа в кабіні спрацьовує звуковий і світловий сигнали.
Сапун забезпечує сполучення порожнини бака з атмосферою. При цьому повітря в ньому очищається від механічних домішок.
Маслопокажчик призначений для візуального контролю рівня масла в порожнині бака. Кількість масла в баці повинна бути між верхньою і нижньою міткою, нанесеною на масломірному склі, коли жатка і мотовило опущені. Зливний вентиль призначений для зливання масла з бака. При відкручуванні його штуцера кулька вентиля відходить від сідла, відкриваючи цим зливний отвір. Патрубок 10 призначений для приєднання всмоктувального трубопроводу насоса НШ-32-3 основного гідропривода, а патрубок 9 — насоса НШ-10Е-3 гідропривода рульового керування. Вони розміщені на різній висоті над дном бака. Патрубок 9 коротший, оскільки кількості масла буде достатньо для роботи гідропривода рульового керування на випадок витікання масла з лінії основного гідропривода.
Зливання масла з гідропривода відбувається через патрубок Б фільтра, його фільтроелемент 6, зворотний клапан 13 і в бак. При забрудненні фільтроелемента масло надходить у бак через клапан-сигналізатор 7.
Рис.2. Бак основного гідропривода: 1—корпус; 2 — стакан фільтра; 3 — фільтр; 4 —кришка; 5 — пробка; 6 — філь-троелемент; 7 — клапан-сигналізатор; 8 — зливний вентиль; 9 — всмоктувальний патрубок насоса НШ-10Е-3 гідропривода рульового керування; 10 — всмоктувальний патрубок насоса НШ-32-3 основного гідропривода; 11—сапун; 12 — маслопо- кажчик; 13 — зворотний клапан; А — зливання масла в бак при забрудненому фільтроелементі; Б — зливання масла з гідропривода.
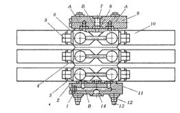
Рис.3. П’ятисекційний гідророзподільник з ручним керуванням: 1, 2, З, 4 і 5 — робочі секції; 6 — отвір для зливу рідини з лінії керування; 7 і 15 — кришки; 5 — болт; 9 і 10 — ущільнювальні кільця; 11 — отвір для відведення рідини }• лінію зливу; 12 — гайка; 13 — заглушка; 14 — отвір для підведення рідини із напірної лінії; 16 — отвір для підведення рідини з лінії керування; А, Б — зливні канали; В — напірний канал; Г— канал лінії керування.
П'ятисекційний гідророзподільник з ручним керуванням гідроприводу зернозбирального комбайна «Дон» призначений для керування такими гідроциліндрами: піднімання і опускання жатної частини, вертикального та горизонтального переміщення мотовила, варіатора мотовила, механізму вмикання і вимикання робочих органів молотарки.
Розподільник має п'ять робочих секцій і дві кришки 7 і 15 (рис. 3), що з'єднані між собою трьома болтами 8 з гайками 12. Керують п'ятьма секціями двома рукоятками. В такому розподільнику немає переливної секції. її функцію виконує запобіжно-переливний клапан, що спільний для всього основного гідроприводу.
У корпусах секцій є напірний канал В, верхній і нижній зливні канали Б, які через вертикальний канал А в кришці 7 сполучені між собою, та є канал Г потоку лінії керування. В напірний канал В рідина підводиться через отвір 14 в кришці. В канал Г рідина підводиться через отвір 16 кришки 15, а відводиться на злив через отвір 6 кришки 7. В цій самій кришці є отвір 11 для відведення рідини у зливну лінію гідроприводу. Канали Б, В і Г проходять через всі корпуси секцій.
Робочі секції гідророзподільника двох типів: з двобічним гідрозамком та однобічними. Будова їх і принцип дії аналогійний секціям розподільника типу ГА-3400.
Секційні гідророзподільники з електрогідравлічним керуванням типу 73.00.00.000 В(РЗГ-50). їх встановлено в основному гідроприводі зернозбирального комбайна «Дон». Вони бувають три- і двосекційними.
Рис.4. Трисекційний гідророзподільник з електрогідравлічним керуванням: 1, 9 кришки; 2 — заглушка; З, 4 і 6 — секції; 5 — під'єднувальний отвір трубопроводу до гідроциліндра; 7 — отвір напірної лінії; 8, 11 — ущільнювальні кільця; 10 — електромагнітна приставка; 12 — гайка; 13 — болт; 14 — отвір лінії зливу; А і В — канал зливу; Б — напірний канал.
Ці гідророзподільники складаються із трьох робочих секцій 3, 4 і 6 (рис.4) з електромагнітними приставками 10 і двох кришок 1 і 9. Секції і кришки стягнуті болтами 13 і закріплені гайками 12.
У кришці 9 є отвір 7 для підведення рідини від напірної лінії гідроприводу. В кришці 1 зроблено канал В, що сполучає канали зливу А секцій, і отвір 14 для відведення рідини в лінію зливу гідроприводу. Кожна секція має напірний канал Б, спільний для всіх секцій, так як і зливні канали А. Секція 4 має двобічний гідрозамок, секція 3 не має гідрозамка.
Секція розподільника складається з електромагнітної приставки 2 (рис.5), золотника 14, запірних елементів 17 і 20 та поршня 18 гідрозамка і корпусу 16.
Електромагнітна приставка — це два електромагніти 1 і 10 та клапани 8, вставлені в електромагніти. Клапани перекривають напірний канал 3 з порожнинами 12 керування золотника.
Принцип дії. При вмиканні електромагніта 10 клапан 8 відходить від свого сідла 6 і напірний канал 3 сполучається через порожнину 7 і канал керування 11 з порожниною 12 золотника 14. Під риском рідини золотник змішується вліво, сполучивши своєю кільцевою проточкою напірний канал з порожниною 19 поршня 18 гідрозамка. Завдяки тиску рідини запірний елемент 20 клапана гідрозамка відходить від свого сідла і рідина під тиском надходить через під'єднувальний отвір 21 в одну із порожнин гідроциліндра. Одночасно під дією тиску рідини поршень 18 зміщується вправо і відкриває запірний елемент і 7, а рідина з другої порожнини гідроциліндра зливається через під'єднувальний отвір 15, зливний канал 5 в лінію зливу гідроприводу.
Коли вмикають електромагніт 1, процес повторюється в зворотному напрямку.
Якщо електромагніти вимкненні, золотник 14 під дією пружин 13 і 22 повертається в нейтральне положення.
У таких розподільниках переливної секції також немає. її функції виконує запобіжно-переливний клапан. Останній переключається в режим переливного клапана за допомогою гідроклапана з електромагнітним керуванням.
Рис.5. Секція гідророзподільника з електрогідравлічним керуванням: а — будова; 6— умовне позначення спрощене; в — умовне позначення детальне (злив рідини з порожнини гідрозамка); 1 і 10 — електромагніти; 2 — електромагнітна приставка; 3 — напірний канал; 4, 7, 12 і 19 -— порожнини; 5 — зливний канал; 6 — сідло; 8 — клапан; 9, 13 і 22 — пружини; 11 — канал керування; 14 — золотник; 15 і 21 — під'єднувальні отвори до порожнин гідроциліндра; 16 — корпус секції; 17 і 20 — запірні елементи клапанів гідрозамка; 18 — поршень.
Останнім часом у гідроприводах, наприклад комбайнів «Дон», застосовують запобіжно-переливні клапани, що працюють в режимі запобіжного клапана непрямої дії і виконують функцію клапан переливної секції гідророзподільника. Тобто у секційних розподільниках таких гідроприводів переливної секції немає.
Запобіжно-переливний клапан складається з основного (переливного) і допоміжного (запобіжного). Запірним елементом переливного клапана є порожнистий золотник 7 (див. рис. 6.), який через осердя 9 підтиснутий пружиною 11 до сідла 6. В осерді є дросельний отвір 8. Запірний елемент допоміжного клапана — конус 2, який пружиною 1 підтиснутий до сідла в кришці 12.
У кришці 12 є порожнина В, під'єднана до каналу лінії керування секційного розподільника з ручним керуванням. Ця порожнина сполучена із зливним отвором 4 і каналом з післядросельною порожниною Б.
У корпусі 5 переливного клапана є кільцева виточка 10, сполучена із зливним отвором 4, а також порожнина А для під'єднання напірної лінії насоса.
Запобіжно-переливний клапан у режимі запобіжного клапана Непрямої дії працює так. При підвищенні тиску рідини в напірній лінії гідроприводу (наприклад, коли шток гідроциліндра знаходиться у крайньому положенні, а золотник розподільника утримується в робочому положенні), такий самий тиск буде і в порожнинах Б і В. Це пов'язано з тим, що рідина не зливається з порожнини В через канал лінії керування, оскільки він перекритий буртиком золотника розподільника. Тоді під дією надмірного тиску рідини конус 2 допоміжного клапана відходить від свого сідла і порожнина В сполучається через канал 3 із зливним отвором 4.
Тиск у порожнинах В і Б буде меншим, ніж в порожнині А. Осердя 9 і золотник 7 змішуються вліво і порожнина А сполучається із зливним отвором 4. Тиск у напірній лінії знижується. Як тільки у порожнині А він стає нормальним (дорівнює зусиллю регулювання пружини 1 допоміжного клапана), конус роз'єднає порожнину В із зливним отвором 4, тиск у порожнинах В, Б і А зрівняється і золотник переливного клапана під дією пружини повернеться у початкове положення, роз'єднає порожнину А і напірну лінію з отвором 4.
У режимі переливного клапана (як переливна секція) запобіжно-переливний клапан працює так. При нейтральному положенні золотників розподільника порожнина В сполучена з каналом лінії керування і зливом. Тоді тиск у порожнині А буде вищим, ніж в порожнині Б. Золотник 7 переливного клапана гідравлічно не зрівноважується і під дією тиску рідини зміщується вліво, сполучаючи порожнину А із зливним отвором 4. Рідина, що подається насосом, надходить у зливну лінію під невеликим тиском. Таким чином, насос захищається від перевантажень, коли споживачі (гідродвигуни) не працюють.
Рис. 6. Запобіжно-переливний клапан непрямої дії основного гідроприводу зернозбирального комбайна «Дон-1500»: 1г 11 — пружини; 2 — конус допоміжного клапана; З — зливний канал; 4 — зливний отвір; 5 — корпус переливного клапана; 6 — сідло; 7 — золотник; 8— дросельний отвір; 9 — осердя; 10 — кільцева виточка; -12 — кришка; 13 — корпус допоміжного клапана; А — порожнина напірної лінії; Б — післядросельна порожнина; В — порожнина лінії керування.
Характеристики
Тип файла документ
Документы такого типа открываются такими программами, как Microsoft Office Word на компьютерах Windows, Apple Pages на компьютерах Mac, Open Office - бесплатная альтернатива на различных платформах, в том числе Linux. Наиболее простым и современным решением будут Google документы, так как открываются онлайн без скачивания прямо в браузере на любой платформе. Существуют российские качественные аналоги, например от Яндекса.
Будьте внимательны на мобильных устройствах, так как там используются упрощённый функционал даже в официальном приложении от Microsoft, поэтому для просмотра скачивайте PDF-версию. А если нужно редактировать файл, то используйте оригинальный файл.
Файлы такого типа обычно разбиты на страницы, а текст может быть форматированным (жирный, курсив, выбор шрифта, таблицы и т.п.), а также в него можно добавлять изображения. Формат идеально подходит для рефератов, докладов и РПЗ курсовых проектов, которые необходимо распечатать. Кстати перед печатью также сохраняйте файл в PDF, так как принтер может начудить со шрифтами.















