147292 (730458), страница 2
Текст из файла (страница 2)
Вібратори призначені для привода в зворотно-поступальний рух вібролиста вібраційної установки зернового бункера. Це сприяє руйнуванню склепінь малосипкого зерна, чим прискорюється його вивантажування із бункера комбайна. їх встановлено два на одну вібраційну установку.
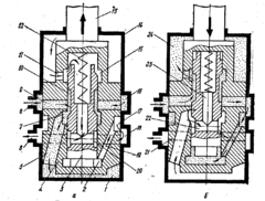
Вібратор являє собою гідродвигун зворотно-поступального руху з ходом штока 3 мм. Він складається з корпуса 14 (рис.7), поршня 4, золотника 3 з пружиною 12 1 двох кришок. У корпусі є отвір для поршня, дві кільцеві виточки 16 і 18 та отвори 8 і 6 для підведення і зливання масла.
Разом із штоком 13 виготовлено поршень. Він має глухий отвір із трьома внутрішніми кільцевими виточками 15, 7 і 2 та два наскрізних радіальних отвори 9 і 21. Зовні поршня є кільцева виточка 17,. яка косим отвором 19 сполучена з нижньою внутрішньою виточкою 2 поршня. Середня внутрішня виточка 7 поршня косим отвором 5 сполучена з нижньою порожниною 1 корпуса, а верхня 15 — радіальним отвором 11 з верхньою порожниною 24.
На золотнику зроблено дві кільцевих виточки 10 і 20. Нижня виточка 20 сполучена наскрізним радіальним отвором 22 з осьовим каналом 23, що переходить у отвір для пружини 12.
Працює вібратор так. При крайньому нижньому положенні золотника (рис.7 а) масло від розподільника під тиском подається насосом у нижню порожнину 1 корпуса. У цей час верхня порожнина корпуса і нижня внутрішня виточка 2 поршня сполучені із зливом. Поршень разом із золотником переміщується вверх. Коли зовнішня виточка 17 поршня сполучається з верхньою виточкою 16 корпуса (рис.7, б), масло під тиском подається по косому отвору 19 в нижню внутрішню виточку 2 поршня під золотник. Золотник, стискаючи пружину, переміщується вверх відносно поршня і сполучає своєю верхньою виточкою 10 верхню порожнину 24 корпуса з напірною лінією, а нижньою виточкою 20 — нижню порожнину 1 корпуса із зливом. Поршень переміщується вниз. Як тільки зовнішня виточка 17 поршня сполучиться з нижньою виточкою 18 корпуса (рис.7, а), нижня внутрішня виточка 2 поршня - сполучиться із зливом. Золотник під дією пружини переміститься вниз і процес зворотно-поступального руху поршня повториться.
Рис. 8 Схема роботи вібратора при нижньому (а) і верхньому (б) положеннях та умовне позначення на принципових схемах (в): 1, 24 —нижня і верхня .порожнини корпуса; 2, 7 і 15—внутрішні кільцеві виточки поршня; 3 — золотник; 4 — поршень; 5 і 19 — косі отвори; 6 і 8 — отвори для зливання і підведення масла; 9 і 21 — наскрізні радіальні отвори поршня; 10 і 20 — кільцеві виточки золотника, 11— радіальний отвір поршня; 12 — пружина; 13 — шток 14 — корпус; 16 і 18 — кільцеві виточки поршня;17 зовнішня кільцева виточка поршня; 22 — радіальний отвір золотника; 23 — осьовий канал золотника.
Гідроциліндр варіатора мотовила має корпус (гільзу) 9 (рис.9), який закріплений до нерухомого диска шківа варіатора, і плунжера 10, встановленого в гільзу і з'єднаного з рухомим диском хрестовиною та болтами. Між гільзою і плунжером розміщені маслознімні ущільнювальні кільця 7 і 11. Всередині плунжера змонтований штуцер 2 на двох підшипниках кочення. Манжета підшипників підтиснута пружиною 8.
Щоб збільшити частоту обертання мотовила, масло під тиском спрямовують через кутник 1, штуцер 2, осьовий отвір у плунжері в порожнину між гільзою і плунжером. Плунжер під дією тиску масла висовується із гільзи і переміщує рухомий диск шківа варіатора, витискуючи пас на більший діаметр.
Якщо кутник 1 сполучають із зливною лінією, рухомий Диск шківа відходить від нерухомого диска і пас переходить на менший діаметр. Частота обертання мотовила при цьому зменшується.
Гідроциліндр варіатора молотильного апарата за будовою і принципом дії такий самий, як гідроциліндр варіатора мотовила. Основна відмінність полягає в тому, що гільза гідроциліндра нагвинчена на вал барабана.
Рис.9. Плунжерний спеціальний гідроциліндр варіатора мотовила: І—кутник; 2— штуцер; 3 — шайба; 4 1 13 — підшипники кочення; 5 — розпірне кільце; 6 — манжета; 7 1 11 — ущільнювальні . кільця; 8 — пружина; 9 — гільза; 10 —плунжер; 12 — стопорне кільце.
Плунжерні гідроциліндри піднімання і опускання жатної частини, вертикального переміщення мотовила (правий), відкриття заскочок і закриття клапана копнувача виконані майже за одною схемою.
Основою таких гідроциліндрів є гільза, до якої з одного боку приварене глухе дно, а з другого — загвинчена головка. У дні є отвір для з'єднання гільзи з рамою машини. В головці з внутрішнього встановлені ущільнювальні Кільця, а з зовнішнього торця — манжета, що знімає забруднення із плунжера. До гільзи або дна закріплений один штуцер для підведення і відведення масла із порожнини гідроциліндра.
Всередину гільзи і головки встановлений плунжер. Зовнішній кінець плунжера має головку з отвором для з'єднання з виконавчим органом, а на внутрішньому кінці закріплене упорне кільце. Воно обмежує переміщення плунжера при його висуванні, упираючись у торець головки.
Поршневі гідроциліндри горизонтального переміщення мотовила (правий), механізм реверса робочих органів молотарки та вивантажувальних шнеків, переводу вивантажувального похилого шнека в робоче і транспортне положення також виконані за одною конструктивною схемою.
Від плунжерних гідроциліндрів вони відрізняються тим, що гільза має два штуцери і дві порожнини. Одна утворена між поршнем, дном і гільзою (безштокова), а друга - між поршнем, головкою, гільзою і штоком (штокова). Причому по об'єму вони неоднакові.
При переміщенні шток спирається на головку гільзи і поршень, який спирається на робочу поверхню гільзи. На поршні є ущільнювальні кільця.
Спеціальні поршневі гідроциліндри відрізняються від звичайних поршневих наявністю двох поршнів (рис. 10).
Рис.10.. Гідропривід горизонтального переміщення мотовила: а — схема; б, в , г — положення півпоршнів лівого гідроциліндра; 1 і 2 — гідроциліндри; 3, 4 і 5 — трубопроводи; 6 — штокова порожнина; 7 і 12 — півпоршні; 8, 10 і 11—радіальні отвори; 9 — осьовий канал; 13 і 14 — безштокові порожнини15 — міжпівпоршнева порожнина; 16 — пружина; 17 — шток.
Гідропривід горизонтального переміщення мотовила призначений для додаткової зміни положення мотовила по горизонталі незалежно від його положення по висоті. Горизонтальне переміщення мотовила здійснюється двома поршневими гідроциліндрами 1 і 2 (рис. 10), які керуються секційним розподільником.
Правий гідроциліндр 2 конструктивно виконаний так, як і звичайні поршневі гідроциліндри. Лівий гідроциліндр 1 має дещо іншу будову, його поршень складається із двох півпоршнів 7 і 12, які вільно надіті на хвостовик штока 17. Між півпоршнями встановлена пружина 16. У хвостовику штока є осьовий канал 9 і три радіальних отвори 8, 10 і 11. Радіальний отвір 10 постійно сполучений з півпоршневою порожниною 15. Отвори ж 8 і 11 розміщені так, що їх відстань від зовнішніх торців півпоршнів менша, ніж хід кожного з них, тобто отвір 8 може сполучатися з порожниною 6, а отвір 11—з порожниною 14. Безштокові порожнини 13 і 14 гідроциліндра 1 сполучені трубопроводом 4 із штоковою порожниною гідроциліндра 2 (вони однакові за об'ємом). Штокова ж порожнина гідроциліндра 1 і безштокова гідроциліндра 2 сполучені з гідророзподільником.
Працює гідропривід так. Коли масло під тиском надходить від гідророзподільника по трубопроводу 5 у штокову порожнину гідроциліндра 1, його шток переміщується вправо, а півпоршні 7 і 12 займуть відповідне положення (рис. 10, б). Масло, яке витиснулося із порожнини 13 і 14,. поступає по трубопроводу 4 в штокову порожнину правого гідроциліндра 2 і його шток також переміститься вправо.
Як тільки шток лівого гідроциліндра 1 займе крайнє праве положення (рис. 10, в), міжпівпоршнева порожнина 15 сполучиться з порожниною 13, а відповідно зі штоковою порожниною гідроциліндра 2. Під тиском масла пів-поршень 7, стискаючи пружину 16, зміщується вправо, відкриваючи радіальний отвір 8 (рис. 10, г). Масло із штокової порожнини гідроциліндра 1 під тиском потрапляє в штокову порожнину гідроциліндра 2. Надходження масла триватиме доти, поки поршень гідроциліндра 2 не дійде до упору.
При спрямуванні потоку масла під тиском від розподільника по трубопроводу 3 в безштокову порожнину правого гідроциліндра 2 штоки обох гідроциліндрів будуть переміщуватися вліво.
Завдяки такому сполученню гідроциліндрів між собою забезпечується синхронність переміщення мотовила. Автоматичний перерозподіл масла з однієї порожнини гідроциліндра в іншу в кінці ходу поршня (завдяки конструкції лівого гідроциліндра) забезпечує однакове переміщення лівого і правого боків мотовила.
Гідропривід вертикального переміщення мотовила виконаний за такою ж схемою. Відмінність полягає в тому, що правий гілпоциліндр плунжерний.
Використана література
1. Кленин, Н. И. Сельскохозяйственные и мелиоративные машины. Элементы теории рабочих процессов, расчет регулировочных параметров и режимов работы: учебник для студентов высших сельскохозяйственных учебных заведений по специальности 1509 - "Механизация сельского хозяйства" / Н.И. Кленин, В.А. Сакун. - 2-е издание, переработанное и дополненное. - Москва : Колос, 1980. - 671
2. Памятка и рекомендации по устранению отказов комбайнов "Дон"- Советы по настройке и регулировке комбайнов.- Ростов-на-Дону: РСМ, 1987.- 66 с.
3. Зерноуборочные комбайны «ДОН»/Песков Ю.А., Мещеряков И.К., Ярма- шев Ю.А. и др. - М.: Агропромиздат, 1986.- 334 с
4. Комбайны зерноуборочные самоходные "Дон-1500" и "Дон-1200". Техниче- ское описание и инструкция по эксплуатации. Ростов-на-Дону, ПО Ростсельмаш,1991.-384 с.
5. Кушнарев Л. Организация технического сервиса комбайнов ОАО "Ростсельмаш", М.: Тракторы и сельскохозяйственные машины, №12, 2002. 30-31.
6. Пугачев А.П. Советы комбайнеру. М.: Колос, 1984.- 224 с.
7. Рекомендации по предунреждению и устранению неисправностей комбай- нов "Дон-1500". М.: Госагропром СССР, 1988.- 64 с.
8. Стефанский В.В. Эксплуатация комбайнов "Дон".- М.: Росагронромиздат, 1988.-94 с.
9. Технико-экономическое обоснование для комбайна «Дон-1500». Отчет ГСКБ при ОАО «Ростсельмаш». Ростов н/Д, 1998. - 56 с.
10. Уборка урожая комбайнами «Дон»/Сост. М.К. Комарова.-М.: Росагро- промиздат, 1989.- 220 с.















