146915 (730354)
Текст из файла
Бесстыковые рельсовые цепи
Содержание
1. Особенности и условия применения 3
2. Зоны дополнительного шунтирования 5
3. Структура бесстыковой рельсовой цепи 7
4. Регулировка 12
5. Кабельная сеть 17
6. Наложение кодовых сигналов АРС 21
7. Способы отыскания и устранение неисправностей 25
1. Особенности и условия применения
Бесстыковые рельсовые цепи (БРЦ) применяют на линиях, где рельсовые нити пути составлены из цельносварных рельсовых плетей большой длины. Исключение из состава рельсовой линии изолирующих стыков, как малонадежных в эксплуатации элементов, способствует повышению прочности пути, снижению шума и вибрации. Обеспечивается надежная непрерывность цепи возврата тягового тока. В несколько раз сокращается число применяемых металлоемких дроссель-трансформаторов. Они устанавливаются только для выравнивания тягового тока (снижения асимметрии) в местах установки междупутных перемычек, подключения отсасывающих фидеров тяговых подстанций, а также в случаях установки изолирующих стыков, когда необходима точная фиксация границ РЦ. Из-за сокращения числа устанавливаемых дроссель-трансформаторов снижаются потери электроэнергии на тягу поездов.
Работа БРЦ, имеющей потенциальный приемник ПП (подключенный к рельсам и срабатывающий от разности потенциалов между рельсами в месте подключения), отличается от принципа действия РЦ, ограниченной изолирующими стыками, тем, что ее занятие и освобождение поездом фиксируются не в момент вступления и проследования точки подключения аппаратуры, а на некотором расстоянии от концов РЦ, характеризующем зоны дополнительного шунтирования lдш по приближению и удалению поезда. Фактическая длина БРЦ оказывается больше ее физической длины lф, определяемой точками подключения аппаратуры (рис.3.1).
Рис.3.1 Схема бесстыковой рельсовой цепи
Рис.3.2 Структурная схема бесстыковой рельсовой цепи
Как правило, от одного путевого генератора питаются две смежные РЦ, расположенные по обе стороны от точки его подключения к рельсовой линии. Один питающий конец, таким образом, является общим для двух приемников. Например РЦ 1 и 3 (рис.3.2) получают питание от генератора G1, а РЦ 5 и 7 - от генератора G2. Между питающими концами к рельсовой линии подключены два последовательно соединенных путевых приемника, один из которых работает на сигнальной частоте генератора G1, а другой - на сигнальной частоте генератора G2. Во избежание взаимного влияния в смежных рельсовых цепях используются разные несущие частоты сигнального тока.
Для работы БРЦ используются амплитудно-модулированные сигналы с несущими частотами 475, 725 и 775 Гц и частотами модуляции 8 и 12 Гц. При необходимости могут применяться сигналы с несущими частотами 425 и 575 Гц с теми же частотами модуляции. Для надежного исключения взаимного влияния сигналов БРЦ при различных сочетаниях их длин несущие частоты и частоты модуляции чередуются, например 725/8; 775/12; 475/8; 725/12; 775/8; 475112; 725/8 и т.д.
Аппаратура БРЦ размещается централизованно в релейном помещении на станции. Удаление аппаратуры от рельсовой линии может достигать 4 км. С рельсовой линией аппаратура соединяется симметричным сигнальным кабелем с парной скруткой жил. Передающие и приемные цепи размещаются в разных кабелях. Для каждого пути применяется отдельный кабель. В кабельной линии предусматривают свободную пару (резерв) с выходом на каждой сигнальной точке, необходимую при выполнении пуско-наладочных работ и работ по техническому обслуживанию устройств.
При длине кабеля более 2 км применяется схема контроля исправности кабельной линии. Используется по два кабеля для питающих и приемных цепей. В один из них включаются БРЦ, удаленные до 2 км, и схема контроля не применяется. В другой кабель включаются БРЦ, удаленные свыше 2 км, и для этого кабеля необходимо применение схемы контроля кабельных цепей.
Для соединения с рельсовой линией используются согласующие трансформаторы
ПОБС-2АУЗ с коэффициентом трансформации 38, при этом первичная обмотка (выводы I1-I4 при перемычке I2-I3) подключается к кабелю, а вторичная (выводы II3-III3 при перемычке II4-III1) - к рельсовой линии. допускается в качестве согласующих элементов использовать дроссель-трансформаторы ДТМ-0,17-1000 или ДТ-0,6-1000М с коэффициентами трансформации соответственно 40 и 38.
2. Зоны дополнительного шунтирования
Во время движения по линии поезд последовательно занимает и освобождает рельсовые цепи. Шунтирование БРЦ происходит на некотором расстоянии от точки подключения аппаратуры, называемом зоной дополнительного шунтирования по приближению Освобождение БРЦ происходит также на некотором расстоянии от точки подключения аппаратуры выходного конца БРЦ, называемом зоной дополнительного шунтирования по удалению (см. рис.3.1).
Зоны дополнительного шунтирования зависят от частоты сигнального тока, рабочего напряжения на входе приемника, сопротивления рельсовой линии, входного сопротивления конца, коэффициента возврата приемника, реального сопротивления поездного шунта, длины БРЦ и др.
Зона дополнительного шунтирования максимальна в БРЦ, в которой нормальный режим обеспечен при минимально допустимом напряжении источника сигнала, когда напряжение на приемнике минимально при прочих равных условиях.
Зона дополнительного шунтирования минимальна, когда напряжение на входе приемника в нормальном режиме максимально допустимое. Таким образом, уменьшение зоны дополнительного шунтирования связано с увеличением коэффициента перегрузки приемника. Ее уменьшение достигается также снижением входного сопротивления конца БРЦ.
В условиях эксплуатации длина зоны дополнительного шунтирования, как правило, 12-25 м, и ее изменение связано в основном с колебанием напряжения источника питания.
Поскольку коэффициент возврата приемника БРЦ меньше 1, то зона дополнительного шунтирования по приближению меньше зоны дополнительного шунтирования по удалению. Она соответствует такому положению поезда, когда напряжение на входе приемника снижается до значения, соответствующего его порогу отпускания. А зона дополнительного шунтирования по удалению соответствует положению, когда напряжение на входе приемника достигает значения порога срабатывания.
Если необходимо получить минимальную зону дополнительного шунтирования, то повышают напряжение сигнала на входе путевого приемника до максимально допустимого значения, при котором обеспечивается нормальный, шунтовой и контрольный режимы работы БРЦ.
Минимальная гарантированная зона дополнительного шунтирования (12 м) учитывается при определении тормозных путей и выборе точек подключения аппаратуры. От размеров зоны дополнительного шунтирования значительно зависят регулировочные характеристики режима АРС. Для нормального действия поездных устройств АРС необходимо обеспечить нормативный сигнальный ток под приемными катушками на расстоянии lарс, которое равно суммарной длине РЦ и зоны дополнительного шунтирования.
В эксплуатации смена сигнала АРС на поезде в зависимости от длины зоны дополнительного шунтирования, скорости поезда и ряда других факторов может происходить в зоне, точке подключения аппаратуры, а при большой скорости движения - после вступления на рельсовую цепь.
Наличие зоны дополнительного шунтирования необходимо учитывать при установке путевых проходных светофоров, так как при вступлении поезда в эту зону происходит занятие поездом следующей по ходу РЦ и перекрытие светофора на запрещающее показание. Во избежание этого необходимо выносить место установки светофора навстречу движению на расстояние, большее длины зоны дополнительного шунтирования для данной БРЦ. На основании расчетов это расстояние было принято равным 20 м.
3. Структура бесстыковой рельсовой цепи
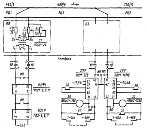
Аппаратура питающего конца БРЦ включает в себя путевой генератор ГРЦ, путевой усилитель сигнала рельсовой цепи типа ПУ-1, выходной трансформатор ПТЦ, фильтр питающего конца типа ФП8,9 или ФП 11, 14, 15, регулируемый резистор Rд сопротивлением 100 Ом, согласующий трансформатор ПОБС-2А, защитный резистор Rз и кабельную линию между аппаратурой, расположенной в релейном помещении и на пути (рис.3.3).
Рис.3.3 Принципиальная схема БРЦ
Генератором 1/2Г типа ГРЦ формируется амплитудно-модулированный сигнал, который с выводов 3-31 подается на вход путевого усилителя 1/2У (выводы 13-22). Установкой внешних перемычек генератор настраивают на одну из несущих частот: 12-23 - 425 Гц, 12-21 - 475 Гц, 12-22 - 575 Гц, 12-13 - 725 Гц, 12-11 - 775 Гц. Для выработки модулирующей частоты 12 Гц устанавливают перемычку на выводы 33-41-42 блока. Для модулирующей частоты 8 Гц установка внешних перемычек не требуется. Модулированный по амплитуде сигнал на выходе генератора получается при установке перемычки 4-32.
Путевой усилитель 1/2У типа ПУ-1 усиливает входной сигнал и подает его (с выводов 3-23-4) на первичную обмотку трансформатора 1/2ВТ типа ПТЦ. Изменением числа витков его вторичной, секционированной обмотки регулируется сигнал в БРЦ. Далее этот сигнал поступает на вход фильтра 1/2Ф1 (выводы 11-71), тип которого выбирается в зависимости от несущей частоты сигнала, вырабатываемого генератором. Фильтр настраивают на требуемую частоту подбором конденсаторов необходимой суммарной емкости установкой внешних перемычек.
Выход фильтра 1/2Ф1 (выводы 11-12) последовательно соединяется с выходом фильтра 1Ф2 типа ФП-АЛСМ, относящегося к передающей аппаратуре АРС, и подключается к кабельной линии через резистор 1/2Rд. Изменением сопротивления этого резистора добиваются постоянного суммарного сопротивления 100 Ом резистора 1/2Rд и жил кабеля. При удалении аппаратуры БРЦ более чем на 2 км и в случае установки в путевом ящике защитного резистора Rз сопротивление 1/2Rд может быть исключено из схемы БРЦ.
Кабельная линия подключается к рельсам через согласующий трансформатор 1/2 СТ, предназначенный для согласования низкого сопротивления рельсовой линии с высоким сопротивлением аппаратуры. Коэффициент трансформации 1/2СТ равен 38, при этом входными являются выводы первичной обмотки I1-I4 с перемычкой I2-I3, а выходными - выводы II3-III3 с перемычкой II4-III1.
В путевом ящике размещаются предохранители, защищающие аппаратуру БРЦ от воздействия тягового тока, разрядники РВНШ-250 (на открытых участках) для защиты от импульсных перенапряжений и защитные резисторы, обеспечивающие нормативное сопротивление конца БРЦ и защищающие аппаратуру от асимметрии тягового тока.
В качестве согласующих элементов могут применяться дроссель-трансформаторы ДТМ-0,17 или ДТ-0,6 с коэффициентом трансформации соответственно 40 и 38. При этом кабельная линия подключается к дополнительной обмотке, предохранители и защитные резисторы из схемы исключаются, а сопротивление дополнительного резистора Rд при удалении БРЦ от релейного помещения менее чем на 500 м может быть увеличено до 200 Ом. На открытых участках в случае применения дроссель-трансформатора в качестве согласующего элемента разрядник устанавливается в релейном помещении.
Подключение аппаратуры приемного (релейного) конца БРЦ к рельсовой линии аналогично подключению питающего конца.
В состав аппаратуры приемного конца входят два последовательно соединенных по входу приемника смежных БРЦ, которые питаются от разных генераторов. Для приема сигналов БРЦ служат путевые приемники ПРЦМ. Сигнал с рельсовой линии через согласующий трансформатор и кабельную линию поступает на вход путевых приемников (выводы 11-43). Настройка входного контура путевого приемника обеспечивает выделение сигнала с несущей частотой, соответствующей типу данного приемника. К выходам приемников подключены путевые реле АНШ2-1230 для контроля состояния соответствующих рельсовых цепей.
Для повышения устойчивости работы путевого реле при проследовании поездом границы зоны дополнительного шунтирования, когда наблюдается колебание входного сигнала, к выводам 23-62 приемника подключается фронтовой контакт своего путевого реле или его повторителя, с помощью которого изменяется порог срабатывания путевого приемника.
Последовательно со входами путевых приемников включен выход фильтра 2Ф2 устройств АРС. Тыловые контакты управляющих реле АРС предыдущей БРЦ включены в цепь питания путевого реле параллельно его фронтовому контакту для контроля состояния этих реле на отсутствие ложного возбужденного состояния или залипания якорей.
Питание аппаратуры БРЦ осуществляется от сети переменного тока частотой 50 Гц. Напряжение 17,5 В подается на выводы 1-2 генераторов ГРЦ и усилителей ПУ - 1 и на выводы 21-22 приемников ПРЦМ. Питающее напряжение снимается с трансформатора ПОБС-5А, причем питание генераторов и приемников БРЦ осуществляется от разных трансформаторов.
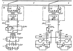
Питающий конец бесстыковой рельсовой цепи на аппаратуре третьего поколения (рис.3.4) составляют путевой генератор ГПЗ и фильтр ФПМ. Генератор 1/2ГП служит для формирования и усиления амплитудно-модулированного сигнала БРЦ. Выходной сигнал с выводов 2-52 поступает на вход путевого фильтра 1/2Ф1 (выводы 11-71), который служит для защиты выходного каскада генератора от импульсных помех и влияния токов АРС. С выхода фильтра (выводы 12-63) сигнал передается в кабельную линию.
На релейном конце, как правило, используется последовательное соединение двух путевых приемников ППМ. Сигнал рельсовой цепи поступает на вход приемника (выводы 11-43). Настройка входного контура путевого приемника обеспечивает выделение сигнала с несущей частотой, соответствующей типу данного приемника. К выходам приемников подключены путевые реле АНШ2-1230 для контроля состояния соответствующих рельсовых цепей.
Характеристики
Тип файла документ
Документы такого типа открываются такими программами, как Microsoft Office Word на компьютерах Windows, Apple Pages на компьютерах Mac, Open Office - бесплатная альтернатива на различных платформах, в том числе Linux. Наиболее простым и современным решением будут Google документы, так как открываются онлайн без скачивания прямо в браузере на любой платформе. Существуют российские качественные аналоги, например от Яндекса.
Будьте внимательны на мобильных устройствах, так как там используются упрощённый функционал даже в официальном приложении от Microsoft, поэтому для просмотра скачивайте PDF-версию. А если нужно редактировать файл, то используйте оригинальный файл.
Файлы такого типа обычно разбиты на страницы, а текст может быть форматированным (жирный, курсив, выбор шрифта, таблицы и т.п.), а также в него можно добавлять изображения. Формат идеально подходит для рефератов, докладов и РПЗ курсовых проектов, которые необходимо распечатать. Кстати перед печатью также сохраняйте файл в PDF, так как принтер может начудить со шрифтами.
















