L2 (729939), страница 2
Текст из файла (страница 2)
3.2.1 Выбор конденсатных насосов
В соответствии с НТП конденсатный насос выбирается по максимальному расходу пара в конденсатор и соответствующему напору.
Где:
- суммарный расход пара на регенеративные отборы
В соответствиями с рекомендациями [1] принимаются конденсатные насосы: КсВ-1000-95 (первый подъём)
ЦН-1000-220 (второй подъём)
Характеристики конденсатного насоса первой ступени
Напор H=95 [м]
Допустимый кавитационный запас 2,5м
Частота вращения n=1000 [оборотов/мин.]
Мощность N=342 [кВт]
Характеристики конденсатного насоса второй ступени
Напор H=220 [м]
Частота вращения n=2975 [оборотов/мин.]
Принимается три насоса: 2 в работе и один в резерве (на каждую ступень).
ДП 1005 495 ПЗ
Лист
изм
Лист
N документа
Подп
Дата
3.2.2 Выбор питательных насосов
В соответствии с НТП питательные насосы на блоках СКД выбираются по подаче питательной воды и давлению.
Где:
- максимальный расход пара через котёл.
- собственные нужды, =1,02
- запас, =1,03
- удельный объём питательной воды,
=1,1
=2650(1+1,02+1,03)1,1=2708 т/ч
По рекомендациям [1] устанавливается ПН-1500-350.Установлено два насосных агрегата, каждый из которых обеспечивает 50%-ную нагрузку котельного агрегата.
Питательный насос ПН-1500-350
Предвключённый насос ПД-1630-180
Конденсационный турбопривод ОК-18ПУ
Характеристики ПН:
Напор Н=350 [м]
Частота вращения n=4700 [об./мин.]
В одновальной турбине мощностью 800 МВт значительное технико-экономическое преимущество имеет конденсационный турбопривод вместо противодавленческого.
Приводная турбина главного питательного насоса является одновременно и приводом бустерного насоса, подключённого к турбоприводу через редуктор. Мощность каждого турбопривода при номинальной нагрузке турбины 15,2 МВт, максимальная частота вращения 4800 об./мин.
ДП 1005 495 ПЗ
Лист
изм
Лист
N документа
Подп
Дата
3.2.3 Выбор оборудования теплофикационной установки
Тепловая нагрузка 1900 ГДж/ч
На ГВС – 500 ГДж/ч
На отопление – 1400 ГДж/ч
Температурный график 150/70 С. Система ГВС закрытая.
Теплофикационная нагрузка одного блока
=475 ГДж/ч
Расход сетевой воды через подогреватель одной установки равен:
В связи с НТП по расходу сетевой воды выбираем ПСВ-90-7-15 (двухходовой по воде).
Табл.3.3
Х
арактеристики подогревателя сетевой воды
ПСП ОСП
Число ходов по воде 2 2
Давление пара МПа 0,78 0,25
Температура пара С 169,6 142,9
Номинальный расход пара кг/с 8,06 17,5
Давление воды МПа 1,57 2,35
Температура воды на входе 0С 110 70
Температура воды на выходе 0С 150 130
Номинальный расход воды кг/с 97,2 222,2
3.2.4 Выбор сетевых насосов
Расчётный расход сетевой воды на отопление:
Расчётный расход сетевой воды на ГВС:
Расчётный расход сетевой воды на ГРЭС:
ДП 1005 495 ПЗ
Лист
изм
Лист
N документа
Подп
Дата
В соответствии с НТП на блок устанавливаются два сетевых насоса
=396,7 т/ч – необходимая подача насоса. По подаче выбираем насос СЭ-500-70
Характеристика сетевого насоса
Напор Н=70 [м]
Допустимый кавитационный запас 10 м
Частота вращения n=3000 об./мин.
Мощность N=120 кВт
ДП 1005 495 ПЗ
Лист
изм
Лист
N документа
Подп
Дата
4 Определение потребности станции
в технической воде, выбор циркуляционных насосов
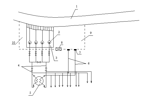
Система водоснабжения принимается прямоточная.
Принципиальная схема прямоточного водоснабжения
На гр.
На ВУ На На На м/о
ХВО охл.
подшипн.
1 – Источник водоснабжения
2 – Циркуляционные насосы
3 – Береговая насосная
4 – Напорные циркуляционные водоводы
5 – Конденсатор
6 – Сливные циркуляционные водоводы
7 – Сифонные колодцы
8 – Переключательные колодцы
9 – Сливной канал
10 – Перепускной канал
Рис.4.1
ДП 1005 495 ПЗ
Лист
изм
Лист
N документа
Подп
Дата
Напор циркуляционного насоса:
Нцн=Нг+Нс1 [м.вод.ст.]
Нс1=46 м.вод.ст. Нс1=4м
Нг=310 м.вод.ст.]
Нг= Нn Нc
Нc принимаем до 8,5 м, Нc=6м
Нn =812 м, Нn=12м
Нг=12-6=6м
Нцн=6+4=10м
Расход технической воды
Wт.в.=Wк+Wг.о.+Wм.о.+Wподш.
Где:
Wк – расход технической воды на котёл Wк=73000т/ч
Wг.о. – расход технической воды на охлаждение генератора
Wг.о.=2920 т/ч
Wм.о. – расход воды на охлаждение масла Wм.о.=1825т/ч
Wподш. – расход воды на подшипники Wподш.=5840т/ч
Wт.в.=73000+2920+1825+5840=83585 т/ч
В соответствии НТП на каждый блок берется 6 циркуляционных насосов. Wт.в/6=13430 т/ч
По расходу технической воды выбираем насос Оп2-110
Характеристики насоса:
Напор Н=9,416,2 м
Допустимый кавитационный запас 1011,7 м
Частота вращения n=485 об./мин.
Потребляемая мощность N=505897 кВт
ДП 1005 495 ПЗ
Лист
изм
Лист
N документа
Подп
Дата
5 ОПРЕДЕЛЕНИЕ ЧАСОВОГО РАСХОДА
ТОПЛИВА ЭНЕРГЕТИЧЕСКИХ КОТЛОВ
Технические характеристики топлива, газопровод
Саушино - Лог - Волгоград
Объемный состав газа:
СН4=96,1
С2Н4=0,7
С3Н8=0,1
С4Р10=0,1
С5Н12 и более тяжёлые - 0
N2=2,8
CO2=0,2
Теплота сгорания низшая сухого газа
Объём воздуха и продуктов сгорания
при 0 С и 0,1 МПа
VRO2=0,98
Принимаем температуру горячего воздуха tгв=300 С
Температура воздуха на входе в воздухоподогреватель
=30 С
Температура уходящих газов
=120 С
Расход топлива
Где:
Двтор – расход перегретого пара через вторичный пароперегреватель
Двтор=0,9Д
ДП 1005 495 ПЗ
Лист
изм
Лист
N документа
Подп
Дата
=2650(3324-1148,06)+2385(3544-2988)=7092301 МДж/ч
Располагаемое тепло топлива
[
]
Где:
q-сумма всех потерь
q6=0%
q5=0,5%
q4=0,5%
q5=0%
=2985 кДж/
по табл. п.4.2 или п.4.3 (2)
- коэффициент избытка воздуха в газоход
=1791+1489,8(1,7-1)=2791,2 кДж/
tхв – энтальпия холодного воздуха, tхв=30С
ДП 1005 495 ПЗ
Лист
изм
Лист
N документа
Подп
Дата
Расход резервного топлива:
- располагаемое тепло резервного топлива
=39,73 [
]
КПД котла брутто при работе на резервном топливе принимается по согласованию с руководителем
=90%.
ДП 1005 495 ПЗ
Лист
изм
Лист
N документа
Подп
Дата
7 РАСЧЁТ ДИАМЕТРОВ, ВЫБОР ТИПОРАЗМЕРОВ И МАТЕРИАЛА ГЛАВНЫХ ПАРОПРОВОДОВ И ПАРОПРОВОДОВ ПРОМЕЖУТОЧНОГО ПЕРЕГРЕВА
Пар от котла к турбине подводится двумя паропроводами к двум коробкам стопорных клапанов ЦВД турбины.
Начальные параметры пара перед турбиной:
Р0=240 атм.
t0=540С
Pп.п.=3,34 МПа
tп.п.=540С
Табл. 7.1
Параметры пара перед турбиной
| Наименование | Обозначение | Размерность | Источник информации | Численное значение |
| Расход пара на турбину (2 нитки) | Д0 | кг/с | [1] | 368 |
| Температура свежего пара | t0 | С | [1] табл. 5.5 | 540 |
| Давление свежего пара | Р0 | атм. | [1] табл. 5.5 | 240 |
| Скорость | м/с | [1] табл. 8.6 | 50 | |
| Плотность | [5] | 76,6 | ||
| Материал | | | [1] табл. 8.1. | 15Х1М1Ф |
| Допускаемое напряжение | | [1] табл. 3.5.4 | 760 | |
| Коэффициент сварки | | принимаем бесшовные | 1 | |
| поправка | с | м | [1] | 2 |
















