L2 (729939), страница 8
Текст из файла (страница 8)
| 11. АВТОМАТИЧЕСКИЕ СИСТЕМЫ ЗАЩИТЫ ТУРБИНЫ. Защита от повышения частоты вращения ротора. Частота вращения вала турбины должна поддерживаться вблизи постоянного значения с высокой точностью для поддержания частоты сети. Эту задачу выполняет специальная система регулирования. Увеличение частоты вращения на 10% сверх допустимой из-за отказа системы регулирования или по другим причинам вызывает срабатывание автомата безопасности, воздействующего на мгновенное закрытие стопорного клапана перед турбиной и на прекращение подачи пара в проточную часть. Защита от сдвига ротора. Вращающийся ротор имеет некоторую свободу продольного перемещения относительно статора. Численное значение этого перемещения весьма мало (до 1,2 мм для различных типов турбин) и ограничивается упорным подшипником турбогенератора. Однако из-за износа рабочих поверхностей или превышения расчетного усилия может произойти продольное смещение ротора, превышающее допустимое значение. Если при этом не принять соответствующих мер (частичный или полный сброс нагрузки, либо останов турбины), то чрезмерный сдвиг ротора вызовет повреждение концевых уплотнений или лопаточного аппарата турбины. Современные турбогенераторы оснащаются специальным защитным устройством, воздействующим на останов турбины при чрезмерном осевом сдвиге ротора. | ||||||
ДП 1005 495 ПЗ | Лист | |||||
| изм | Лист | N документа | Подп | Дата | ||
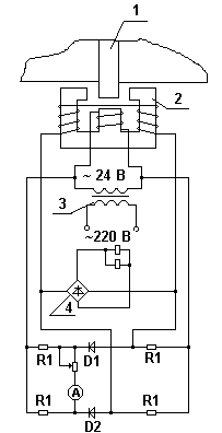
| Реле осевого сдвига ротора турбины.
Рис.111 | ||||||
ДП 1005 495 ПЗ | Лист | |||||
| изм | Лист | N документа | Подп | Дата | ||
















