elektrotex (722567)
Текст из файла
Электрорадиоматериалы
Методические указания к лабораторным работам
Санкт-Петербург
2000
УДК 621.315.4
Составители: ст. преп. Г. И. Иванова, доценты Г. А. Татарникова, Б. В. Фролов, С.А. Гусев.
Подготовка к переизд.: доценты С.А. Гусев, И.К. Желанкина, Л.Ф. Погромская; под ред. С.А.Гусева.
Электрорадиоматериалы. Методические указания к лабораторным работам./ Под ред. С.А.Гусева. Изд. второе пер. и доп.; Балт. гос. техн. ун -т, СПб., 2000, с.
Ил. 26, табл. 18.
©
Содержание
Работа 1. Исследование электрических свойств проводниковых материалов 4
1. Краткие сведения из теории 4
2. Описание экспериментальной установки 6
3. Порядок проведения работы 6
4. Оформление отчета 7
Работа 2. Исследование свойств терморезисторов 7
1. Краткие сведения из теории 7
2. Описание экспериментальной установки 9
3. Порядок выполнения работы. 9
4. Оформление отчета 10
Работа З. Исследование свойств варисторов 11
1. Краткие сведения из теории 11
2. Описание экспериментальной установки 12
3. Порядок выполнения работы 13
4. Оформление отчета 14
Работа 4. Исследование свойств фоторезисторов 14
1. Краткие сведения из теории 14
2. Описание экспериментальной установки 16
3. Порядок проведения работы. 16
4. Оформление отчета 17
Работа 6. Исследование свойств сегнетоэлектриков 17
1. Краткие сведения из теории 17
2. Описание экспериментальной установки 19
3. Порядок выполнения работы 19
4. Оформление отчета 21
Работа 7. Исследование свойств ферромагнитных материалов 21
1. Краткие сведения из теории 21
2. Описание экспериментальной установки 23
3. Порядок выполнения работы 24
4. оформление отчета 25
Работа 1. Исследование электрических свойств проводниковых материалов
Цель работы:
1) определение удельных сопротивлений проводниковых материалов низкого и высокого сопротивления и их зависимости от температуры;
2) определение зависимости величины электродвижущей силы термопар от температуры;
3) оценка длины свободного пробега электронов в различных проводниковых материалах.
1. Краткие сведения из теории
Основные свойства проводниковых материалов характеризуются величиной удельного сопротивления электрическому току , температурным коэффициентом удельного электрического сопротивления (ТК), величиной термоэлектродвижущей силы ЕТ.
Наилучшими проводниками электрического тока являются металлы. Механизм протекания тока в металлах, находящихся в твердом или жидком состояниях, обусловлен движением свободных электронов, поэтому металлы являются материалами с электронной электропроводностью.
Электропроводность металлов зависит от совершенства кристаллической решетки: чем меньше дефектов имеет кристаллическая решетка, тем выше электропроводность. Поэтому чистые металлы обладают наименьшими значениями удельного сопротивления, а сопротивление сплавов всегда выше сопротивлений металлических компонентов, входящих в их состав.
Металлические проводниковые материалы могут быть разделены на проводники малого сопротивления ( 0,1 мкОмм) – медь, серебро, алюминий и т. д., и проводники (сплавы) высокого сопротивления. Последние в свою очередь делятся на термостойкие сплавы для электронагревательных приборов – нихром, хромаль, фехраль и др., и термостабильные сплавы для образцовых резисторов – манганин, константан.
B соответствии с электронной теорией металлов:
где mo = 9,10910-31 кг, e = 1,60210-19 Кл – масса покоя и заряд электрона;
105 м/с – средняя скорость теплового движения электронов; no = 1028 м-3 — число электронов в единице объема; ср – средняя длина свободного пробега электронов.
В
еличина удельного электрического сопротивления проводников в основном зависит от средней длины свободного пробега электронов ср. С повышением температуры амплитуда колебаний узлов кристаллической решетки увеличивается, средняя длина свободного пробега электронов уменьшается (рис.1.1), а удельное сопротивление возрастает. произведение удельного сопротивления на величину средней длины свободного пробега электрона является величиной постоянной ср = а = const.
Температурным коэффициентом удельного сопротивления (ТК) называется относительное изменение удельного сопротивления при изменении температуры на один Кельвин (градус):
Зависимость удельного сопротивления от температуры вызывается не только уменьшением длины свободного пробега электронов, но и увеличением линейных размеров проводника. Поэтому имеет две составляющие: = R +l, (1.3)
где R – температурный коэффициент сопротивления в данном интервале температур; l – температурный коэффициент линейного расширения проводника, значения которого приведены в табл. 1.1. У чистых металлов l, поэтому для них R. для термостабильных металлических сплавов такое приближение не справедливо.
Таблица 1.1
Металлы и сплавы | l 10-4, K-1 |
Медь | 0,167 |
| Константан | 0,17 |
| Манганин | 0,181 |
| Нихром | 0,163 |
Температурный коэффициент электрического сопротивления (ТКR) резистора определяется выражением
г
де Ro –сопротивление проводника при температуре То. Производная
определяется по касательной к кривой R(T) (рис.1.2). Для определения производной dR/dT = dR/d (Т – температура в градусах Кельвина, – в °С) строится зависимость R() (рис. 1.2). При заданной температуре (точка A) проводится касательная к кривой R(), на которой выбирается участок ab произвольной длины. Производная определяется выражением dR/d R.
экспериментально удельное электрическое сопротивление определяется по формуле:
где R – электрическое сопротивление проводника, S, I – площадь поперечного сечения и длина проводника.
При соприкосновении двух различных металлов между ними возникает контактная разность потенциалов. Причиной этого являются неодинаковые значения работ выхода электронов и различные значения концентрации свободных электронов в соприкасающихся металлах.
Термопарой называется устройство, содержащее спай двух проводников или полупроводников. Если спай двух металлов А и В (термопара) имеет температуру T1, а свободные (неспаянные) концы температуру T2, причем T1>T2, то между свободными концами возникает термо-э.д.с.
где
– коэффициент термо-э.д.с. или относительная удельная термо-э.д.с., k=1,38110-23 Дж/К – постоянная Больцмана, е – заряд электрона, п1, п2 – концентрации свободных электронов в соприкасающихся металлах.
В термопарах используют проводники, имеющие большой и стабильный в рабочем диапазоне температур коэффициент термо-э.д.с.
2. Описание экспериментальной установки
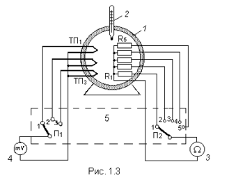
Э
кспериментальная установка изображена на рис. 1.3. Образцы проволочных резисторов R1–R4, изготовленные из меди, константана, манганина и нихрома, металлопленочный резистор МЛТ-1 (R5) и термопары ТП1–ТП3 помещаются в термостат 1 с термометром 2. Электрическое сопротивление резисторов измеряется омметром 3, э.д.с. термопар – милливольтметром 4. Переключатели П1 и П2 размещены на плате 5 и позволяют поочередно подключать к измерителям исследуемые проводники и термопары. Там же приведена таблица с указанием вида, длины и сечения исследуемых проводников.
3. Порядок проведения работы
Внимание: все измерения по последующим пунктам проводятся одновременно.
3.1. Определение удельного электрического сопротивления проводников и вычисление R, .
Проводники, помещенные в термостат, поочередно подключить к входным зажимам омметра и замерить их сопротивления сначала при комнатной температуре, а затем при повышении температуры до 90 °С с шагом 10 оС. Результаты измерений записать с максимальной точностью в табл.1.2.
Таблица 1.2
| проводник | , oС | 20 | 30 | 40 | 50 | 60 | 70 | 80 | 90 |
| медь | R1 | ||||||||
| 1 | |||||||||
| R1 | |||||||||
| 1 | |||||||||
Константан | R2 | ||||||||
| … | |||||||||
| … | … |
3.2. Определение зависимости термо-э.д.с термопар от температуры.
Одновременно с нагреванием проводников нагреваются помещенные в термостат спаи трех термопар. Холодные концы термопар поочередно подключить переключателем П1 к милливольтметру. Значения измеренных термо-э.д.с. занести в табл. 1.3.
Таблица 1.3
| , °С | ET, мВ | ||
Термопара | |||
| медь – константан | хромель – алюмель | хромель – копель | |
| 20 | |||
| … | |||
| 90 | |||
4. Оформление отчета
-
Привести схемы экспериментальных установок, данные измерительных приборов и исследуемых элементов, а также таблицы измерений.
-
По данным измерений табл. 1.1 построить график зависимости R(). По графику R(), а также по формулам (1.3), (1.5) рассчитать и занести в таблицу 1.1 значения R, , и для каждого из исследованных проводников. По данным таблицы 1.1 построить графики зависимостей R(), (), R() и .
-
Рассчитать длины свободного пробега электронов для исследованных проводников при комнатной температуре.
-
По данным таблицы 1.2 и по формуле (1.6) рассчитать средние значения относительной удельной термо-э.д.с. для исследованных термопар. построить графики зависимостей ЕТ().
-
Привести краткое описание исследованных в работе материалов (химический состав, электрические свойства, области применения).
-
Дать краткие выводы по результатам работы.
Контрольные вопросы
-
Какие материалы относятся к классу проводников?
-
Чем обусловлена высокая электропроводность проводников?
-
Как можно классифицировать проводники?
-
Какие факторы и почему влияют на удельное электрическое сопротивление?
-
Что такое температурный коэффициент удельного сопротивления?
-
Для каких материалов и почему важно учитывать линейное расширение при нагревании?
-
Что такое термо-э.д.с., в чем причина ее возникновения?
-
Исходя из каких соображений подбираются материалы для термопар?
Работа 2. Исследование свойств терморезисторов
Цель работы:
Характеристики
Тип файла документ
Документы такого типа открываются такими программами, как Microsoft Office Word на компьютерах Windows, Apple Pages на компьютерах Mac, Open Office - бесплатная альтернатива на различных платформах, в том числе Linux. Наиболее простым и современным решением будут Google документы, так как открываются онлайн без скачивания прямо в браузере на любой платформе. Существуют российские качественные аналоги, например от Яндекса.
Будьте внимательны на мобильных устройствах, так как там используются упрощённый функционал даже в официальном приложении от Microsoft, поэтому для просмотра скачивайте PDF-версию. А если нужно редактировать файл, то используйте оригинальный файл.
Файлы такого типа обычно разбиты на страницы, а текст может быть форматированным (жирный, курсив, выбор шрифта, таблицы и т.п.), а также в него можно добавлять изображения. Формат идеально подходит для рефератов, докладов и РПЗ курсовых проектов, которые необходимо распечатать. Кстати перед печатью также сохраняйте файл в PDF, так как принтер может начудить со шрифтами.















