elektrotex (722567), страница 3
Текст из файла (страница 3)
ВАХ варистора (рис. 3.1), как и всякого нелинейного резистора, в рабочей точке (точка А) характеризуется статическим и дифференциальным сопротивлениями
где МU, MI — масштабы по осям координат.
Степень нелинейности ВАХ оценивается коэффициентом нелинейности
который у варисторов довольно велик ( = 2…7) и несколько меняется в различных точках ВАХ. Разделяя переменные в выражении (3.2) и интегрируя, можно получить аналитическую аппроксимацию ВАХ варистора
, (3.3)
где В – постоянная, зависящая от свойств полупроводникового материала и геометрических размеров варистора.
В
аристоры широко применяются в технике для защиты от перенапряжений (искрогасители), в стабилизаторах и ограничителях напряжения, в преобразователях сигнала (умножители частоты). В данной работе исследуется мостовой стабилизатор напряжения на варисторах (рис. 3.2). напряжение на выходе стабилизатора равно разности напряжений на варисторе (U) и на линейном резисторе (UR): Uвых = U - UR. С ростом входного напряжения Uвх растет ток в элементах моста. Выходное напряжение, как видно из рис. 3.3, вначале увеличивается, затем падает до нуля и после изменения знака снова растет по абсолютной величине. Внешняя характеристика стабилизатора Uвых(Uвх) в режиме холостого хода приведена на рис. 3.4.
Выходное напряжение остается приблизительно постоянным при изменении входного напряжения от Uвх1 до Uвх2, когда величина дифференциального сопротивления варистора равна или близка к величине сопротивления линейного резистора. Количественной оценкой стабилизации напряжения является коэффициент стабилизации
При синусоидальном входном напряжении мост стабилизирует действующее значение выходного напряжения. Последнее содержит третью гармонику, удельный вес которой возрастает с ростом амплитуды входного напряжения.
2. Описание экспериментальной установки
Вольтамперные характеристики варистора снимаются по схеме рис. 2.5. Осциллографическое исследование варистора проводится по схеме рис. 3.5.
И
змерительной цепь питается от задающего генератора ЗГ. Переключатель П подключает на вход осциллографа ЭО варистор или (для масштабирования осциллографа) линейный резистор R. на вертикальные пластины ЭО подается напряжение с линейного резистора Rо, пропорциональное току через варистор, на горизонтальные пластины – напряжение на варисторе. Таким образом, на экране осциллографа воспроизводится динамическая ВАХ исследуемого элемента. Входное напряжение измеряется цифровым вольтметром V.
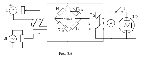
Исследование мостового стабилизатора на варисторах проводится по схеме рис.3.6. Питание осуществляется или от источника постоянного напряжения, или от задающего генератора в зависимость от положения переключателя П1.
Переключатель П2 служит для переключения вольтметра и осциллографа к входным или выходным зажимам моста.
3. Порядок выполнения работы
-
Снятие вольтамперной характеристики варистора на постоянном токе
Подать питание на измерительную схему рис. 2.5. Изменяя входное напряжение от 0 до 60 В, замерить и записать в табл. 3.1 значения тока через варистор (6…8 точек).
Таблица 3.1
| Oпыт | Расчет | |||
| U | I | rct | Rд | |
В | мА | Ом | – | |
-
Осциллографическое исследование варистора.
Подать питание на схему рис.3.5. Зарисовывать на кальку ВАХ варистора при напряжении на входе 60 В. Определить масштабы по току (по оси у) и по напряжению (по оси x) для чего, не трогая регуляторов усиления осциллографа, переключатель П1 перевести в положение «2». На экране осциллографа получится наклонная прямая – ВАХ линейного резистора. Регулируя напряжение, добиться того, чтобы ее крайние точки не выходили за пределы экрана осциллографа. Масштабы (при R >> Ro) рассчитываются следующим образом:
где U – напряжение, измеренное вольтметром, X, Y – проекции ВАХ на оси х, у.
-
Исследование мостового стабилизатора напряжения на варисторах
Опыт проводится по схеме рис. 3.6 в режиме холостого хода (Rн = ).
а) Исследование моста на постоянном токе.
Отключить осциллограф рубильником К. Переключатель П2 установить в положение «1». Подключить к схеме источник постоянного напряжения и регулируя его напряжение, установить по цифровому вольтметру V напряжение Uвх на входе стабилизатора 10 В. Установить переключатель П2 в положение «2» и измерить напряжение Uвых на выходе стабилизатора. Провести аналогичные измерения при увеличении входного напряжения до 80 В (через 10 В). Результаты опыта занести в табл.3.2. Коэффициент стабилизации рассчитывается по формуле 3.4.
Таблица 3.2
| Uвх, В | Uвых =, В | Uвых , В | Kст = | Kст |
| 0 | 0 | 0 | ||
| 10 | ||||
| 20 | ||||
| … | ||||
| 80 |
После проведения опытов отключить от схемы источник постоянного напряжения.
б) Исследование моста на переменном токе.
Включить осциллограф и подключить его к исследуемой цепи, замкнув рубильник К. Переключить клеммы и переключатель рода работы цифрового вольтметра в режим измерения переменного напряжения. Подать на вход схемы переменное напряжение от задающего генератора ЗГ и провести измерения, аналогичные п. 3.3.а. Результаты измерений занести в табл. 3.2. Для трех значений напряжения, соответствующих участкам ab, bc и cd на рис.3.4, снять на кальку осциллограммы напряжений Uвых(t).
4. Оформление отчета
-
Привести схемы экспериментальных установок, данные измерительных приборов и исследуемых элементов, а также таблицы с результатами измерений и вычислений.
-
По данным таблицы 3.1 построить ВАХ варистора, снятую на постоянном токе.
-
Построить с указанием масштабов по осям ВАХ варистора на переменном токе.
-
По данным табл. 3.2 построить характеристики «вход-выход» стабилизатора напряжения Uвых(Uвх), снятые на постоянном и переменном токе.
-
Привести качественные осциллограммы напряжений на выходе мостового стабилизатора.
-
Дать краткие выводы по работе.
Контрольные вопросы.
-
Что называется варистором? Из каких материалов их изготавливают?
-
Чем обусловлена нелинейность ВАХ варистора?
-
Что такое степень нелинейности и как используя этот параметр можно аппроксимировать ВАХ варистора?
-
Где применяют варисторы и почему?
-
Как устроен и как работает мостовой стабилизатор напряжения на варисторах?
-
Каким параметром оцениваются стабилизирующие свойства стабилизатора напряжения?
-
Как степень нелинейности ВАХ варистора влияет на величину коэффициента стабилизации?
-
Как получить ВАХ варистора на экране осциллографа?
Работа 4. Исследование свойств фоторезисторов
Цель работы – исследование основных характеристик фоторезисторов:
1) определение зависимости величины сопротивления от освещенности;
2) получение вольтамперных характеристик при различных значениях освещенности;
3) определение зависимости фототока от величины освещенности
4) определение интегральной чувствительности.
1. Краткие сведения из теории
Фоторезистором называется полупроводниковый резистор, сопротивление которого изменяется под действием оптического излучения.
Работа некоторых полупроводниковых элементов основана на использовании фотоэлектрического эффекта – явления взаимодействия электромагнитного излучения с веществом, в результате которого энергия фотонов передается электронам вещества. В твердых и жидких полупроводниках различают внешний и внутренний фотоэффекты. В первом случае поглощение фотонов сопровождается вылетом электронов из вещества. Во втором – электроны, оставаясь в веществе, переходят из заполненной энергетической зоны в зону проводимости, обуславливая появление фотопроводимости. В газах фотоэффект состоит в ионизации атомов или молекул под действием излучения. Внутренний фотоэффект, возникающий в паре из электронного и дырочного полупроводников, понижает контактную разность потенциалов, выполняя непосредственное преобразование электромагнитного излучения в энергию электрического поля, что используется в фотодиодах, фототранзисторах. Наиболее ярко внутренний фотоэффект выражен в таких полупроводниковых материалах как селен, германий, кремний, различные селенистые и сернистые соединения таллия, кадмия, свинца и висмута. Из этих материалов изготавливают фотоэлементы и фоторезисторы.
В отсутствие облучения фоторезистор обладает некоторым большим сопротивлением Rт, которое называется темновым. Величина темнового сопротивления определяется температурой и чистотой полупроводника. При приложении к фоторезистору разности потенциалов в цепи возникает ток I = Iо+ Iф, (4.1)
г
де Iо – темновой ток, Iф – фототок. Зависимость фототока от освещенности (светового потока) называется световой характеристикой (рис. 4.1). Фоторезисторы обладают линейной вольтамперной характеристикой, получаемой при неизменной освещенности Е (рис. 4.2).
Основным параметром фоторезисторов является интегральная чувствительность, под которой понимают отношение фототока к вызвавшему его появление световому потоку белого (немонохромного) света и приложенному напряжению:
г
де S – облучаемая площадь фоторезистора, Gф – фотопроводимость,
– световой поток. Интегральная чувствительность выражается в микро- или миллиамперах на вольт-люмен (мкА/Влм, мА/Влм). С ростом освещенности величина интегральной чувствительности уменьшается, так как световая характеристика Iф(E) имеет зону насыщения.















