elektrotex (722567), страница 5
Текст из файла (страница 5)
Переполяризация сегнетоэлектрика связана с достаточно большими затратами энергии. Электрическая мощность, затрачиваемая за один цикл, пропорциональна площади гистерезисной диаграммы SDE и объему сегнетоэлектрика V. При периодической переполяризации мощность пропорциональна частоте f.
где MD, ME – масштабы осей в координатах «смещение-напряженность», MQ, MU – масштабы осей в координатах «заряд-напряжение».
В качестве оценки диэлектрических потерь часто применяют тангенс угла диэлектрических потерь, который может быть определен из выражения для активной мощности, потребляемой конденсатором. При параллельной схеме замещения конденсатора:
П
оляризация сегнетоэлектриков в сильной степени зависит от температуры. У большинства сегнетоэлектриков гистерезис и нелинейность кулон-вольтной характеристики проявляются при всех температурах вплоть до некоторой предельной, которая соответствует максимуму диэлектрической проницаемости и называется точкой Кюри. Выше этой температуры происходит обратимое изменение структуры материала (разрушение доменов) и исчезновение сегнетоэлектрических свойств. Диэлектрическая проницаемость при этом резко уменьшается (рис. 6.3).
сегнетоэлектрическими свойствами обладают сегнетова соль, титанат бария, титанат и ниобат лития и др. Сегнетоэлектрики применяются в электрических конденсаторах большой емкости, нелинейных конденсаторах (вариконды), в пьезоэлектрических излучателях и приемниках звука и ультразвука, в качестве нелинейных элементов в оптических системах, электронике и вычислительной технике и т.д.
2
. Описание экспериментальной установки
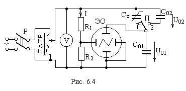
Схема осциллографического исследования сегнетоэлектриков показана на рис. 6.4. Установка питается от сети переменного тока с напряжением 220 В. Напряжение на входе измерительной цепи регулируется с помощью лабораторного автотрансформатора (ЛАТРа). Емкость исследуемого плоского сегнетоэлектрического конденсатора Сx, значительно меньше (на один-два порядка) емкости образцового конденсатора Со1. Поэтому, когда конденсатор Сx подключен (переключатель П в положении «1»), заряд в измерительной цепи
, т. е. полностью определяется свойствами нелинейного конденсатора, и напряжение Uо1, подаваемое на вертикальные пластины электронного осциллографа (ЭО), пропорционально заряду Qx. На горизонтальные пластины осциллографа через делитель Rl - R2 подается часть общего напряжения U Ux. Погрешность будет тем меньше, чем больше отношение емкостей Cо1 и Сx. В результате на экране осциллографа будет наблюдаться гистерезисная диаграмма поляризации Q(U). Положение «2» переключателя П, когда подключается емкость Со2 << Со1 , служит для определения масштабов осциллографа по осям x и у.
3. Порядок выполнения работы
-
Снятие основной кривой поляризации и определение диэлектрической проницаемости сегнетоэлектрика.
Собрать измерительную цепь в соответствии со схемой на рис. 6.4. Перевести переключатель П в положение «1». Установить на входе цепи напряжение 120 В. На экране осциллографа должна наблюдаться гистерезисная диаграмма поляризации сегнетоэлектрика. Подобрать масштаб по вертикальной оси осциллографа так, чтобы изображение занимало весь экран.
Внимание: в процессе выполнения последующих пунктов лабораторной работы не допускается изменять положение масштабного переключателя осциллографа.
Измерить и записать в табл. 6.2 координаты вершины гистерезисного цикла: xm, ym (координаты вершины можно определить как половину размаха изображения по горизонтальной и вертикальной осям экрана). Повторить измерения, изменяя входное напряжение как показано в табл.6.2.
Таблица 6.2
h = мм, d = мм, S = d 2 /4 = м2.
| Опыт | Расчет | |||||||
| U | xm | yт | Um | Qm | Dm | Ет | | o |
| В | мм | мм | В | мкКл | Кл/м2 | кВ/м | мкФ/м | — |
| 120 | ||||||||
| 100 | ||||||||
| 80 | ||||||||
| 60 | ||||||||
| 40 | ||||||||
| 20 | ||||||||
При расчете использовать формулы:
,
где h, S – соответственно толщина и площадь слоя сегнетоэлектрика.
-
Определение масштабов по осям экрана осциллографа.
Переключатель П установить в положение «2». Вращением регулировочной рукоятки ЛАТРа, установить на входе цепи напряжение в пределах 40…60 В. На экране осциллографа должна наблюдаться наклонная прямая линия, представляющая кулон-вольтную характеристику Q(U) линейного диэлектрика конденсатора Со2. Занести в табл. 6.1 значения напряжения U и размаха колебаний луча осциллографа по горизонтали – х и вертикали – у.
Таблица 6.1
| Измерение | Расчет | Примечание | |||
| U, В | х, мм | у, мм | MU, В/мм | MQ, Кл/м | Со1 = мкФ, Со2 = мкФ |
Масштабы по осям координат определяются по следующим формулам:
-
Определение потерь в сегнетоэлектрике при комнатной температуре.
Устанавливая поочередно на входе цепи напряжение 60, 80, 120 В зарисовать на кальку осциллограммы петли гистерезиса. В табл. 6.3 занести координаты вершин гистерезисных циклов.
Таблица 6.3
| Измерения | Расчет | ||||||
| U | xm | ym | SQU | Um | Qm | Pг | tg |
| В | мм | мм | мм2 | В | мкКл | мВт | – |
| 60 | |||||||
| 80 | |||||||
| 120 | |||||||
4. Оформление отчета
-
Привести схему экспериментальной установки, данные измерительных приборов и исследуемого элемента.
-
Оформить таблицы с результатами измерений и вычислений. При вычислении Um и Qm использовать координаты вершин осциллограмм гистерезисного цикла с учетом масштабов по осям осциллографа (табл. 6.1). Площадь гистерезисного цикла SQU (табл. 6.3) определяется непосредственно по осциллограммам путем подсчета числа квадратных миллиметров (по миллиметровой бумаге), укладывающихся внутри петли.
-
По данным табл. 6.2 построить основную кривую поляризации D(E) и график зависимости относительной диэлектрической поляризации от напряженности электрического поля r(Е).
-
Привести осциллограммы гистерезисных циклов для трех значений напряжения на сегнетоэлектрическом конденсаторе.
-
Дать краткие выводы по работе.
Контрольные вопросы
-
Что называют сегнетоэлектриками? Какие материалы обладают сегнетоэлектрическими свойствами?
-
Что такое диэлектрическая проницаемость, как ее можно практически определить?
-
Почему диэлектрическая проницаемость сегнетоэлектриков значительно превышает проницаемость обычных диэлектриков и зависит от напряженности внешнего электрического поля?
-
В чем причина возникновения гистерезиса при поляризации сегнетоэлектриков?
-
Как происходит процесс поляризации сегнетоэлектриков?
-
Почему вольтамперная характеристика сегнетоэлектрических конденсаторов нелинейна?
-
Какими параметрами характеризуют потери мощности в диэлектриках?
-
Как и почему зависит диэлектрическая проницаемость сегнетоэлектриков от температуры?
-
Как получить на экране осциллографа кулон-вольтную характеристику?
-
Назовите области применения сегнетоэлектриков.
Работа 7. Исследование свойств ферромагнитных материалов
Цель работы – экспериментальное подтверждение основных теоретических положений, определяющих физические процессы, происходящие в ферромагнитных телах при их периодическом перемагничивании; приобретение практических навыков в определении потерь в ферромагнетике, их разделении, снятии основной кривой намагничивания B(H) и оценке магнитных характеристик материала.
1. Краткие сведения из теории
Ферромагнитные материалы (Fe, Ni, Co и их сплавы) обладают особыми магнитными свойствами: высокое значение относительной магнитной проницаемости и ее сильная зависимость от напряженности внешнего магнитного поля, при перемагничивании наблюдается магнитный гистерезис, обусловленный наличием доменов – областей спонтанной намагниченности.
Основной причиной магнитных свойств вещества являются внутренние скрытые формы движения электрических зарядов в его атомах – вращение электронов вокруг собственных осей (спиновый магнитный момент) и вокруг ядра (орбитальный магнитный момент). У ферромагнетиков даже при отсутствии внешнего магнитного поля имеются домены с параллельной или антипараллельной ориентацией спинов электронов. Такое вещество находится в состоянии спонтанного (самопроизвольного) намагничивания. В различных доменах эта ориентация различна. Если материал не подвергается воздействию внешнего магнитного поля, суммарный магнитный момент всех доменов и магнитный поток такого тела во внешнем пространстве равны нулю.
При намагничивании внешним магнитным полем происходит поворот векторов магнитных моментов доменов в направлении поля и смещение границ доменов. С увеличением напряженности поля этот процесс замедляется (явление насыщения).
П
ри периодическом перемагничивании ферромагнитного материала наблюдается явление магнитного гистерезиса, т. е. отставание изменения магнитной индукции от изменения напряженности поля. На рис. 7.1 показаны гистерезисные диаграммы при различных предельных значениях напряженности внешнего магнитного поля. Кривая, проходящая через вершины этих диаграмм, называется основной кривой намагничивания B=f(H). Гистерезисный цикл, при котором достигается насыщение ферромагнитного материала, называется предельным. По нему определяется остаточная индукция Вr (при H = 0) и коэрцитивная сила Нc (при B = 0).
Способность материала к намагничиванию характеризуется абсолютной магнитной проницаемостью = В/Н . (7.1)
На рис. 7.2 показана основная кривая намагничивания B=(H) и зависимость абсолютной магнитной проницаемости от напряженности внешнего магнитного поля. При определенной величине напряженности достигает максимума. Точка а, характеризующая этот режим, соответствует касательной Оа, проведенной к основной кривой намагничивания из начала координат. Проницаемость, определенную в очень слабых полях, называют начальной (н).
Одновременному намагничиванию ферромагнитных материалов постоянным и переменным полем малой амплитуды Нт соответствует частный гистерезисный цикл с вершинами /—2, лежащими на основной кривой намагничивания (см. рис. 7.2). При этом реверсивная (обратимая) проницаемость определяется положением вершин этого цикла:
где МB, МH – масштабы по осям координат, – угол наклона к оси абсцисс прямой, соединяющей вершины частного гистерезисного цикла. Аналогично определяется дифференциальная магнитная проницаемость:
(7.2)
где – угол наклона касательной к основной кривой намагничивания в искомой точке.
Для всех упомянутых проницаемостей чаще всего определяется их относительные значения
где о = 410-7 Гн/м – магнитная постоянная.
Материалы с узкой петлей гистерезиса (Hc 1 кА/м) называют магнитомягкими, материалы с широкой петлей – магнитотвердыми.
При перемагничивании ферромагнитных материалов в них возникают потери на гистерезис и вихревые токи. При постоянной амплитуде индукции (Bm = const) потери на гистерезис пропорциональны частоте, а потери на вихревые токи – квадрату частоты:
Измерив в этих условиях суммарные магнитные потери Pм1 и Рм2 при двух различных частотах, можно определить постоянные
Для выполнения условия Вm = сопst необходимо действующее значение напряжения намагничивающей катушки изменять пропорционально частоте (U1/f = const).
Суммарные магнитные потери могут быть определены по площади
динамической вебер-амперной диаграммы (i):
где Mi, M – масштабы, принятые по осям координат.
Параллельная ориентация спинов в магнитных доменах имеет место только ниже определенной для данного ферромагнетика температуры – точки Кюри. При превышении этой температуры спонтанная намагниченность исчезает, и магнитная проницаемость резко падает.
2. Описание экспериментальной установки
С
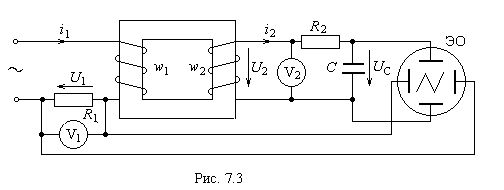
хема установки для исследования свойств ферромагнитных материалов приведена на рис. 7.3.
Схема питается от задающего генератора. Исследуемый ферромагнетик представляет собой тороидальный магнитопровод с двумя обмотками. Последовательно с намагничивающей обмоткой w1 включено небольшое сопротивление R1, напряжение на котором, пропорциональное току i1, подается на горизонтальные пластины осциллографа и на вольтметр V1. На зажимы измерительной обмотки w2 включена интегрирующая цепочка с большим сопротивлением R2 и большой емкостью С. В схеме выбрано
поэтому
где S – сечение сердечника, kо – постоянная, 1 – потокосцепление обмотки w1.
Таким образом, на экране осциллографа можно наблюдать вебер-амперную характеристику 1(i). При этом масштабы по осям:
где x, y – размах осциллограммы по горизонтали и вертикали соответственно.
Для измерения напряжений на резисторе R1 и на вторичной обмотке w2 применены цифровые вольтметры с большим входным сопротивлением.
3. Порядок выполнения работы
-
Определение масштабов осциллографа Mi, М и магнитных потерь на частоте f = 50 Гц.
Установить на входе цепи напряжение частотой 50 Гц, при котором на экране осциллографа наблюдается предельный гистерезисный цикл (когда дальнейшее увеличение входного напряжения не вызывает значительного роста индукции). Регулировкой усиления вертикального и горизонтального каналов осциллографа добиться, чтобы диаграмма заняла не менее 2/3 экрана. Занести в табл. 7.1 показания вольтметров V1, V2 и размах осциллограммы по горизонтали и вертикали, зарисовать осциллограмму на кальку. Площадь гистерезисного цикла Si определяется непосредственным подсчетом числа квадратных миллиметров (по миллиметровой бумаге), укладывающихся внутри петли.
Таблица 7.1
| Измерения | Расчет | Примечание | |||||||||
| f | U1 | U2 | x | у | Si | Мi | M | I | | Pст | w1 = витков w2 = витков D = мм d = мм h = мм R1 = Ом R2 = кОм |
| Гц | В | В | мм | мм | мм2 | мА/мм | Вб/мм | мА | Вб | мВт | |
| 50 | |||||||||||
| 400 | |||||||||||
-
Определение магнитных потерь на частоте 400 Гц.
Изменить частоту входного напряжения до 400 Гц. Увеличивая напряжение на выходе задающего генератора (примерно в 8 раз), установить размах осциллограммы по вертикальной оси (m) такой же, как в предыдущем опыте. Произвести измерения и занести результаты в табл. 7.1. Осциллограмму перенести на кальку.
-
Снятие основной кривой намагничивания.
Установить частоту входного напряжения 50 Гц. Изменяя величину входного напряжения, определить координаты xm и уm вершин гистерезисных циклов. Результаты занести в табл. 7.2.
Таблица 7.2
| Измерения | Расчет | |||||||
| xm | ym | Im | m | Hm | Bm | | r | дr |
| мм | мм | мА | Вб | А/м | Тл | Гн/м | – | – |
4. Оформление отчета
-
Привести схему исследований, данные приборов и исследуемого образца ферромагнитного материала.
-
Перенести на миллиметровку осциллограммы вебер-амперных характеристик (i), снятые при частотах 50 Гц и 400 Гц, с обозначением и оцифровкой в соответствии с масштабами осей координат. Определить параметры предельного гистерезисного цикла Bm, Br, Hc и, используя справочные таблицы, сделать вывод о материале исследованного ферромагнетика.
-
Оформить таблицы с результатами измерений и расчетов. При расчете масштабов использовать формулы (7.7). Значения тока Im и потокосцепления m определяются по координатам xm, ym с учетом масштабов. Расчет индукции Bm и напряженности Hm выполнить по формулам: Bm = m/w1S, Hm = w1Im/lср, где S = (D – d)h/2, lср = (D + d)/2 – соответственно площадь поперечного сечения и длина средней линии магнитного образца.
-
По результатам расчета табл. 7.2 построить основную кривую намагничивания B(H) и зависимости r (H), д(H).
-
Рассчитать удельные магнитные потери при частотах 50 и 400 Гц по формуле Pм.уд= Pм/Vст, где Vcт = (D2 - d2)hkс – объем стали, kc = 0,98—коэффициент заполнения образца сталью; D, d, h – диаметры и высота стального тороида. По формулам (7.4) разделить суммарные потери в стали на потери на вихревые токи и потери на гистерезис. Результаты расчетов занести в табл. 7.3.
Таблица 7.3
| f, Гц | Pст уд., мВт/м3 | kг, Втс | kв, Втс2 | Pг, мВт | Pв, мВт |
-
Сделать краткие выводы по работе.
Контрольные вопросы
-
Какие материалы относят к классу ферромагнетиков?
-
В чем причина сильных магнитных свойств ферромагнетиков?
-
Что такое предельный гистерезисный цикл намагничивания? Какие параметры из него определяют?
-
Что такое магнитная проницаемость, какие существуют ее виды?
-
Как происходит процесс намагничивания ферромагнетиков?
-
Как и от каких факторов зависит магнитная проницаемость?
-
Какие потери возникают в ферромагнетике при его периодическом перемагничивании?
-
Что такое магнитомягкие и магнитотвердые ферромагнетики? Которые из них обладают меньшими потерями и почему?
-
Как практически можно разделить потери в ферромагнетике по видам?
-
Как получить на экране осциллографа характеристику намагничивания?
-
Назовите области применения сегнетоэлектриков.
Рекомендуемая литература
-
Пасынков В. В. Материалы электронной техники. М.: Высшая школа, 1980.
-
Богородицкий Н. П., Пасынков В. В., Тареев Б. М. Электротехнические материалы. Л.: Энергия, 1977.
-
Справочник по электротехническим материалам. Тт. 1 – 3/ Под ред. Д. В. Корицкого и др. Л.: Энергия, 1974—1976.
26















