135691 (722521)
Текст из файла
Министерство образования Российской Федерации
Уральский Государственный Технический Университет - УПИ
Кафедра "ВЧСРТ"
Реферат
по курсу
«Техническая электродинамика»
Преподаватель: Князев С.Т.
Студент: Черепанов К.А.
Группа: Р-307
Екатеринбург
2002
Содержание
1 Согласованные нагрузки для линий передачи 2
2 РЕАКТИВНЫЕ ЭЛЕМЕНТЫ 4
2.1 Поршни 4
2.2 Диафрагмы 5
2.3 Штыри 7
3 РАЗЪЕМЫ И СОЧЛЕНЕНИЯ В ТРАКТАХ СВЧ 8
3.1 Соединители волноводных трактов 8
4 ПОВОРОТЫ ЛИНИЙ ПЕРЕДАЧИ 10
5 ПЕРЕХОДЫ МЕЖДУ ЛИНИЯМИ ПЕРЕДАЧИ РАЗЛИЧНЫХ ТИПОВ 11
Библиографический список 16
1Согласованные нагрузки для линий передачи
Одним из наиболее распространенных элементов трактов являются согласованные нагрузки, предназначенные для поглощения передаваемой по линии СВЧ - мощности. Согласованные нагрузки применяют также в качестве эквивалентов антенн при настройке передающей аппаратуры и в виде меры сопротивления в измерительных СВЧ - устройствах (например, в установках для измерения матриц рассеяния многополюсников).
Основной электрической характеристикой согласованной нагрузки является величина модуля ее коэффициента отражения
(или соответствующие величины КБВ или КСВ) в заданной полосе частот. На практике возможно создание нагрузок с |
|0,01 в относительной полосе частот f c/fo=20-30 % и более. Ввиду малости |
| требования к фазе коэффициента отражения от нагрузки не предъявляются, и эта фаза может иметь любую величину в интервале от 0 до 2 .
Важной характеристикой нагрузки является величина допустимой поглощаемой мощности. Существуют нагрузки для низкого уровня мощности (1 Вт) и нагрузки, предназначенные для высокого уровня мощности.
Конструктивное выполнение нагрузок зависит от типа линии передачи, диапазона частот и уровня мощности. Различают сосредоточенные и распределенные нагрузки, причем последние путем увеличения размеров и массы могут быть выполнены на большую мощность.
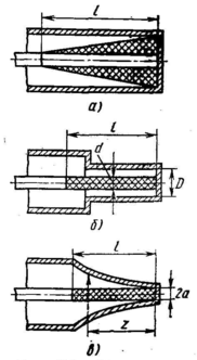
В коаксиальном тракте простейшей нагрузкой является сосредоточенный резистор с сопротивлением, равным волновому сопротивлению линии передачи. Однако на сантиметровых волнах размеры резистора соизмеримы с длиной волны, входное сопротивление становится частотно-зависимым и качество согласования заметно ухудшается. Для снижения коэффициента отражения и расширения рабочей полосы частот коаксиальные нагрузки сантиметрового диапазона волн часто выполняют в виде отрезков нерегулярной линии передачи с потерями. Поглощающие элементы в таких нагрузках могут быть объемными или в виде тонких поглощающих пленок. Коаксиальная нагрузка с объемным поглощающим элементом в виде конуса показана на рис.1, а. Хорошее качество согласования в этой конструкции достигается при длине поглощающего элемента 1.
Более распространены коаксиальные нагрузки с поглощающими элементами в виде керамических цилиндров, покрытых металлооксидными или углеродистыми проводящими пленками. Толщину пленки выбирают малой по сравнению с глубиной погружения тока, поэтому поверхностное сопротивление пленки почти не зависит от частоты. Чтобы входные сопротивления коаксиальных нагрузок с цилиндрическими поглощающими элементами были чисто активными и почти не менялись в значительном интервале частот, такие нагрузки снабжают нерегулярными металлическими экранами со специально подобранными профилями и размерами.
На рис.1, б показана коаксиальная нагрузка с экраном ступенчатой формы. Найдено, что оптимальное качество согласования при .61получается при выборе уменьшенного диаметра экрана в соответствии с соотношением:
, где ZB — волновое сопротивление основного коаксиального волновода. Длина уступа внешнего проводника должна быть несколько меньше длины пленочного поглощающего элемента.
Наиболее широкополосные коаксиальные нагрузки имеют внешний экран воронкообразной формы (рис.1, в). Например, при выборе формы экрана в соответствии с уравнением r(г)=аеАг (где а — диаметр внутреннего проводника коаксиального волновода; А — константа) нагрузка оказывается работоспособной при А>l. Существуют и более широкополосные коаксиальные нагрузки, экран которых имеет профиль в виде специальной кривой — трактрисы.
Согласованные нагрузки для полосковых линий передачи представляют собой тонкопленочные полоски из резистивных материалов, нанесенные на полосковую плату и закороченные с одного конца на экран полосковой линии. Толщину полоски подбирают в несколько раз меньше глубины проникновения тока, а длина полоски может быть малой по сравнению с длиной волны. Однако из-за небольшой площади теплоотвода такие сосредоточенные нагрузки выдерживают лишь небольшую мощность. Для увеличения рассеиваемой мощности нагрузки выполняют в виде протяженных (l~) отрезков регулярных или нерегулярных линий передаче с потерями.
Рис. 1 Коаксиальные согласованные нагрузки
При этом необходим специальный подбор формы поглощающей поверхности. В полосковых узлах СВЧ применяют также навесные нагрузки в виде керамических пластинок или стержней с нанесенным пленочным поглощающим покрытием. На полосковых платах при выполнении нагрузок и в других случаях части возникают трудности с осуществлением короткого замыкания полосковых проводников на экраны полосковых линий. При узкой полосе частот f c/fo=5-8% эти трудности преодолевают применением четвертьволновых разомкнутых шлейфов, обладающих близким к нулю входным сопротивлением.
Волноводные согласованные нагрузки выполняют в виде поглощающих вставок переменного профиля в отрезке короткозамкнутого волновода. В маломощных нагрузках вставки имеют вид тонких диэлектрических пластин, покрытых графитовыми или металлическими пленками (рис.2, а). Объемные поглощающие вставки (рис.2, б, в, г) с большой мощностью рассеивания выполняют из композитных материалов на основе порошков графита, карбонильного железа или карбида кремния.
Рис. 2 Волноводные согласованные нагрузки
Для уменьшения отражений поглощающим вставкам придают вид клиньев или пирамид. Наименьшие отражения в широкой полосе частот обеспечиваются от вставок, входная часть которых имеет форму экспоненциального клина в плоскости вектора Е. Для устранения отражения от короткозамыкателя вставка должна вносить ослабление 20—25 дБ. Для улучшения теплоотвода площадь соприкосновения вставки со стенками волновода делают максимальной, а внешнюю поверхность волновода снабжают радиатором.
2РЕАКТИВНЫЕ ЭЛЕМЕНТЫ
Реактивные нагрузки, применяемые в качестве мер при измерениях на СВЧ, а также в согласующих и управляющих устройствах СВЧ, должны обладать стабильным нормированным входным сопротивлением, величина которого может быть строго рассчитана по геометрическим размерам. В качестве реактивных двухполюсников обычно используют короткозамкнутые отрезки закрытых линий передачи, иначе говоря короткозамкнутые шлейфы. Реактивное сопротивление короткозамкнутого шлейфа определяют по формуле
, где ZВ — нормированное волновое сопротивление; - коэффициент фазы, l - длина шлейфа. Основным параметром, характеризующим качество реального шлейфа, является величина входного КСВ, которая должна быть как можно более высокой. В нерегулируемых коаксиальных или волноводных шлейфах с неподвижным запаянным поршнем КСВ может достигать. 500 и более. В регулируемых шлейфах с подвижными поршнями значения КСВ из-за дополнительных потерь в контактах получаются ниже, однако, как правило, превышают 100. Холостой ход в шлейфах, т.е. размыкание выхода, может быть реализован только в закрытых многопроводных линиях передачи, когда устранено излучение.
2.1 Поршни
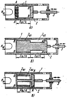
Возможные конструктивные решения подвижных короткозамыкающих поршней для прямоугольных волноводов показаны на рис. 3 для продольных сечений, параллельных узкой стенке волновода. В первой конструкции (рис. 3, а) разрезные пружинные контакты А вынесены от закорачивающей стенки В внутрь волновода на расстояние в/4. Поэтому контакты оказываются в сечении волновода с нулевыми значениями продольного тока на стенках волновода, и неидеальность контактов не приводит к потерям мощности.
Рис. 3 Волноводные короткозамыкающие поршни:
1 — волновод; 2 — поршень; 3 — тяга
Во второй конструкции поршня (рис. 3,б) механические контакты А включены в волновод через два трансформирующих отрезка линии передачи с низкими значениями нормированного волнового сопротивления ZВ1 и ZВ2. Предполагая, что активное сопротивление контактов в точке А равно rа, и применяя дважды формулу пересчета сопротивления через четвертьволновый трансформатор, находим входное сопротивление в точках В: rB= =rA(ZВ1/ZВ2)2. При выборе ZВ1<
В третьей конструкции поршня (рис. 3, в) точки механического контакта помещены в середину свернутого короткозамкнутого полуволнового отрезка линии передачи, состоящего из двух каскадно включенных четвертьволновых отрезков с волновыми сопротивлениями ZВ1 и ZВ2. К активному сопротивлению контакта rA добавляется бесконечное реактивное сопротивление короткозамкнутого четвертьволнового шлейфа с волновым сопротивлением ZВ2, и сумма сопротивлений контакта и шлейфа трансформируется четвертьволновым отрезком с волновым сопротивлением ZВ1 в практически нулевое сопротивление в точке В (т. е. в точке В создается виртуальное короткое замыкание для токов СВЧ).
Рассмотренные принципы выполнения волноводных поршня непосредственно применимы и в коаксиальных поршнях для диапазона коротких сантиметровых волн. На дециметровых и более длинных волнах применяются коаксиальные поршни с обычными пружинными контактами в точках короткого замыкания линии передачи, так как четвертьволновые трансформирующие отрезки оказываются слишком громоздкими.
2.2Диафрагмы
Диафрагмами называют тонкие металлические перегородки, частично перекрывающие поперечное сечение волновода. В прямоугольном волноводе наиболее употребительны симметричная индуктивная, симметричная емкостная и резонансная диафрагмы, показанные на рис. 4.
Рис. 4 Диафрагмы в прямоугольном волноводе
В индуктивной диафрагме (рис. 4,а) поперечные токи на широких стенках волновода частично замыкаются через пластины, соединяющие эти стенки. В магнитном поле токов, текущих по пластинкам диафрагмы, запасается магнитная энергия. Схема замещения индуктивной диафрагмы представляет собой индуктивность, включенную параллельно в линию передачи. Нормированную реактивную проводимость индуктивной диафрагмы bL определяют по приближенной формуле
Характеристики
Тип файла документ
Документы такого типа открываются такими программами, как Microsoft Office Word на компьютерах Windows, Apple Pages на компьютерах Mac, Open Office - бесплатная альтернатива на различных платформах, в том числе Linux. Наиболее простым и современным решением будут Google документы, так как открываются онлайн без скачивания прямо в браузере на любой платформе. Существуют российские качественные аналоги, например от Яндекса.
Будьте внимательны на мобильных устройствах, так как там используются упрощённый функционал даже в официальном приложении от Microsoft, поэтому для просмотра скачивайте PDF-версию. А если нужно редактировать файл, то используйте оригинальный файл.
Файлы такого типа обычно разбиты на страницы, а текст может быть форматированным (жирный, курсив, выбор шрифта, таблицы и т.п.), а также в него можно добавлять изображения. Формат идеально подходит для рефератов, докладов и РПЗ курсовых проектов, которые необходимо распечатать. Кстати перед печатью также сохраняйте файл в PDF, так как принтер может начудить со шрифтами.















