-7403.10 (709070)
Текст из файла
33
Содержание.
Техническое описание. 2
Техническая характеристика двигателя. 3
Блок цилиндров и привод агрегатов. 4
Кривошипно-шатунный механизм. 4
Механизм газораспределения. 7
Система смазки. 10
Система питания топливом. 13
Характеристика топливной аппаратуры. 13
Системы питания двигателя воздухом и выпуска отработавших газов. 21
Техническая характеристика турбокомпрессора ТКР7Н-1. 25
Система охлаждения. 25
Электрофакельное устройство. 30
Техническая характеристика деталей ЭФУ. 32
Список литературы: 33
ДВИГАТЕЛЬ КамАЗ-7403.10
Техническое описание.
На автомобилях КамАЗ-53212 и -54112 может быть установлен четырёхтактный восьмицилиндровый V-образный дизельный двигатель КамАЗ-7403.10 (рис. 1), отличающийся высокой мощностью, надёжностью и повышенным ресурсом благодаря применению:
поршней, отлитых из высококремнистого алюминиевого сплава с чугунной упрочняющей вставкой под верхнее компрессионное кольцо и коллоидно-графитным приработочным покрытием юбки;
поршневых колец с хромовым и молибденовым покрытием боковых поверхностей;
азотированного или упрочнённого индукционной закалкой коленчатого вала;
трёхслойных тонкостенных сталебронзовых вкладышей коренных и шатунных подшипников;
закрытой системы охлаждения, заполняемой низкозамерзающей охлаждающей жидкостью, с автоматическим регулированием температурного режима, гидромуфтой привода вентилятора и термостатами;
высокоэффективных бумажных фильтрующих элементов для фильтрации масла, топлива и воздуха;
гильз цилиндров, объемно-закаленных и обработанных плосковершинным хонингованием;
электрофакельного устройства подогрева воздуха, обеспечивающего надёжный пуск двигателя при отрицательных температурах окружающего воздуха до -25 С.
Рис. 1. Двигатель КамАЗ-7403.10 с турбонаддувом:
1 – коллектор выпускной; 2 – стартер; 3 – крышка головки цилиндра; 4 – картер масляный; 5 – кронштейн рычага переключения передач; 6 – насос водяной; 7 – крыльчатка вентилятора; 8 – ремни привода; 9 – фильтр центробежный масляный; 10 – генератор; 11, 25 – кронштейны; 12 – рычаг переключения передач; 13 – патрубок объединительный; 14 – крышка регулятора ТНВД; 15, 22 – свечи факельные; 16 – клапан электромагнитный; 17, 23 – коллекторы впускные; 18 – фильтр тонкой очистки топлива; 19 – компрессор; 20, 26 – турбокомпрессоры; 21 – бачок насоса гидроусилителя рулевого управления; 24 – патрубок.
Техническая характеристика двигателя.
| Модель Тип Число цилиндров Расположение цилиндров Порядок работы цилиндров Направление вращения коленчатого вала Диаметр цилиндров и ход поршня Рабочий объём, л Степень сжатия Гарантируемая мощность, л. с. Частота вращения коленчатого вала при гарантируемой мощности, об/мин Максимальный крутящий момент, кгс*м Частота вращения при максимальном крутящем моменте, об/мин Частота вращения холостого хода, не более, об/мин: минимальная максимальная Удельный расход топлива, г/л.с.*ч (по скоростной характеристике рис. 2): минимальный максимальный Фазы газораспределения: открытие впускного клапана закрытие ---//---//---//---//---//--- открытие выпускного клапана закрытие ---//---//---//---//---//--- Число клапанов на цилиндр Давление масла в прогретом двигателе, кгс/см2, при частоте вращения: номинальной минимальной холостого хода, не менее Масса силового агрегата, кг не заправленного двигателя, кг Форсунки (закрытого типа) Давление начала подъёма иглы форсунки, МПа: бывшей в эксплуатации новой (заводской регулировки) Система наддува | КамАЗ-7403.10 4-тактный с воспламенением от сжатия 8 V-образное, угол развала 90 1-5-4-2-6-3-7-8 правое 120120 10,85 16 260 2600 80 1600-1800 600 2930 160 175 13 до в.м.т. 49 после н.м.т. 66 до н.м.т. 10 после в.м.т. один впускной и один выпускной 4,0-5,5 1 1120 730 модели 271 21,5 23,524,2 газотурбинная с двумя турбокомпрессорами |
Рис. 2. Внешняя скоростная характеристика двигателей КамАЗ-7403.10 и КамАЗ-740.10:
Ne – эффективная мощность; Mкр – крутящий момент; n – частота вращения; qe – удельный расход топлива.
Блок цилиндров и привод агрегатов.
Блок цилиндров отлит из легированного серого чугуна заодно с верхней частью картера. Картерная часть блока связана с крышками коренных опор поперечными болтами-стяжками, что придает прочность конструкции. Для увеличения продольной жесткости наружные стенки блока выполнены криволинейными. Бобышки болтов крепления головок цилиндров представляют собой приливы на поперечных стенках, образующих водяную рубашку блока.
Левый ряд цилиндров смещен относительно правого вперед на 29,5 мм, что вызвано установкой на одной кривошипной шейке коленчатого вала двух шатунов.
Спереди к блоку крепится крышка, закрывающая гидромуфту привода вентилятора, сзади – картер маховика, который служит крышкой механизма привода агрегатов, расположенного на заднем торце блока.
Гильзы цилиндров - "мокрого" типа, легкосъемные, изготовлены из специального чугуна центробежным литьем, объемно закалены для повышения износостойкости.
Зеркало гильзы обработано плосковершинным хонингованием для получения сетки впадин и площадок под углом к оси гильзы. Такая обработка способствует удержанию масла во впадинах и лучшей прирабатываемости гильзы.
В соединении гильза – блок цилиндров водяная полость уплотнена резиновыми кольцами круглого сечения. В верхней части установлено кольцо под бурт в проточку гильзы, в нижней части – два кольца в расточки блока.
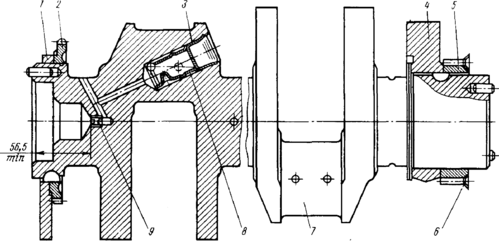
Привод агрегатов – шестереночный с прямозубыми шестернями (рис. 3). Газораспределительный механизм приводится в действие от ведущей шестерни 24, установленной с натягом на хвостовике коленчатого вала, через блок промежуточных шестерен 2 и 21 который вращается на сдвоенном коническом роликоподшипнике. Шестерня 13 распределительного вала установлена на хвостовик вала с натягом. При сборке надо следить, чтобы метки на торце шестерен, находящихся в зацеплении, были совмещены.
Привод топливного насоса высокого давления осуществляется от шестерни 12, находящейся в зацеплении с шестерней распределительного вала. Вращение к топливному насосу высокого давления передается через ведущую и ведомую полумуфты с упругими пластинами, которые компенсируют несоосность.
С шестерней привода топливного насоса находятся в зацеплении шестерня привода компрессора и шестерня привода насоса гидроусилителя рулевого управления.
Моменты затяжки болтов крепления оси промежуточных шестерён равен 49,160,8 Н*м (56,2 кгс*м), болта крепления роликоподшипника 88,398,1 Н*м (910 кгс*м).
Окружной зазор в шестернях привода агрегатов 0,10,3 мм.
Кривошипно-шатунный механизм.
Коленчатый вал (рис. 4) – стальной, изготовлен горячей штамповкой, упрочен азотированием или закалкой токами высокой частоты шатунных и коренных шеек. Он имеет пять коренных опор и четыре шатунные шейки. В шатунных шейках вала выполнены внутренние полости, закрытые заглушками 3, где масло подвергается дополнительной центробежной очистке. Для сбора загрязнений установлены втулки 8. Полости шатунных шеек сообщаются наклонными отверстиями с поперечными каналами в коренных шейках.
На носке и хвостовике коленчатого вала установлены: шестерня 2 привода масляного насоса и ведущая шестерня 5 в сборе с маслоотражателем 6. Выносные противовесы 1 и 4 съемные, закреплены на валу прессовой посадкой.
Осевые перемещения коленчатого вала ограничены четырьмя сталеалюминевыми полукольцами, установленными в проточках задней коренной опоры так, чтобы сторона с канавками прилегала к упорным торцам вала, а ус кольца входил в паз на крышке заднего коренного подшипника. Хвостовик коленчатого вала уплотнен резиновым самоподжимным сальником, установленным в картере маховика.
Маховик (рис. 5) из серого специального чугуна закреплен болтами 6 на заднем торце коленчатого вала и зафиксирован двумя штифтами и установочной втулкой 8. Зубчатый венец 1 посажен на маховик по горячепрессовой посадке и служит для пуска двигателя стартером. Число зубьев венца маховика 113.
Рис. 3. Блок распределительных шестерен:
1 – болт М 121,2590; 2, 21 - шестерни промежуточные; 3 – болт; 4 – шайба пружинная; 5 – манжета; 6 – корпус заднего подшипника; 7 – прокладка; 8 – сухарь; 9 - вал шестерни привода топливного насоса высокого давления; 10, 20 – шпонки; 12 – шестерня привода ТНВД; 13 – вал распределительный в сборе с шестерней; 14 – шайба упорная; 16 – ось ведущей шестерни; 17 – шайба; 18 –болт М 101,2525; 19 – подшипник роликовый конический двухрядный; 22 – кольцо упорное; 23 – кольцо стопорное; 24 – шестерня ведущая коленчатого вала.
Рис. 4. Коленчатый вал в сборе:
1 – передний противовес; 2 – шестерня привода масляного насоса; 3 – заглушка; 4 – задний противовес; 5 – ведущая шестерня; 6 – маслоотражатель; 7 – коленчатый вал; 8 – втулка; 9 – винт-заглушка.
На наружной поверхности маховика имеется паз под фиксатор маховика, который используется при регулировании двигателя.
Шатуны 3 (рис. 6) – стальные, двутаврового сечения; нижняя головка выполнена с прямым плоским разъемом. Шатун окончательно обработан в сборе с крышкой 5, поэтому крышки шатунов невзаимозаменяемы. На крышке и шатуне нанесены метки спаренности 7 в виде трехзначных порядковых номеров. При сборке метки на шатуне и крышке должны находиться с одной стороны. Кроме того, на крышке шатуна выбит порядковый номер цилиндра. На каждой шатунной шейке коленчатого вала установлено по два шатуна. Подшипниками скольжения служат втулка 2 из биметаллической ленты в верхней головке шатуна и съемные взаимозаменяемые вкладыши 8 – в нижней. Крышка шатуна закреплена двумя шатунными болтами 4 с гайками 6.
Рис. 5. Маховик:
1 – зубчатый венец; 2 – фиксатор маховика; 3 – маховик; 4, 8 – установочные втулки; 5 – сухарь отжимного рычага сцепления; 6 – болт крепления маховика; 7 – пружинное опорное кольцо; 9 – манжета ведущего вала коробки передач.
Рис. 6. Шатунно-поршневая группа:
1 – поршень; 2 – втулка верхней головки шатуна; 3 – шатун; 4 – болт шатунный; 5 – крышка шатуна; 6 – гайка; 7 – метка спаренности; 8 – вкладыш нижней головки шатуна; 9 – кольцо стопорное; 10 – палец; 11 – кольцо маслосъёмное; 12 – кольца компрессионные.
Поршни 1 выполнены из высококремнистого алюминиевого сплава со вставкой (специальный чугун) под верхнее компрессионное кольцо и коллоидно-графитовым покрытием юбки. На поршне установлены два компрессионных кольца 12 и одно маслосъемное 11. Компрессионные кольца в сечении представляют собой одностороннюю трапецию, изготовлены они из чугуна специального химического состава. Рабочая поверхность верхнего компрессионного кольца покрыта хромом, нижнего - молибденом.
Характеристики
Тип файла документ
Документы такого типа открываются такими программами, как Microsoft Office Word на компьютерах Windows, Apple Pages на компьютерах Mac, Open Office - бесплатная альтернатива на различных платформах, в том числе Linux. Наиболее простым и современным решением будут Google документы, так как открываются онлайн без скачивания прямо в браузере на любой платформе. Существуют российские качественные аналоги, например от Яндекса.
Будьте внимательны на мобильных устройствах, так как там используются упрощённый функционал даже в официальном приложении от Microsoft, поэтому для просмотра скачивайте PDF-версию. А если нужно редактировать файл, то используйте оригинальный файл.
Файлы такого типа обычно разбиты на страницы, а текст может быть форматированным (жирный, курсив, выбор шрифта, таблицы и т.п.), а также в него можно добавлять изображения. Формат идеально подходит для рефератов, докладов и РПЗ курсовых проектов, которые необходимо распечатать. Кстати перед печатью также сохраняйте файл в PDF, так как принтер может начудить со шрифтами.















