-7403.10 (709070), страница 3
Текст из файла (страница 3)
Система смазки (рис. 11) включает в себя масляный насос, картер масляный, фильтры очистки масла (полнопоточный и центробежный), воздушно-масляный радиатор, масляные каналы в блоке и головках цилиндров, передней крышке и картере маховика, наружные маслопроводы, маслозаливную горловину, клапаны для обеспечения нормальной работы системы и контрольные приборы.
Из картера 17 масло через маслоприемник 16 входит в нагнетающую и радиаторную секции масляного насоса 7. Из нагнетающей секции через канал в правой стенке блока масло идет в полнопоточный фильтр 15, где оно очищается двумя фильтрующими элементами, затем масло поступает в главную магистраль 18, откуда по каналам в блоке и головках цилиндра оно подается к коренным подшипникам коленчатого вала, подшипникам распределительного вала, втулкам коромысел и верхним наконечникам штанг толкателей. К шатунным подшипникам коленчатого вала масло подается по отверстиям внутри вала от ближайшей коренной шейки. Масло, снимаемое со стенок цилиндра маслосъемным кольцом, отводится в поршень и смазывает опоры поршневого пальца в бобышках и подшипник верхней головки шатуна. Через каналы в задней стенке блока цилиндров и картере маховика масло под давлением поступает к подшипникам компрессора 1, а через каналы в передней стенке блока – к подшипникам топливного насоса высокого давления 2. Предусмотрен отбор масла из главной магистрали к выключателю 3 гидромуфты 4, который установлен на переднем торце блока и управляет работой гидромуфты привода вентилятора. Из радиаторной секции масло поступает к центробежному фильтру 11, далее – в радиатор и затем сливается в картер. При закрытом кране 10 масло из центробежного фильтра через сливной клапан 9 сливается в картер двигателя, минуя радиатор.
Остальные детали и узлы двигателя смазываются разбрызгиванием и масляным туманом.
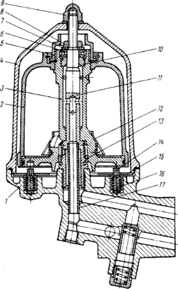
Масляный насос (рис. 12) закреплен на нижней плоскости блока цилиндров. Нагнетающая секция насоса подает масло в главную магистраль двигателя, радиаторная секция – в центробежный фильтр и радиатор. В корпусах секций 1 и 5 установлены предохранительные клапаны 11 и 18, отрегулированные на давление открытия 8,49,5 кгс/см2 и предназначенные для ограничения максимального давления на выходе из секций насоса, и клапан 14 системы смазки, срабатывающий при давлении 4,04,5 кгс/см2 и предназначенный для ограничения давления в главной магис
трали двигателя.
Рис. 12. Масляный насос:
1
– корпус радиаторной секции; 2 – ведущая шестерня радиаторной секции; 3 – проставка; 4 – ведущая шестерня нагнетающей секции; 5 – корпус нагнетающей секции; 6 – ведомая шестерня привода насоса; 7 – шпонка; 8 – валик ведущих шестерен; 9 – ведомая шестерня нагнетающей секции; 10 – ведомая шестерня радиаторной секции; 11 – предохранительный клапан радиаторной секции; 12, 15, 17 – пружины клапанов; 13, 16 – пробки клапанов; 14 – клапан системы смазки; 18 – предохранительный клапан нагнетающей секции.
Рис. 13. Полнопоточный фильтр очистки масла:
1 – стержень; 2 – стопорное кольцо; 3 – шайба; 4 – уплотнительное кольцо; 5 – пружина колпака; 6 – уплотнительная чашка; 7 – шайба; 8 – пружина перепускного клапана; 9 – винт сигнализатора; 10 – пробка перепускного клапана; 11, 18, 20, 26 – прокладки; 12 – регулировочная шайба; 13 – корпус сигнализатора; 14 – подвижной контакт сигнализатора; 15 – пружина контакта сигнализатора; 16 – перепускной клапан; 17 – пробка; 19 – корпус фильтра; 21 – втулка корпуса; 22 – уплотнительное кольцо; 23 – фильтрующий элемент; 24 – колпак; 25 – сливная пробка.
Полнопоточный фильтр очистки масла (рис. 13), установленный на правой стороне блока цилиндров, состоит из корпуса 19, колпаков 24 и двух бумажных фильтрующих элементов 23. В корпусе фильтра установлен перепускной клапан 16 с сигнализатором засорённости фильтроэлементов.
Однако использование бумажных фильтроэлементов очистки масла еще не гарантирует полной его очистки. Даже при незначительном попадании воды в масло и при несоблюдении правил эксплуатации двигателя (работа на повышенном и особенно пониженном тепловом режиме, применение несоответствующего сорта масла и др.) предельное засорение элементов масляного фильтра может наступить раньше установленного срока. В этом случае фильтр длительное время работает с открытым перепускным клапаном, что зачастую приводит к задиру и провороту вкладышей коленчатого вала.
Для определения момента предельного засорения элементов в конструкции фильтра предусмотрен сигнализатор засоренности, совмещенный с перепускным клапаном. Контакты сигнализатора замыкаются при открытии перепускного клапана.
Сигнальная лампа засорённости фильтроэлементов расположена на щитке приборов в кабине. Допускается свечение и мигание лампы при пуске и прогреве двигателя. При постоянном свечении лампы на прогретом двигателе нужно заменить фильтрующие элементы.
В корпусе фильтра установлены датчики давления масла и сигнализации о недопустимом понижении (менее 68,7 кПа [0,7 кгс/см2]) давления масла в главной магистрали.
Перепускной клапан перепускает неочищенное масло в главную магистраль, минуя фильтрующий элемент, при низкой температуре масла или при значительном засорении фильтрующих элементов, при перепадах давления на элементах 245,8294,2 кПа (2,53,0 кгс/см2).
Ф
ильтр центробежный масляный (рис. 14) с активно-реактивным приводом ротора установлен на передней крышке блока цилиндров с правой стороны двигателя. Ротор 3 в сборе с колпаком 2 приводится во вращение струёй масла, вытекающей из щели-сопла в оси 11 ротора, а также реактивными силами, возникающими при выходе масла из ротора в канал оси через тангенциальные каналы ротора.
Рис. 14. Центробежный масляный фильтр:
1 – корпус; 2 – колпак ротора; 3 – ротор; 4 – колпак фильтра; 5 – гайка крепления колпака ротора; 6 – упорный шарикоподшипник; 7 – упорная шайба; 8 – гайка крепления ротора; 9 – гайка крепления колпака фильтра; 10 – верхняя втулка ротора; 11 – ось ротора; 12 – экран; 13 – нижняя втулка ротора; 14 – палец стопора; 15 – пластина стопора; 16 – пружина стопора; 17 – трубка отвода масла.
При работе двигателя масло из радиаторной секции насоса под давлением подается в фильтр, обеспечивая вращение ротора. Под действием центробежных сил механические частицы отбрасываются к стенкам колпака ротора и задерживаются, а очищенное масло через отверстие в оси ротора и трубку 17 поступает в воздушно-масляный радиатор или через сливной клапан в корпусе фильтра, отрегулированный на давление 0,50,7 кгс/см2, в картер двигателя. Перепускной клапан, установленный в корпусе фильтра и отрегулированный на давление 6,06,5 кгс/см2, ограничивает максимальное давление перед центрифугой.
Во избежание нарушения балансировки при обслуживании фильтра, на роторе и колпаке нанесены метки, которые необходимо совмещать при сборке.
Картер масляный – стальной, штампованный, закреплен на нижней плоскости блока цилиндров болтами. Между картером и блоком установлена резинопробковая прокладка для обеспечения герметичности соединения. Для предотвращения быстрого перетекания масла при разгоне и торможении автомобиля в картер вварена перегородка. В нижней части картера имеется сливная пробка.
Воздушно-масляный радиатор – трубчато-пластинчатый, двухрядный, воздушного охлаждения, установлен перед радиатором системы охлаждения двигателя.
Начиная с I квартала 1986 г. на автомобили устанавливается масляный радиатор из оребрённой алюминиевой трубки.
Масляный радиатор должен быть постоянно включен. Для ускорения прогрева двигателя при пуске зимой радиатор следует отключить (закрытием крана на корпусе центробежного масляного фильтра). После прогрева двигателя кран открыть.
Система питания топливом.
Система питания топливом обеспечивает очистку топлива и равномерное распределение его по цилиндрам двигателя строго дозированными порциями. На двигателях КамАЗ применена система питания топливом разделенного типа, состоящая из топливного насоса высокого давления, форсунок, фильтров грубой и тонкой очистки, топливоподкачивающего насоса низкого давления, топливопроводов низкого и высокого давления, топливных баков, электромагнитного клапана, факельных свечей и электрофакельного пускового устройства.
Характеристика топливной аппаратуры.
| Топливный насос высокого давления | мод. 334 |
| Порядок работы секции. | 8–4–5–7–3–6–2–1 |
| Направление вращения кулачкового вала (со стороны привода) | правое |
| Диаметр плунжера, мм | 9 |
| Ход плунжера, мм | 10 |
| Цикловая подача при (1300±10) об/мин кулачкового вала, мм3/цикл | 96 |
| Частота вращения кулачкового вала насоса при упоре рычага управления регулятором в болт ограничения максимального скоростного режима, об/мин: | 1300 |
| при полном выключении регулятором подачи топлива через форсунки | 14801555 |
| в начале выключения | 13351355 |
| Угол начала подачи топлива восьмой секцией насоса до оси симметрии кулачка, град | 4243 |
| Чередование начала подачи топлива по углу поворота кулачкового вала | (0–45–90–135–180–270–315)° |
| Максимальное усилие на рычаге управления регулятором при номинальном режиме работы насоса на плече 50 мм, Н (кгс) | 127,5 (13) |
| Топливоподкачивающий насос низкого давления | |
| Диаметр поршня, мм | 22 |
| Ход поршня, мм | 8 |
| Номинальная производительность1. л/мин, не менее | 2,5 |
| Давление, создаваемое топливоподкачивающим насосом при закрытом нагнетательном трубопроводе к фильтру тонкой очистки и при частоте вращения кулачкового вала 12901310 об/мин, кПа (кгс/см2), не менее | 392 (4) |
| Форсунка | мод. 271 |
| Число распыливающих отверстий | 4 |
| Диаметр распыливающих отверстий, мм | 0,32 |
| Давление начала подъема иглы, МПа (кгс/см2) | |
| при эксплуатации | 21,5 (215) |
| первоначальное при заводском регулировании | 23,524,2 (235242) |
Система питания работает следующим образом. Топливо из бака 1 (рис. 15) через фильтр 2 грубой очистки засасывается топливоподкачивающим насосом и через фильтр 17 тонкой очистки по топливопроводам 3, 9, 15, 21 низкого давления подается к топливному насосу высокого давления; согласно порядку работы цилиндров двигателя насос распределяет топливо по трубопроводам 6 высокого давления к форсункам 5. Форсунки распыляют и впрыскивают топливо в камеры сгорания. Избыточное топливо, а вместе с ним и попавший в систему воздух через перепускной клапан топливного насоса высокого давления и клапан-жиклер фильтра тонкой очистки по дренажным топливопроводам 16 и 18 отводится в топливный бак. Топливо, просочившееся через зазор между корпусом распылителя и иглой, сливается в бак через сливные топливопроводы 4, 14, 20.















