4 (694843)
Текст из файла
4. Анализ процессов в биполярном транзисторе
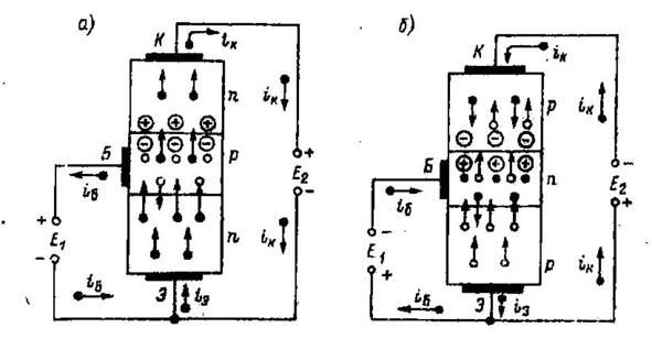
Рассмотрим прежде всего, как работает транзистор (для примера типа n-р-n) в режиме без нагрузки, когда включены только источники постоянных питающих напряжений E1 и E2 (рис. 4-1,а). Полярность их такова, что на эмиттерном переходе напряжение прямое, а на коллекторном переходе - обратное. Поэтому сопротивление эмиттерного перехода мало и для получения нормального тока в этом переходе достаточно напряжения Е1 в десятые доли вольта. Сопротивление коллекторного перехода велико, и напряжение Е2 обычно составляет единицы или десятки вольт. Из схемы на рис. 4-1,а видно, что напряжение между электродами транзистора связаны простой зависимостью:
При работе транзистора в активном режиме обычно всегда
и, следовательно,
.
Вольтамперная характеристика эмиттерного перехода представляет собой характеристику полупроводникового диода при прямом токе. А вольтамперная характеристика коллекторного перехода подобна характеристике диода при обратном токе.
Принцип работы транзистора заключается в том, что прямое напряжение эмиттерного перехода, т. е. участка база-эмиттер (
), существенно влияет на ток коллектора: чем больше это напряжение, тем больше токи эмиттера и коллектора. При этом изменения тока коллектора лишь незначительно меньше изменений тока эмиттера. Таким образом, напряжение
, т. е. входное напряжение, управляет током коллектора. Усиление электрических колебаний с помощью транзистора основано именно на этом явлении.
Рис 4-1. Движение электронов и дырок в транзисторах типа n-р-n и р-n-р.
Физические процессы в транзисторе происходят следующим образом. При увеличении прямого входного напряжения
понижается потенциальный барьер, в эмиттерном переходе и соответственно возрастает ток через этот переход ток эмиттера
. Электроны этого тока инжектируются из эмиттера в базу и благодаря диффузии проникают сквозь базу в коллекторный переход, увеличивая ток коллектора. Так как коллекторный переход работает при обратном напряжении, то в этом переходе возникают объемные заряды, показанные на рисунке кружками со знаками «+» и «-» . Между ними возникает электрическое поле. Оно способствует продвижению (экстракции) через коллекторный переход электронов, пришедших сюда от эмиттера, т. е. втягивает электроны область коллекторного перехода.
Если толщина базы достаточно мала и концентрация дырок в ней невелика, то большинство электронов, пройдя через базу, не успевает рекомбинировать с дырками базы и достигает коллекторного перехода. Лишь небольшая часть электронов рекомбинирует в базе с дырками. В результате рекомбинации возникает ток базы, протекающий в проводе базы. Действительно, в установившемся режиме число дырок в базе должно быть неизменным. Вследствие рекомбинации каждую секунду сколько-то дырок исчезает, но столько же новых дырок возникает за счет того, что из базы уходит в направлении к плюсу источника E1 такое же число электронов. Иначе говоря, в базе не может накапливаться много электронов. Если некоторое число инжектированных в базу из эмиттера электронов не доходит до коллектора, а остается в базе, рекомбинируя с дырками, то точно такое же число электронов должно уходить из базы в виде тока
. Поскольку ток коллектора получается меньше тока эмиттера, то в соответствии с первым законом Кирхгофа всегда существует следующее соотношение между токами:
Ток базы является бесполезным и даже вредным. Желательно, чтобы он был как можно меньше. Обычно
составляет проценты тока эмиттера, т. е.
и, следовательно, ток коллектора лишь незначительно меньше тока эмиттера. т. е. можно считать
. Именно для того, чтобы ток
был как можно меньше, базу делают очень тонкой и уменьшают в ней концентрацию примесей, которая определяет концентрацию дырок. Тогда меньшее число электронов будет рекомбинировать в базе с дырками.
Если бы база имела значительную толщину и концентрация дырок в ней была велика, то большая часть электронов эмиттерного тока, диффундируя через базу, рекомбинировала бы с дырками и не дошла бы до коллекторного перехода. Ток коллектора почти не увеличивался бы за счет электронов эмиттера, а наблюдалось бы лишь увеличение тока базы.
Когда к эмиттерному переходу напряжение не приложено, то практически можно считать, что в этом переходе почти нет тока. В этом случае область коллекторного перехода имеет большое сопротивление постоянному току, так как основные носители зарядов удаляются от этого перехода и по обе стороны от границы создаются области, обеденные этими носителями. Через коллекторный переход протекает лишь очень небольшой обратный ток, вызванный перемещением навстречу друг другу неосновных носителей, т. е. электронов из р-области и дырок из n-области.
Но если под действием входного напряжения возник значительный ток эмиттера, то в область базы со стороны эмиттера инжектируются электроны, которые для данной области являются неосновными носителями. Не успевая рекомбинировать с дырками при диффузии через базу, они доходят до коллекторного перехода. Чем больше ток эмиттера, тем больше электронов приходит к коллекторному переходу и тем меньше становится его сопротивление. Соответственно увеличивается ток коллектора. Иначе говоря, с увеличением тока эмиттера в базе возрастает концентрация неосновных носителей, инжектированных из эмиттера, а чем больше этих носителей, тем больше ток коллекторного перехода, т. е. ток коллектора
.
Данное одному из электродов транзистора название «эмиттер» подчеркивает, что происходит инжекция электронов из эмиттера в базу. Применение термина «инжекция» необходимо для того, чтобы отличать данное явление от электронной эмиссии, в результате которой получаются свободные электроны в вакууме или разреженном газе.
По рекомендуемой терминологии эмиттером следует называть область транзистора, назначением которой является инжекция носителей заряда в базу. Коллектором называют область, назначением которой является экстракция носителей заряда из базы. А базой является область, в которую инжектируются эмиттером неосновные для этой области носители заряда.
Следует отметить, что эмиттер и коллектор можно поменять местами (так называемый инверсный режим). Но в транзисторах, как правило, коллекторный переход делается со значительно большей площадью, нежели эмиттерный переход, так как мощность, рассеиваемая в коллекторном переходе, гораздо больше, чем рассеиваемая в эмиттерном. Поэтому если использовать эмиттер в качестве коллектора, то транзистор будет работать, но его можно применять только при значительно меньшей мощности, что нецелесообразно. Если площади переходов сделаны одинаковыми (транзисторы в этом случае называют симметричными), то любая из крайних областей может с одинаковым успехом работать в качестве эмиттера или коллектора.
Поскольку в транзисторе ток эмиттера всегда равен сумме токов коллектора и базы, то приращение тока эмиттера также всегда равно сумме приращений коллекторного и базового токов:
Важным свойством транзистора является приблизительно линейная зависимость между его токами, т. е. все три тока транзистора изменяются приблизительно пропорционально друг Другу. Пусть, для примера,
=10мА,
= 9,5 мА,
= 0,5 мА. Если ток эмиттера увеличится, например, на 20% и станет равным 10 + 2 = 12 мА. то остальные токи возрастут также на 20%:
= 0,5 + 0.1 = 0,6 мА и
= 9,5 + 1,9 = 11,4 мА, так как всегда должно быть выполнено равенство (4.2), т.е. 12 мА=11,4 мА + 0,6 мА. А для приращения токов справедливо равенство (4.3), т. е. 2 мА = 1,9 мА + 0,1 мА.
Мы рассмотрели физические явления в транзисторе типа п-р-п. Подобные же процессы происходят в транзисторе типа р-п-р но в нем меняются ролями электроны и дырки, а также изменяются на обратные полярности напряжений и направления токов (рис. 4-2,б). В транзисторе типа р-п-р из эмиттера в базу инжектируются не электроны, а дырки. Они являются для базы неосновными носителями. С увеличением тока эмиттера больше таких дырок проникает через базу к коллекторному переходу. Это вызывает уменьшение его сопротивления и возрастание тока коллектора. Работу транзистора можно наглядно представить с помощью потенциальной диаграммы, которая показана на рис. 4-2 для транзистора типа n-р-n.
Рис. 4-2. Потенциальная диаграмма транзистора
Эту диаграмму удобно использовать для создания механической модели транзистора. Потенциал эмиттера принят за нулевой. В эмиттерном переходе имеется небольшой потенциальный барьер. Чем больше напряжение
, тем ниже этот барьер. Коллекторный переход имеет значительную разность потенциалов, ускоряющую электроны. В механической модели шарики, аналогичные электронам, за счет своих собственных скоростей поднимаются на барьер, аналогичный эмиттерному переходу, проходят через область базы, а затем ускоренно скатываются с горки, аналогичной коллекторному переходу.
Помимо рассмотренных основных физических процессов в транзисторах приходится учитывать еще ряд явлений.
Существенное влияние на работу транзисторов оказывает сопротивление базы
, т.е. сопротивление, которое база оказывает току базы
. Этот ток протекает к выводу базы в направлении, перпендикулярном направлению эмиттер — коллектор. Так как база очень тонкая, то в направлении от эмиттера к коллектору, т. е. для тока
, ее сопротивление очень мало и не принимается во внимание. А в направлении к выводу базы сопротивление базы
(его называют поперечным) достигает сотен Ом, так как в этом направлении база аналогична очень тонкому проводнику. Напряжение на эмиттерном переходе всегда меньше, чем напряжение
, между выводами базы и эмиттера, так как часть подводимого напряжения теряется на сопротивлении базы. С учетом сопротивления
можно изобразить эквивалентную схему транзистора для постоянного тока так, как это сделано на рис. 4-3. На этой схеме
— сопротивление эмиттера, в которое входят сопротивление эмиттерного перехода и эмиттерной области. Значение
у маломощных транзисторов достигает десятков Ом. Это вытекает из того, что напряжение на эмиттерном переходе не превышает десятых долей вольта, а ток эмиттера в таких транзисторах составляет единицы миллиампер. У более мощных транзисторов
больше и
соответственно меньше. Приближенно
определяется формулой (в Омах)
Характеристики
Тип файла документ
Документы такого типа открываются такими программами, как Microsoft Office Word на компьютерах Windows, Apple Pages на компьютерах Mac, Open Office - бесплатная альтернатива на различных платформах, в том числе Linux. Наиболее простым и современным решением будут Google документы, так как открываются онлайн без скачивания прямо в браузере на любой платформе. Существуют российские качественные аналоги, например от Яндекса.
Будьте внимательны на мобильных устройствах, так как там используются упрощённый функционал даже в официальном приложении от Microsoft, поэтому для просмотра скачивайте PDF-версию. А если нужно редактировать файл, то используйте оригинальный файл.
Файлы такого типа обычно разбиты на страницы, а текст может быть форматированным (жирный, курсив, выбор шрифта, таблицы и т.п.), а также в него можно добавлять изображения. Формат идеально подходит для рефератов, докладов и РПЗ курсовых проектов, которые необходимо распечатать. Кстати перед печатью также сохраняйте файл в PDF, так как принтер может начудить со шрифтами.















