147702 (692022), страница 7
Текст из файла (страница 7)
Обогрев салона автобуса может осуществляется либо специальным отопителем, либо радиатором системы обогрева кузова, включенным в систему охлаждения двигателя. По конструкции радиатор обогрева кузова аналогичен основному радиатору, но имеет меньшие размеры.
Вентилятор создает интенсивный поток воздуха через основной радиатор. Он представляет собой пластмассовую или металлическую крыльчатку, выполняющую функцию осевого воздушного насоса. вентилятор установлен в кожухе для обеспечения направленного воздушного потока. Кожух изготавливают из штампованных стальных пластин, или из пластмассы. Привод вентилятора может осуществляться ременной передачей от шкива на носке коленчатого вала (рисунок 3.3) либо электрическим двигателем.
1 – шкив коленчатого вала; 2 – шкив вентилятора; 3 – генератор; 4 – шкив водяного насоса; 5 – натяжной ролик
Рисунок 3.3 – Привод водяного насоса и вентилятора ременной передачи
Электрический двигатель может иметь один или два режима работы. При больших размерах радиатора возможно применение двух вентиляторов. На нескольких двигателях привод вентилятора осуществляется от коленчатого вала клиноременной передачей через гидромуфту. Гидромуфта (рисунок 3.4) состоит из двух лопастных колес, установленных в общей полости. Одно из колес связано с ведомым шкивом клиноременной передачи, второе – с крыльчаткой вентилятора.
1 – вал привода вентилятора; 2, 6 – сальники (манжеты); 3 – гайка вала; 4 – стопорная шайба; 5 – втулка сальника; 7 – рабочее колесо; 8 – гидромуфта; 9 – корпус вентилятора; 10 – крышка; 11 – уплотнительное кольцо; 12 – корпус центрифуги; 13 – шайба; 14 – маслопроводный болт; 15 – подшипник скольжения
Рисунок 3.4 – Установка гидромуфты в приводе вентилятора
Полость гидромуфты заполняется маслом из системы смазки двигателя, заполнение полости контролируется золотником. Перемещение золотника осуществляется соленоидом, управляемым температурным датчиком. При температуре 81…95 С положение золотника обеспечивает полное заполнение полости гидромуфты, при этом достигается максимальная частота вращения вентилятора. При низких температурах охлаждающей жидкости золотник занимает положение, обеспечивающее полное опорожнение гидромуфты, при этом вентилятор не вращается. На некоторых двигателях в приводе вентилятора применяют электромагнитные муфты. В этом случае температурный датчик при высокой температуре соединяет с системой питания обмотку электромагнита, обеспечивающего соединение шкива клиноременной передачи с крыльчаткой вентилятора. При охлаждении жидкости обмотка электромагнита обесточивается. Отключение вентилятора позволяет экономить топливо и снижает уровень шума.
Насос охлаждающей жидкости предназначен для принудительной циркуляции жидкости системе охлаждения. Насосы центробежного типа приводятся одинарным или двойным клиновым или поликлиновым ремнем от носка коленчатого вала. Конструкция центробежного насоса показана на рисунке 3.5.
1 – ступица для крепления приводного шкива; 2 – вал; 3 – корпус насоса; 4 – контрольное отверстие; 5 – масленка; 6 – крыльчатка; 7 – отверстие; 8 – пружина; 9, 10 – латунный обоймы; 11 – резиновая уплотнительная манжета; 12 – шайба; 13 – стопорное пружинное кольцо
Рисунок 3.5 – Конструкция насоса охлаждающей жидкости
Насос представляет собой отдельный агрегат, корпус которого крепится к блоку. Внутри корпуса на подшипниках качения установлен вал. В полость корпуса, где установлены подшипники, через масленку заполняется смазка. В современных конструкциях смазка часто закладывается непосредственно в подшипники на весь срок службы. На валу с помощью специальной лыски устанавливается металлическая (чугунная, алюминиевая) или пластмассовая крыльчатка. На противоположном конце вала установлена ступица фланца привода. Крыльчатка размещается в изолированном пространстве корпуса насоса, заполненного охлаждающей жидкостью. Для обеспечения герметизации этой полости на валу насоса установлен уплотнительный узел, состоящий из пластмассовой шайбы, уплотняющей крыльчатку по торцу, и резиновой манжеты, уплотняющей вал.
Циркуляция жидкости в системе охлаждения обеспечивается как действие насоса (такая система называется принудительной), или происходит произвольно под действие давления, вызванного разной плотностью охлаждающей жидкости в нагретой и охлажденной зонах рубашки охлаждения (такая система называется термосифонной). В современных двигателях применяется принудительная система охлаждения. В этом случае насос устанавливается в нижней зоне рубашки охлаждения, под действием насоса холодная охлаждающая жидкость подается в нижнюю зону рубашки охлаждения и, нагреваясь, поднимается вверх, проходя в нагретом состоянии чрез радиатор. В некоторых двигателях применяется смешанная система охлаждения. Насос установлен в верхней зоне рубашки охлаждения; жидкость, охлажденная в радиаторе, подается в верхнюю зону рубашки охлаждения и под действием разницы давлений холодной и горячей охлаждающей жидкости опускается вниз (термосифонный эффект). Для поддержания постоянного температурного режима двигателя и его быстрого прогрева при пуске необходимо при малой температуре охлаждающей жидкости выключить радиатор из круга циркуляции. Эту функцию выполняет специальное устройство, называемое термостатом (рисунок 3.6).
1 – нижняя рамка; 2 – верхняя рамка; 3 – регулировочный винт; 4 – шток; 5 – резиновая буфермембрана; 6 – седло основного клапана; 7 – основной клапан; 8 – пружина; 9 – капсула; 10 – направляющее кольцо; 11 – перепускной клапан; 12 – упругое кольцо; 13 – поджимная пружина; 14 – седло перепускного клапана
Рисунок 3.6 – Конструкция термостата с твердым наполнителем
Он установлен в магистрали, связывающей радиатор с рубашкой охлаждения термостат представляет собой клапан, перекрывающий связь радиатора с рубашкой охлаждения при малой температуре охлаждающей жидкости (ниже 70 С). В этом случае жидкость циркулирует по малому кругу циркуляции, в который входят рубашка охлаждения и жидкостная полость водяного насоса. При нагреве жидкости (свыше 70…80 С) клапан начинает открываться. Полностью он открывается при 85…95 С. В круг циркуляции включается радиатор, что обеспечивает поддержание заданного температурного режима. Включение и выключение клапана обеспечивается специальным элементом, увеличивающим свой осевой размер при нагревании. Этот элемент может быть сильфонного типа. В этом случае он представляет собой запаянный гофрированный стакан, заполненный эфиром. Один торец стакана закреплен на седле, второй связан со стержнем клапана. В современных двигателях функции сильфона выполняет капсула с твердым наполнителем – церезином с медными опилками. Термостат с твердым наполнителем более надежен, поскольку при повреждении сильфона возможно вытекание эфира через микротрещины.
3.2 Неисправности системы охлаждения и их влияние на работу автомобиля
Поддержание необходимого теплового режима, исправность системы охлаждения во многом определяют долговечность работы двигателя, его мощность и экономичность.
Основные неисправности системы охлаждения:
-
перегрев двигателя,
-
переохлаждение двигателя.
Причины перегрева двигателя из-за неисправности приборов системы охлаждения:
-
слабое натяжение ремня привода водяного насоса;
-
слабое натяжение ремня вентилятора;
-
малый уровень жидкости в системе;
-
накипь в рубашке охлаждения;
-
заедание клапана термостата;
-
неисправность водяного насоса;
-
закрытие жалюзи радиатора;
-
засорение радиатора.
Если двигатель не охлаждать, то газы, имеющие высокую температуру, сильно нагревают детали двигателя, и они расширяются. Масло на цилиндрах и поршнях выгорает, их трение и износ возрастают, а от чрезмерного расширения деталей происходит заклинивание поршней в цилиндрах двигателя, и двигатель может выйти из строя. Чтобы избежать отрицательных явлений, вызываемых перегревом двигателя, его необходимо охлаждать. При перегреве на щитке приборов в кабине водителя зажигается сигнальная лампочка.
Однако чрезмерное охлаждение двигателя вредно отражается на его работе.
Причины переохлаждения двигателя:
-
неисправность термостата
-
повреждение водомасляного радиатора
-
неприкрытие жалюзи в холодное время года.
При переохлаждении двигателя на стенках цилиндров конденсируются пары топлива (бензина), смывая смазку, разжижают масло в картере. В этих условиях происходит интенсивный износ поршневых колец, поршней цилиндров и снижается экономичность и мощность двигателя.
Заедание клапана термостата в закрытом положении или позднее открытие его, засорение трубок радиатора и рубашки охлаждения двигателя накипью и продуктами коррозии вызывают быстрый перегрев двигателя.
В результате заедания клапана термостата в открытом положении или раннее открытие двигатель не прогревается длительное время.
Вследствие износа уплотнительной шайбы или манжеты сальника происходит вытекание охлаждающей жидкости из контрольного отверстия водяного насоса.
Износ подшипников водяного насоса вызывает шумную работу водяного насоса.
3.3 Оборудования, применяемые при диагностировании, техническом обслуживании и ремонте системы охлаждения автобуса ПАЗ-3206
На практике применяют приборы и приспособления для определения герметичности ее элементов, температурного перепада между верхним и нижним бачками радиатора, температуры воды и величины разрежения в нижнем бачке радиатора, натяжении ремня вентилятора. Эти проверки позволяют с достаточной точностью определить техническое состояние радиатора, прокладки головки цилиндров, наличие неплотностей в трубопроводах и соединениях шлангов и загрязненность радиатора. Наличие в системе охлаждения накипи определяют изменением количества жидкости, находящейся в системе, или по перегреву двигателя при нормальной работе всех других элементов системы и двигателя в целом.
Герметичность системы охлаждения проверяют методом опрессовки системы сжатым воздухом. Проверку проводят в два этапа – на неработающем и работающем двигателе. В первом случае опресовывают систему избыточным давлением 0,7 – 1,0 кгс/кв.см, под действием которого в местах неплотностей вода начинает просачиваться наружу. Во втором случае герметичность проверяют при минимальных оборотах холостого хода (450-700 об/мин), при этом колебания стрелки манометра указывают на внутренние течи в системе, которые в основном вызываются неисправностью прокладки головки цилиндров.
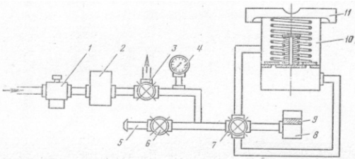
В Ленфилиале НИИАТ разработан прибор модели К-437, предназначенный для определения герметичности системы охлаждения и проверки технического состояния клапанов пробок радиаторов (рисунок 3.7)
Рисунок 3.7 – Принципиальная схема прибора для проверки системы охлаждения модели К-437
Он состоит из редуктора 1, ресивера 2, стакана 10, воздушного индикатора 8, в котором установлен поплавок 9, трехходового крана 3 и двухходового крана 6, манометра 4, четырехходового крана 7 и насадки 5.
Для проверки герметичности системы охлаждения с радиатора автомобиля снимают пробку и вместо нее устанавливают насадку 5 прибора. Открытием крана 6 подают сжатый воздух в радиатор. Герметичность системы охлаждения определяют по падению давления воздуха, наблюдаемого по манометру 4, и визуальным осмотром.
Для проверки клапанов пробку радиатора 11 устанавливают на стакан. Вначале проверяют паровой клапан, для чего установкой четырехходового крана 7 в соответствующее положение подают сжатый воздух в нижнюю часть стакана. Краном 3 давление воздуха в стакане доводят до величины, при которой начинается подъем поплавка 9 индикатора 8, что свидетельствует о срабатывании парового клапана. По манометру 4 определяют давление воздуха, при котором сработал клапан. При проверке воздушного клапана воздух подают в верхнюю часть стакана. Полученные результаты сравнивают с нормативными данными и определяют пригодность пробки к эксплуатации.
Температурный перепад между верхним и нижним бачками радиатора обычно определяют термопарами или электрическими термометрами. Уменьшение температурного перепада по сравнению с нормой (8-
) свидетельствует о наличии накипи или загрязнении радиатора.
Для проверки натяжения ремней вентилятора, генератора и компрессора является устройство КИ-8920.
Устройство прибора КИ-8920 показано на рисунке 3.8.
1 – ползун; 2 – корпус; 3 – упор пружины; 4 – винт; 5 – направляющая; 6 – фиксирующий винт; 7 – пружина; 8 – шток; 9, 10 – секторы; 11 – ось-винт; 12 – установочная скоба
Рисунок 3.8 – Устройство КИ-8920 для проверки натяжения ремней вентилятора, генератора и компрессора
Устройство действует по принципу зависимости линейной величины прогиба ремня от угла прогиба при заданном усилии. Сектор 10 устройства имеет шкалу для определения величины прогиба ремня, он отделен от сектора 9 текстолитовой шайбой, а от штока пружиной, которая фиксирует положение секторов после измерения прогиба ремня.
С другой стороны штока винтами укреплена установочная скоба 12.















