147452 (691923)
Текст из файла
Федеральное агентство по образованию
Сибирский государственный технологический университет
Факультет: Механический
Кафедра: Механики
РАСЧЕТ МЕХАНИЗМА ПОДЪЕМА ГРУЗА
МОСТОВОГО КРАНА
Пояснительная записка
(КМ.РГР.02.01.00.000ПЗ)
Руководитель:
(подпись)
(оценка, дата)
Разработал:
Студент группы
(подпись)
(дата)
Задание на проектирование №12 Вариант 4
Спроектировать механизм подъема груза мостового крана
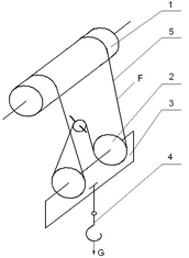
Рисунок – Кинематическая схема механизма подъема груза: 1 – электродвигатель, 2 – муфты , 3 – вал-вставка, 4 – тормоз, 5 –редуктор, 6 – барабан
Грузоподъемность, т 10,0
Пролет, м 16,5
Высота подъема, м 12,5
Колесная база, м 4,0
Скорость подъема, м/с 0,63
Скорость передвижения грузовой тележки, м/с 0,6
Скорость передвижения крана, м/с 2,0
Тип тележки двухрельсовая опорная
Режим работы, % 25
Грузозахватное устройство крюковая подвеска
Ориентировочная масса каната 30 – 50
Реферат
В расчетно-графической работе приведены результаты проектирования механизма подъема груза мостового крана.
В работе изложены решения следующих задач: выбор полиспаста, крюка с крюковой подвеской, типового электродвигателя, редуктора, муфт и тормоза; выбор и расчет каната; расчет геометрических параметров каната; выбор схемы и способа крепления конца каната на барабане; выбор подшипников и их проверочный расчет.
Расчетно-графическая работа содержит расчетно-пояснительную записку из 30 страниц, 11 таблиц, 13 рисунков и графическую часть из 1 листа формата А3, выполненного на миллиметровке.
Содержание
Введение
1 Назначение и область применения проектируемого изделия
1.1 Техническая характеристика проектируемого механизма
1.2 Описание и обоснование варианта проектируемого механизма
2 Расчеты, подтверждающие работоспособность и надежность
механизма подъема груза
2.1 Цель и задачи расчета
2.2 Выбор схемы полиспаста
2.3 Определение максимального усилия в канате
2.4 Определение разрывного усилия в канате и выбор каната
2.5 Определение параметров барабана
2.6 Определение длины каната
2.7 Определение длины барабана
2.8 Определение толщины стенки барабана
2.9 Определение частоты вращения барабана2.10 Определение статической мощности двигателя, выбор типового электродвигателя
.11 Определение расчетной мощности редуктора и его выбор
2.12 Определение статического момента на валу двигателя при
подъеме груза
2.13 Определение расчетного момента и выбор муфты
2.14 Определение номинального момента на валу двигателя
2.15 Определение среднего пускового момента
2.16 Определение времени пуска двигателя при подъеме груза
2.17 Определение фактической частоты вращения барабана
2.18 Определение фактической скорости подъема груза
2.19 Определение максимального ускорения при подъеме груза
2.20 Определение тормозного момента и выбор тормоза
2.21 Определение времени торможения при опускании груза
2.22 Определение пути торможения
2.23 Определение максимального времени торможения
2.24 Определение замедления при торможении
2.25 Расчет оси барабана
2.26 Подбор подшипников и проверка их на долговечность
2.27 Крепление конца каната на барабане
2.28 Выбор крюковой подвески
Заключение
Список использованных источников
ведение
В современных условиях поточного и автоматизированного производства значение подъемно-транспортных машин качественно изменилось. Они вышли за рамки своего первоначального назначения – вспомогательного оборудования для механизации трудоемких процессов производства – и являются связующими звеньями в технологической цепи, обеспечивающими непрерывность производства, основным регулятором поточного производства, ограниченной частью технологических процессов, определяющих ритм и производительность основного оборудования предприятия. Подъемно-транспортные устройства являются основой комплексной механизации и автоматизации производственных процессов. От правильного выбора наиболее рациональных машин зависит высокопродуктивная работа всего предприятия.
Конструкция подъемно-транспортных машин непрерывно совершенствуется, в связи, с чем возникают новые задачи по расчету, проектированию, исследованию и выбору оптимальных параметров машин, обеспечивающих высокие технико-экономические показатели и качество машин.
В данной работе был рассчитан и спроектирован механизм подъема мостового крана, были рассчитаны параметры барабана, выбран канат, подобраны двигатель и редуктор, подобрана крюковая подвеска, выбран тормоз.
1 Назначение и область применения проектируемого изделия
Электрические подъёмные краны - это устройства служащие для вертикального и горизонтального перемещения грузов. Подвижная металлическая конструкция с расположенной на ней подъемной лебёдкой являются основными элементами подъёмного крана. Механизм подъемной лебёдки приводится в действие электрическим двигателем.
Подъемный кран представляет собой грузоподъемную машину циклического действия, предназначенную для подъема и перемещения груза, удерживаемого грузозахватным устройством (крюк, грейфер). Он является наиболее распространенной грузоподъемной машиной, имеющей весьма разнообразное конструктивное исполнение и назначение.
Мостовой кран (рис.1) представляет собой мост, перемещающейся по крановым путям на ходовых колесах, которые установлены на концевых балках. Пути укладываются на подкрановые балки, опирающиеся на выступы верхней части колонны цеха. Механизм передвижения крана установлен на мосту крана. Управление всеми механизмами происходит из кабины прикрепленной к мосту крана. Питание электродвигателей осуществляется по цеховым троллеям. Для подвода электроэнергии применяют токосъемы скользящего типа, прикрепленные к металлоконструкции крана. В современных конструкциях мостовых кранов токопровод осуществляется с помощью гибкого кабеля. Привод ходовых колес осуществляется от электродвигателя через редуктор и трансмиссионный вал.
Любой современный грузоподъемный кран в соответствии с требованиями безопасности, может иметь для каждого рабочего движения в трех плоскостях, следующие самостоятельные механизмы: механизм подъема - опускания груза, механизм передвижения крана в горизонтальной плоскости и механизмы обслуживания зоны работы крана (передвижения тележки).
.1 Техническая характеристика проектируемого механизма
1 Полиспаст сдвоенный, с кратностью 2 (Z = 2; U = 2 ).
2 Канат двойной свивки типа ЛК – Р конструкции 6×9 (1+6+6/6) + 1 о.с. диаметром dK = 14 мм по ГОСТ 2688-80, с помощью прижимной планки двумя болтами крепится к барабану). Длина каната LK – 16,71 м.
3 Барабан литой из чугуна СЧ28, разборный.
Длина барабана l = 1,324 м
Диаметр барабана по центру навиваемого каната Dб = 0,35 м
Длина нарезанной части барабана с одной стороны lн = 0,427 м
Шаг нарезки t = 16 мм
4 Электродвигатель асинхронный с короткозамкнутым ротором общепромышленной серии MTF
Типоразмер 4МТН 225L6
Номинальная мощность, кВт 55
Частота вращения вала, мин-1 960
Момент инерции ротора, кгм2 1,02
Масса, кг 500
5 Редуктор горизонтальный двухступенчатый цилиндрический Ц2 400
Передаточное число 12,41
Режим работы, ПВ % 25
Частота вращения быстроходного вала, мин-1 1500
Мощность на быстроходном валу, кВт 81
Диаметр проточки под подшипники выходного конца вала, выполненного в виде зубчатой полумуфты, мм 110
6 Муфты с тормозным шкивом №2
Передаваемый крутящий момент, Нм 1000
Диаметр тормозного шкива, мм 300
Ширина тормозного шкива, мм 150
Момент инерции муфты, кгм2 1,5
7 Тормоз
Типоразмер ТКГ – 300
Номинальный тормозной момент, Нм 800
Расчетный тормозной момент, Нм 740
Диаметр тормозного шкива, мм 300
Ширина тормозной колодки, мм 140
Масса, кг 80
.2 Описание и обоснование варианта проектируемого механизма
Кинематическая схема механизма подъема с крюковой подвеской показана на рисунке. Электродвигатель 1 соединен с цилиндрическим редуктором 5 при помощи муфт 2 и 4 и вала- вставки 3; полумуфта 4 со стороны редуктора выполнена с тормозным шкивом, на котором установлен колодочный тормоз. Редуктор 5 соединен с барабаном 6 при помощи муфты 2. На барабан наматывается канат полиспаста с грузозахватным приспособлением.
Одной из поставленных целей расчетно-графической работы является упрощение конструкции и уменьшение габаритных размеров механизма подъема груза. Для этого из конструкции исключаем муфту 2 между барабаном и редуктором, при этом выходной конец вала изготавливаем в виде зубчатой полумуфты. Также исключаем муфту 2 и вал-вставку 3, так как межосевое расстояние редуктора позволяет вместить барабан и двигатель без вала-вставки.
2 Расчеты, подтверждающие работоспособность и надежность механизма подъема груза
2.1 Цель и задачи расчета
Общий расчет механизма подъема груза включает с себя:
- выбор полиспаста, крюка с крюковой подвеской, типового электродвигателя, редуктора, муфт и тормоза;
- выбор и расчет каната;
- расчет геометрических параметров каната;
- выбор схемы и способа крепления конца каната на барабане;
- выбор подшипников и их проверочный расчет
2.2 Выбор схемы полиспаста
Расчет механизма подъема груза начинают с выбора схемы полиспаста с учетом грузоподъемности и типа крана (по таблице 1 [1]).
Для проектируемого крана грузоподъемностью Q = 10т
Рисунок 2.1 – Схема полиспаста крана грузоподъемностью 10т: 1 – барабан, 2 – блок, 3 – траверса, 4 – крюк, 5 – трос
.3 Определение максимального усилия в канате
Усилие в канате, набегающем на барабан при подъеме груза, Н
(1)
где Q – грузоподъемность, кг;
z – число полиспастов, для сдвоенного полиспаста z = 2;
Uп – кратность полиспаста, Uп = 2;
общий КПД полиспаста и обводных блоков
(2)
где
КПД полиспаста
(3)
где
КПД блоков, по таблице 2[1]
С учетом реальных событий
.
Так как обводные блоки отсутствуют,
Таким образом
2.4 Определение разрывного усилия в канате и выбор каната
Расчетное разрывное усилие в канате при максимальном усилии равно
(4)
где k – коэффициент запаса прочности, по таблице 3[1] k = 5,5 для среднего режима.
По разрывному усилию выбираем диаметр и тип каната (таблица П1.1[1])
Рисунок 2.2 – Схема сечения каната двойной свивки типа ЛК – Р конструкции 6×9 (1+6+6/6) + 1 о.с. ГОСТ 2688 – 80
Таблица 2.1 – Основные параметры каната
| Диаметр каната, мм | Масса 1000м каната, кг | Маркировочная группа, Мпа | Разрывное усилие каната, Н, не менее |
| 14 | 728 | 1568 | 98950 |
Фактический коэффициент запаса прочности каната
(5)
2.5 Определение параметров барабана
Характеристики
Тип файла документ
Документы такого типа открываются такими программами, как Microsoft Office Word на компьютерах Windows, Apple Pages на компьютерах Mac, Open Office - бесплатная альтернатива на различных платформах, в том числе Linux. Наиболее простым и современным решением будут Google документы, так как открываются онлайн без скачивания прямо в браузере на любой платформе. Существуют российские качественные аналоги, например от Яндекса.
Будьте внимательны на мобильных устройствах, так как там используются упрощённый функционал даже в официальном приложении от Microsoft, поэтому для просмотра скачивайте PDF-версию. А если нужно редактировать файл, то используйте оригинальный файл.
Файлы такого типа обычно разбиты на страницы, а текст может быть форматированным (жирный, курсив, выбор шрифта, таблицы и т.п.), а также в него можно добавлять изображения. Формат идеально подходит для рефератов, докладов и РПЗ курсовых проектов, которые необходимо распечатать. Кстати перед печатью также сохраняйте файл в PDF, так как принтер может начудить со шрифтами.















