147339 (691875)
Текст из файла
Министерство путей сообщения Российской Федерации
Московский государственный университет путей сообщения (МИИТ)
Институт транспортной техники и организации производства
Кафедра «Вагоны и вагонное хозяйство»
Пояснительная записка
к курсовой работе
по дисциплине «Автоматические тормоза и безопасность движения»
Разработка и проектирование тормозной рычажной передачи 4-х осевого крытого вагона на тележках модели 18-100
Выполнил ст. гр. ТВГ-411
Бородин Е. В.
Проверил преподаватель
Юдин В. А.
Москва 2005
Содержание
Введение
1.Выбор тормозной системы подвижного состава
1.1. Определение потребной тормозной силы по заданной длине тормозного пути.
1.2 Расчет допускаемой тормозной силы из условия безъюзного торможения подвижного состава
2. Расчет пневматической части тормозной системы вагона
2.1. Выбор принципиальной схемы пневматической части тормозной системы вагона
2.2.Выбор типа воздухораспределителя
2.3. Требования к воздухораспределителям грузового подвижного состава
2.4. Определение диаметра тормозного цилиндра
2.5 Выбор передаточного числа РП тормоза
2.6 Выбор объема запасного резервуара
3 Расчет и проектирование механической части тормозной системы вагона
3.1 Выбор принципиальной схемы механической части тормозной системы вагона.15
3.2 Качественные характеристики механической части тормозной системы вагона..16
3.3 Определение передаточного числа рычажной передачи по заданной величине нажатии тормозных колодок
3.4 Вывод формулы геометрического передаточного числа рычажной передачи тормоза
3.5 Определение плеч рычагов и длин тяг рычажной передачи
3.6 Выбор сечений элементов рычажной передачи тормоза вагона
3.7 Расчет на прочность по допускаемым напряжениям затяжки горизонтальныхх рычагов
3.8.Вычисление величины деформации элементов рычажной передачи при торможение вагона
3.9 определение величины выхода штока тормозного цилиндра при торможении вагона
3.10.Приращение хода поршня Т. Ц. от сжатия возвратной пружины регулятора
4. Проверка обеспеченности вагона тормозными средствами
4.1 Определение расчетного коэффициента трения и расчетного тормозного нажатия колодок
4.2.Определение расчётного коэффициента нажатия тормозных колодок для различной степени загрузки крытого вагона
4.3. Проверка максимальной силы нажатия тормозных колодок на отсутствие юза колёсных пар
5. Обоснование эффективности разработанной и спроектированной тормозной системы вагона
5.1. Вычисление полного тормозного пути на участке с заданным руководящим уклоном и начальной скоростью торможения
5.2. Определение величины замедления и времени полного торможения
5.3. Расчёт температуры нагрева элементов трущихся пар
6. Определение технического содержания и приемка тормозного оборудования вагона
Введение
Целью курсового проекта является разработка и проектирование тормозной рычажной передачи 4-х осевого крытого вагона на тележках модели 18-100.
Крытый вагон служит для перевозки груза, требующего защиты от воздействия атмосферных явлений и сыпучих грузов. В военное время крытый вагон используется для военных перевозок личного состава.
Автотормозная техника представляет собой достаточно сложный комплекс устройств, создающих искусственно регулируемое сопротивление движению поезда при регулировании его скорости или остановки.
Автоматические тормоза железнодорожного подвижного состава являются одним из основных средств, обеспечивающих безопасность движения поездов и оказывающих непосредственное влияние на повышение пропускной и провозной способности железных дорог.
Все грузовые магистральные вагоны оборудованы воздухораспределителями № 483. На всех грузовых вагонах обычно использованы авторежимы № 265А, установленные сбоку хребтовой балки над тележкой. Под вагоном также расположены магистральная труба диаметром
, концевые краны с междувагонными соединительными рукавами № 369А и пылеловка.
Автоматические тормоза подвижного состава железных дорог России отвечают современным требованием и по техническому уровню имеют ряд преимуществ перед конструкциями зарубежных аналогов. Наиболее широко применяется пневматический колодочный тормоз, которым оборудуются как грузовые, так и пассажирские вагоны.
1.Выбор тормозной системы подвижного состава
1.1. Определение потребной тормозной силы по заданной длине тормозного пути
Исходные данные:
- максимальная скорость движения поезда V = 80 км/ч;
- величина уклона 0,003;
- масса крытого вагона брутто 91 т;
- расчетное значение тормозного пути при ЭТ грузового поезда Sт= 1200м;
Среднее значение основного удельного сопротивления движению крытого вагона:
;
где:
- скорость движения подвижного состава, км/ч;
- эмпирические коэффициенты, зависящие от типа подвижного состава и конструкции буксового узла колесных пар. Для крытого вагона с буксами на роликовых подшипниках соответственно равны:
где:
- масса вагона, приходящаяся на одну ось, т;
Т;
Удельное ускоряющее усилие на грузовой поезд от уклона пути: ic = 10*i.
где: i – уклон пути, принимают на подъеме со знаком <>, а на спуске со знаком <>;
1.1.1 Среднее значение удельной тормозной силы по расчетной длине пути:
где:
- время подготовки тормоза к действию при торможении поезда на равнинном участке пути, с. Для грузового поезда с пневматическим тормозом
= 7с;
-составляющая времени подготовки тормоза к действию при торможении поезда на уклоне,с. Для грузового поезда с пневматическим тормозом
=10с;
- замедление поезда под действием замедляющей силы 1Н/т, принимаемое с учетом инерции вращающихся масс равным 12 грузовых и пассажирских поездов, км/ч2;
1.1.2 Среднее значение удельной тормозной силы по величине замедления поезда:
по расчетному замедлению
= 1,3 м/с2
по наибольшему допускаемому замедлению
= 2 м/с2
1.1.3.Проверка потребной тормозной силы по допустимой величине замедления
где: Sд - величина действительного тмозного пути.
Полученная тормозная сила обеспечивает замедление поезда в допустимых пределах и обеспечивает сохранность перевозимого груза.
1.2 Расчет допускаемой тормозной силы из условия безъюзного торможения подвижного состава
Для тормозов, основанных на использовании сцепления колес с рельсами, реализуемая тормозная сила не должна превышать силу сцепления, так как возможно заклинивание колесных пар. Кроме того, при юзе возрастает тормозной путь.
Рис.1.1. Силы, действующие на колесо при торможение подвижного состава.
Условие безъюзного торможения колесной пары:
где: ВТ- реализуемая тормозная сила колесной пары, Н;
Вс- предельное значение силы сцепления рельса с колесом или допускаемая тормозная сила по сцеплению, Н; Вс=[вт];
- коэффициент сцепления колеса и рельса,
q - статическая осевая нагрузка единицы подвижного состава, Н;
Кс - расчетный коэффициент запаса по сцеплению.
Определим среднюю допускаемую удельную тормозную силу по сцеплению для крытого вагона.
Вес брутто 91 т., конструкционная скорость – 100 км/ч.
Расчетный коэффициент сцепления:
Допускаемая тормозная сила:
Значения
определяем из графика функции скорости.
Результаты расчетов
и
соответствующие скоростям движения крытого вагона от 100 км/ч до полной остановки, сведем в таблицу № 1 .
На основании полученных данных строем графическую зависимость удельной тормозной силы от скорости движения
Расчетные значения
и
для крытого вагона
| V, км/ч |
|
|
|
| 80 | 0,57 | 0.0817 | 694.5 |
| 60 | 0,60 | 0.0860 | 731 |
| 40 | 0,64 | 0.0917 | 779.5 |
| 20 | 0,73 | 0.1046 | 890 |
| 0 | 1 | 0.1433 | 1218 |
График зависимости допускаемой удельной тормозной силы от скорости движения вагона.
Скорость движения V-км/ч.
Определим среднее значение допускаемой удельной тормозной силы:
Вывод
1) Потребная тормозная сила (втс = 274 Н/т) меньше допускаемой по сцеплению ([втс] = 839.2 Н/т). В этом случае параметры тормозной системы следует выбирать из допускаемой тормозной силы. Целесообразно использование колодочного тормоза с пневматическим управлением.
2) При втс=274 Н/т и замедление аm=0,24 м/с2 соблюдается необходимая
безопасность движения 4-х осной цистерны в составе поезда и обеспечиваются условия сохранности груза.
2. Расчет пневматической части тормозной системы вагона
2.1. Выбор принципиальной схемы пневматической части тормозной системы вагона
Пневматическая часть тормоза существующих крытых вагонов спроектирована на основе использования непрямодействующего автоматического тормоза.
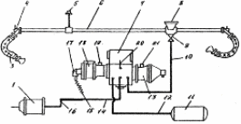
Рис.2.1 Схема пневматического тормозного оборудования крытого вагона.
На новых грузовых вагонах устанавливается только ВР №483. Его двухкамерный резервуар 6 укреплен на раме вагона и отводами 9 и 11 соответственно соединен с М 5 и ЗР 10. Причем отвод 9 непосредственно ввинчен в разобщительный кран 8, который сам установлен в тройнике кронштейне 7. Последнее позволяет в случае излома отвода отключить не только ВР, но и неисправный отвод.
Разобщительный кран 8 № 372 снабжен отверстием диаметром 4 мм, через которое при выключении тормоза магистральная камера ВР сообщается с атмосферой (Ат), тем самым, предупреждая самоторможение выключенного ВР в случае пропуска воздуха через пробку закрытого разобщительного крана. По горцам магистральный воздухопровод 5 оборудован концевыми кранами 3 и соединительными рукавами 2.
Концевой кран 3 № 190 имеет контрольное отверстие диаметром 6 мм, посредством которого при закрытии крана полость соединительного рукава 2 сообщается с Ат, что позволяет затем безопасно разъединять рукава.
Кран экстренного торможения (ЭТ) 4 со снятой ручкой устанавливается только на вагонах с тормозной площадкой. Для отпуска тормоза вагона вручную служит выпускной клапан 15 № 31, который непосредственно размещен на крыше главной части 16 ВР. На рукоятке этого клапана закреплен проволочный поводок 14, выведенный к боковой стороне вагона.
Сверху на корпусе главной части 16 ВР находится обратный клапан 17, наделяющий тормоз свойством неистощимости. Также сверху, но на корпусе магистральной части 12 ВР располагается клапан мягкости 19.
2.2.Выбор типа воздухораспределителя
ВР выполняет важнейшие функции автотормоза и поэтому является одним из наиболее ответственных приборов тормозного оборудования вагона. Наряду с основными операциями, изложенными выше, ВР должен выполнять такие вспомогательные операции, как дополнительную разрядку М, образование скачка начального давления в ТЦ, изменение грузового режима торможения.
Характеристики
Тип файла документ
Документы такого типа открываются такими программами, как Microsoft Office Word на компьютерах Windows, Apple Pages на компьютерах Mac, Open Office - бесплатная альтернатива на различных платформах, в том числе Linux. Наиболее простым и современным решением будут Google документы, так как открываются онлайн без скачивания прямо в браузере на любой платформе. Существуют российские качественные аналоги, например от Яндекса.
Будьте внимательны на мобильных устройствах, так как там используются упрощённый функционал даже в официальном приложении от Microsoft, поэтому для просмотра скачивайте PDF-версию. А если нужно редактировать файл, то используйте оригинальный файл.
Файлы такого типа обычно разбиты на страницы, а текст может быть форматированным (жирный, курсив, выбор шрифта, таблицы и т.п.), а также в него можно добавлять изображения. Формат идеально подходит для рефератов, докладов и РПЗ курсовых проектов, которые необходимо распечатать. Кстати перед печатью также сохраняйте файл в PDF, так как принтер может начудить со шрифтами.
















