147339 (691875), страница 5
Текст из файла (страница 5)
где е – эксцентриситет приложения усилия Р3, е =105мм.
3.8.Вычисление величины деформации элементов рычажной передачи при торможение вагона
Упругие деформации элементов рычажной передачи, работающих на растяжение или сжатие определим по формуле:
где: Р – сила действующая в рассматриваемом сечение, Н;
l – длинна рассматриваемых элементов, см;
F – площадь поперечного сечения, см;
Е – модуль упругости, Н/см.
В случае внутреннего растяжения (сжатия) формула принимает следующий вид:
где: е – эксцентриситет приложения силы;
I – момент инерции сечения относительно точки приложения силы.
Деформации рычагов рассчитываем по следующей формуле:
где: а и б – плечи рычагов, мм.
Деформация траверсы определяется по формуле:
где: c – плечо приложения силы Р, мм.
Деформация изгиба горизонтального рычага ТЦ:
Момент инерции определим по формуле:
3.9.ОПРЕДЕЛЕНИЕ ВЕЛИЧИНЫ ВЫХОДА ШТОКА ТОРМОЗНОГО ЦИЛИНДРА ПРИ ТОРМОЖЕНИИ ВАГОНА
Рис. 3.6 Зависимость хода поршня от давления в Т.Ц.
3.9.1 РАСЧЕТ СВОБОДНОГО ХОДА ПОРШНЯ ЦИЛИНДРА ПРИ ТОРМОЖЕНИИ ВАГОНА
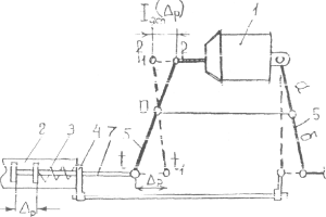
Определим влияние величины зазора ∆ между колодкой и колесом на выход штока LCB поршня ТЦ. Рассмотрим только головную кинематическую цепь ТРП. Тыловая кинематическая цепь передачи тормоза, расположенная на вагоне со стороны задней крышки ТЦ по всей структуре идентична головной и имеет обозначения соединений подвижных звеньев 1 – 9.
Свободный ход поршня ТЦ найдем из условий перемещения шарниров 1- 9 и 1’ – 9’ собирающих элементы рычажного механизма в единые кинематические цепи. Для этого воспользуемся подобием треугольников, образованных в структуре механизма изначальным и конечным местоположением рычагов передачи (рис. 3.7.)
Рис. 3.7.Свободный ход поршня Т.Ц. при торможении вагона за счет перемещения колодок до прилегания к колесам.
С учетом полученных результатов полную величину свободного хода поршня Т. Ц. можно выразить:
- зазор между колодкой и колесом;
= 8мм.
для чугунных колодок:
для композиционных колодок:
Приращение выхода штока от износа тормозных колодок определяется
- износ тормозных колодок; по данным ВНИИЖТа:
, следовательно
, для чугунных тормозных колодок.
3.9.2 РАСЧЕТ ДОПОЛНИТЕЛЬНОГО ХОДА ШТОКА ЦИЛИНДРА ПРИ ТОРМОЖЕНИИ ВАГОНА
После прилегания всех колодок к колесам с увеличением давления воздуха в ТЦ колодки прижимаются с большим усилием, а поршень цилиндра, как указывалось выше, сделает дополнительный ход Lдоп, величина которого зависит от давления воздуха в ТЦ, деформации всех элементов ТРП и ее передаточного числа.
Под действием тормозных усилий рычаги передачи подвергаются деформациям изгиба, тяги и другие продольные элементы - растяжению или сжатию. Криволинейной формы затяжки или распорки рычагов испытывают внецентренное, растяжение. Деформируют также триангели и траверсы в направлении воздействующих на них усилий.
Схема для определения влияния упругих деформаций ТРП на величину хода поршня ТЦ в 4-х осном грузовом вагоне показана на рис 3.8.Искомое приращение хода штока ТЦ найдем в указанной схеме из условий перемещений шарниров 2-11, соединяющих между собой в кинематические цени элементы рычажного механизма.
Рис. 3.8.
Для этого воспользуемся подобием треугольников, образованных в структуре механизма изначальным и конечным местоположением рычагов передачи, обусловленным деформациями в ТРП.
Деформации:
1 – триангеля;
2 – изгиба вертикального рычага тележки;
3 – сжатие затяжки вертикальных рычагов;
4 – растяжение тяги вагона;
5 – изгиба горизонтального рычага ТЦ;
6 – растяжение затяжки горизонтальных рычагов;
3.9.3Вычисление величин деформаций элементов РП при торможении вагона
Деформация вертикального рычага тележки:
Упругие деформации элементов Р.П., работающих на растяжение и сжатие определяются по:
, где
Р – сила действующая в рассматриваемом сечении, Н.
l – длины рассматриваемых элементов, см,
F – площадь поперечного сечения, см2
Е – модуль упругости, Н/ см2
В случае внутреннего растяжения (сжатия) формула примет вид:
е – эксцентриситет приложения силы;
I– момент инерции сечения.
Деформация сжатия затяжки вертикальных рычагов:
где l – длина затяжки, l=119,5 см;
F – площадь поперечного сечения, F=18.75 см2.
Деформация растяжения тяги вагона:
F=3,8 см2; lдл=2910 мм; lкор=523 мм;
Деформация горизонтального рычага:
t*(h3-d23) 14(1403 – 453)
I= = = 3095021мм3
-
12
Деформация затяжки горизонтальных рычагов (внецентренное
растяжение):
где e – эксцентриситет, е = 65мм;
I – момент инерции сечения пластины.
I=t*h3/12= 25*1103/12=2772917мм4
F= t*h=25*110=2750; l=1070мм;
Деформация триангеля:
1= [4,5*(L- а)2*Р]/3I1+2*l1*P/6I2*[(L-а)*4,5-L*0,8-((L-
f)/2)*0,8+4,5*L12)
Принимаем деформацию прогиба триангеля в процессе торможения 2 мм.
Определяем величину выхода штока от упругих деформаций.
По технологическим требованиям на проектирование ТРП вагона выход штока ТЦ от упругих деформаций не должен превышать 25% (<60мм) выхода штока при ПСТ или при 1-ой ступени торможения.
3.10.Приращение хода поршня Т. Ц. от сжатия возвратной пружины регулятора
РисЗ.9Приращение хода поршня тормозного цилиндра в зависимости от величины сжатия пружины АРП
Поршень ТЦ совершает дополнительный ход в процессе торможения вагона за :чет возвратной пружины регулятора рычажной передачи. На рис. 3.9 приведена расчетная схема узла ТЦ 1 вагона для определения приращения хода его поршня от сжатия возвратной пружины 3 в регуляторе 2 при торможении.
При воздействии привода 4 на корпус регулятора 2.Под действием растягивающих усилий, развиваемых поршнем ТЦ 1 в процессе торможения, происходит сжатие тяговым стержнем 7 возвратной пружины 3 регулятора на величину АР (см Рис.3.9), что обуславливает поворот головного горизонтального рычага 5 и приращения хода поршня цилиндра. Зависимость перемещения поршня ТЦ и величины сжатия р возвратной пружины 3 установим; на основе подобия треугольников f1f0 и t1t0 откуда следует:
полная величина выхода штока:
4. Проверка обеспеченности вагона тормозными средствами
В соответствии с Правилами технической эксплуатации все грузовые и пассажирские вагоны, отправляемые в рейс, должны быть обеспечены автоматическими тормозами из расчета единой наименьшей тормозной силы [Вт], гарантирующей остановку поезда на заданном тормозном пути.
Однако вычисление тормозных сил поезда, составленного из большого количества разнотипных вагонов с различной загрузкой, но фактическому, действительному нажатию на колесо тормозных колодок Кд и коэффициенту трения φк весьма трудоемка, т. к. для вагонов в разном режиме торможения необходимо определять свое значение φк по известному К.
4.1 Определение расчетного коэффициента трения и расчетного тормозного нажатия колодок
Коэффициент трения φк зависит от скорости движения, силы нажатия К колодки на колесо и вычисляется для композитных тормозных колодок по формуле:
Действительная сила нажатия
;
где: РШТ - усилие по штоку ТЦ, Н;
РТЦ - расчетное давление воздуха в ТЦ,
для крытых вагонов с композиционными колодками РТЦ=0,3МПа;
ηТЦ - КПД ТЦ; ηТЦ =0,92
Рпр - усилие отпускной пружины ТЦ, Н;
Рр - усилие возвратной пружины;
dТЦ - диаметр TЦ. мм:
Усилие отпускной пружины ТЦ:
Рпр=Ро+ЖЦ*LШ ,где:
Ро - усилие предварительного сжатия отпускной пружины ТЦ, Н;
Р0 = 159 кгс;
ЖЦ - жесткость отпускной пружины ТЦ, ЖЦ = 6,57 кгс/см;
LШ- величина выхода штока TЦ, мм.
Для композиционных LШ =10см.
Рпр(комп) =1590+6,57*100=2247 Н.
Усилие возвратной пружины авторегулятора РП, приведённое к штоку ТЦ:
где: РОР - усилие предварительного сжатия возвратной пружины
РОР - 1690 Н;
1р- величина сжатия возвратной пружины 1р= 15 мм;
nр - передаточное число, для чугунных колодок и для композиционных nр=0,65.
ЖЦ - жесткость возвратной пружины ТЦ, ЖЦ = 23,1 кгс/см
для композиционных колодок на среднем режиме ВР (Кд=15кН):
;
n – предаточное число ТРП вагона; n=5,4;
ηРП - КПД ТРП, в типовых расчетах тормоза рекомендуется принимать ηРП, для передачи с одним TЦ крытого вагона равным 0.95.
Тогда действительная сила нажатия :
;
;
Принимаем что у композиционных тормозных колодок Кд=16кН, тогда:
Расчетное нажатие Кp, определяется по действительному КД на основе метода приведения, исходя из того, чтобы при принятом φкр, отличающимся от φк, тормозная сила Вт, при любом методе расчета была одинаковая, равная истинному значению, т, е.:
;
для композиционных колодок:
4.2.Определение расчётного коэффициента нажатия тормозных колодок для различной степени загрузки крытого вагона
Расчетный коэффициент нажатия тормозных колодок определяется:
для композиционных колодок среднего и груженного режимов:
;
для порожнего режима:
;
Для “П” режима 0,22 p 0,32;
Для “С” режима 0,14 p 0,28;
Также расчетный коэффициент силы нажатия тормозной колодки определяется в зависимости от статической нагрузки колесной пары на рельс:
m1 – число тормозных колодок одной колесной пары;
q0 - статическая нагрузка колесной пары на рельс.
Вычислим
для различных режимов загрузки вагона и сведем данные в таблицу:
При наличии АРЖ:
Давление в ТЦ достигает до 60% загрузки вагона брутто. В зависимости от загрузки на ось оно составляет:
| q0, кН/ось | 66,25 | 86,25 | 106,25 | 126,25 | 146,25 | 166,25 | 232,5 |
| Ртц, МПа | 0,13 | 0,16 | 0,2 | 0,235 | 0,27 | 0,3 | 0,3 |
Усилие на штоке определяется:
;
площадь поршня ТЦ Fтц=994
;
величина выхода штока Lшт=10 см.
;
результаты сведены в таблицу:
Таблица 1.
| Ртц, МПА | Ршт,кН | К , кН | Кр , кН | q0 , кН/ось | δр |
| 0,13 | 9,1 | 6,34 | 7,079 | 66,25 | 0,22 |
| 0,16 | 12,02 | 8,37 | 9,11 | 86,25 | 0,22 |
| 0,2 | 15,92 | 11,09 | 11,68 | 106,25 | 0,22 |
| 0,235 | 19,33 | 13,47 | 13,81 | 126,25 | 0,22 |
| 0,27 | 22,74 | 15,85 | 15,85 | 146,25 | 0,22 |
| 0,3 | 25,66 | 17,88 | 17,5 | 166,25 | 0,216 |
| 0,3 | 25,66 | 17,88 | 17,5 | 232,5 | 0,14 |
По данным таблицы 1 строим зависимость коэффициента расчетного тормозного нажатия композиционных колодок от загрузки вагона:
Из графика видно, что при наличии на вагоне АРЖ обеспеченность его тормозными средствами до 60% загрузки от веса брутто практически остается неизменной. Также при любой степени загрузки крытый вагон в полной мере обеспечен тормозами о чем свидетельствуют δр = 0,22 для поржнего и δр = 0,14 для груженного вагона.
При неисправном АРЖ:
Результаты вычислений сведены в таблицу 2.
Таблица 2
| Режим ВР | Ртц, МПА | Ршт,кН | К , кН | Кр , кН | q0 , кН/ось | δр |
| порожний | 0,14 | 10,067 | 7,02 | 7,78 | Т=66,25 | 0,24 |
| Т+30=96,25 | 0,16 | |||||
| средний | 0,3 | 25,66 | 17,88 | 17,5 | 96,25 | 0,30 |
| 126,25 | 0,27 |
По данным таблицы 2 строим зависимость коэффициента расчетного тормозного нажатия композиционных колодок от загрузки вагона:
Из графика видно, что обеспеченность вагона тормозными средствами по мере его загрузки существенно снижается на всех режимах.Вагон обеспечен тормозами.
Вывод: при наличии на вагоне АРЖ при любой степени загрузки крытый вагон в полной мере обеспечен тормозами о чем свидетельствуют δр = 0,22 для поржнего и δр = 0,14 для груженного вагона.
4.3. Проверка максимальной силы нажатия тормозных колодок на отсутствие юза колёсных пар
Существует условие:
Определяем усилие на штоке тормозного цилиндра при выходе штока Lшт=100 мм, для режимов ВР:
“П” – Ртц=1,8 кгс/
,
“С” – Ртц=3,4 кгс/
,
Определим действительную силу нажатия на тормозную колодку:
Определим величину расчётного нажатия:
Определяем тормозной расчётный коэффициент:
Расчётный коэффициент трения определяют для скоростей V=20км/ч; V=100км/ч; V=120 км/ч.
Допустимый коэффициент сцепления колёс с рельсами определяется по формуле: [p]=д*v,
где
При наличии на вагоне АРЖ:
Определим действительную силу нажатия на тормозную колодку:
Определим величину расчётного нажатия:
Определяем тормозной расчётный коэффициент:
Расчётный коэффициент трения определяют для скоростей V=20км/ч; V=100км/ч; V=120 км/ч.
Допустимый коэффициент сцепления колёс с рельсами определяется по формуле: [p]=д*v,
где
Вывод: полученные значения коэффициента сцепления колеса с рельсом меньше допускаемых. Следовательно, при торможении юза не будет. В соответствии с требованиями МПС по тормозам, величина коэффициента расчетного тормозного сжатия δ = 0,31 свидетельствует о полной обеспеченности крытого вагона тормозами и его можно эксплуатировать в грузовых поездах с максимальной скоростью движения 120 км/ч.
5. Обоснование эффективности разработанной и спроектированной тормозной системы вагона.
5.1. Вычисление полного тормозного пути на участке с заданным руководящим уклоном и начальной скоростью торможения
По расчётному тормозному коэффициенту вычисляем полный тормозной путь на участке с руководящим уклоном –5% , при начальной скорости торможения 100 км/ч.
Тормозной путь определяется, как сумма подготовительного тормозного пути Sн и действительного пути торможения Sд.
Sт=Sн+Sд;
где Vн – начальная скорость торможения, км/ч;
tн – время подготовки тормозов к действию,с;
где bt – удельная тормозная сила экипажа,
где
– расчётный коэффициент трения тормозной колодки;
р – расчётный коэффициент нажатия;
Действительный путь торможения Sд определяется по формуле:
где Vк – конечная скорость торможения в расчётном интервале, принимаем Vк через 10 км/ч;
=120 – замедление экипажа при действии силы 1кг/т,км/ч2;
о – основное удельное сопротивление движению экипажа, кг/т;
где qo – нагрузка от оси на рельс, т;
для порожнего вагона:
для груженного вагона:
для поржнего вагона:
для груженного вагона:
для поржнего вагона:
для груженног вагона:
В соответствии с пунктом 38 инструкции по сигнализации, тормозной путь установлен: Грузовые поезда: i < -6° /00
;
848м < 1600 м- для порожнего режима
1153м < 1600 м - для груженого режима
В соответствии с пунктом 38 инструкции по сигнализации наш вагон оснащен эффективной тормозной системой, т. к. его тормозной путь меньше допустимого и в порожнем и в груженом состоянии.
Результаты расчёта сводим в табл.5.1.
Таблица 5.1.
Расчёт действительного тормозного пути для порожнего вагона.
| | | | | | | | | | |
| 100 | 95 | 0,257 | 79,67 | 6,4 | 8,67 | 253 | 595 | 116 | 848 |
| 90 | 85 | 0,262 | 81,22 | 5,57 | 8,7 | 227 | 479 | 103 | 706 |
| 80 | 75 | 0,267 | 82,77 | 4,78 | 8,72 | 202 | 376 | 91 | 578 |
| 70 | 65 | 0,273 | 84,63 | 4,1 | 8,75 | 177 | 285 | 78 | 462 |
| 60 | 55 | 0,28 | 86,8 | 3,4 | 8,78 | 152 | 207 | 65 | 359 |
| 50 | 45 | 0,288 | 89,28 | 2,85 | 8,82 | 127 | 142 | 53 | 269 |
| 40 | 35 | 0,297 | 92,07 | 2,36 | 8,85 | 102 | 89 | 40 | 191 |
| 30 | 25 | 0,308 | 95,48 | 1,95 | 8,92 | 77 | 49 | 28 | 126 |
| 20 | 15 | 0,322 | 99,82 | 1,6 | 8,94 | 51 | 21 | 16 | 72 |
| 10 | 5 | 0,339 | 105 | 1,34 | 8,99 | 26 | 5 | 5 | 31 |
Расчёт действительного тормозного пути для груженого вагона.
| | | | | | | | | | |
| 100 | 95 | 0,257 | 43,69 | 2,33 | 7,91 | 230 | 923 | 183 | 1153 |
| 90 | 85 | 0,262 | 44,54 | 2,09 | 7,96 | 208 | 740 | 162 | 948 |
| 80 | 75 | 0,267 | 45,39 | 1,86 | 7,99 | 186 | 578 | 141 | 764 |
| 70 | 65 | 0,273 | 46,41 | 1,66 | 8,03 | 163 | 437 | 121 | 600 |
| 60 | 55 | 0,28 | 47,6 | 1,47 | 8,06 | 140 | 316 | 100 | 456 |
| 50 | 45 | 0,288 | 48,96 | 1,31 | 8,14 | 117 | 216 | 80 | 333 |
| 40 | 35 | 0,297 | 50,49 | 1,17 | 8,2 | 95 | 136 | 61 | 231 |
| 30 | 25 | 0,308 | 52,36 | 1,05 | 8,26 | 71,4 | 75 | 42 | 146,4 |
| 20 | 15 | 0,322 | 54,74 | 0,96 | 8,34 | 48 | 33 | 25 | 81 |
| 10 | 5 | 0,339 | 57,63 | 0,88 | 8,42 | 24 | 8 | 8 | 32 |
5.2. Определение величины замедления и времени полного торможения
Замедление и время полного торможения определяются по формулам:
время торможения вагона:
Расчёт замедления и время торможения для порожнего вагона
| | | | | | | | t | |
| 100-90 | 95 | 116 | 0,843 | 3,3 | 8,67 | 30,669 | 39,72 | |
| 90-80 | 85 | 103 | 0,85 | 3,268 | 8,7 | 27,369 | 36,44 | |
| 80-70 | 75 | 91 | 0,856 | 3,245 | 8,72 | 24,1 | 33,19 | |
| 70-60 | 65 | 78 | 0,867 | 3,2 | 8,75 | 20,86 | 30 | |
| 60-50 | 55 | 65 | 0,882 | 3,15 | 8,78 | 17,66 | 26,8 | |
| 50-40 | 45 | 53 | 0,9 | 3,086 | 8,82 | 14,5 | 23,66 | |
| 40-30 | 35 | 40 | 0,927 | 3 | 8,85 | 11,42 | 20,6 | |
| 30-20 | 25 | 28 | 0,946 | 2,94 | 8,92 | 8,42 | 17,63 | |
| 20-10 | 15 | 16 | 0,989 | 2,81 | 8,94 | 5,48 | 14,72 | |
| 10 | 5 | 5 | 1,04 | 2,67 | 8,99 | 2,67 | 11,95 | |
Расчёт замедления и время торможения для грузового вагона
| | | | | | | | t | |
| 100-90 | 95 | 183 | 0,473 | 5,87 | 7,91 | 54,22 | 62,5 | |
| 90-80 | 85 | 162 | 0,479 | 5,8 | 7,96 | 48,35 | 56,66 | |
| 80-70 | 75 | 141 | 0,482 | 5,76 | 7,99 | 42,55 | 50,89 | |
| 70-60 | 65 | 121 | 0,491 | 5,66 | 8,03 | 36,79 | 45,17 | |
| 60-50 | 55 | 100 | 0,499 | 5,57 | 8,06 | 31,13 | 39,55 | |
| 50-40 | 45 | 80 | 0,511 | 5,43 | 8,14 | 25,56 | 34,03 | |
| 40-30 | 35 | 61 | 0,524 | 5,3 | 8,2 | 20,13 | 28,64 | |
| 30-20 | 25 | 42 | 0,54 | 5,14 | 8,26 | 14,83 | 23,4 | |
| 20-10 | 15 | 25 | 0,562 | 4,94 | 8,34 | 9,69 | 18,32 | |
| 10 | 5 | 8 | 0,585 | 4,75 | 8,42 | 4,75 | 13,44 | |
5.3. Расчёт температуры нагрева элементов трущихся пар
Температура нагрева элемента трущейся пары в i-ом интервале:
где Qi – работа трения за единицу времени;
А – механический эквивалент тепловой работы, А=427 кг*м/ккал;
G – вес элементов трущихся пар, G=248 кг;
F – площадь охлаждающей поверхности, F=1,134 м2;
- коэффициент теплоотдачи с нагретой поверхности трущихся пар в окружающую среду, ккал/м2*сек*С;
, где с – теплоемкость, ккал/кгС;
- коэффициент разделения тепловых потоков,=1 – для колеса.
Температура нагрева для трущихся пар порожнего вагона.
| | | | | | | |
| 100-90 | 95 | 0,0293 | 8353,731 | 3,16 | 15,91 | |
| 90-80 | 85 | 0,028 | 8294,377 | 2,83 | ||
| 80-70 | 75 | 0,0265 | 8177,57 | 2,49 | ||
| 70-60 | 65 | 0,025 | 8016,796 | 2,14 | ||
| 60-50 | 55 | 0,0233 | 7769,051 | 1,77 | ||
| 50-40 | 45 | 0,0214 | 7395,6 | 1,4 | ||
| 40-30 | 35 | 0,0194 | 6829,196 | 1,03 | ||
| 30-20 | 25 | 0,017 | 5949,214 | 0,68 | ||
| 20-10 | 15 | 0,0141 | 4519,054 | 0,34 | ||
| 10 | 5 | 0,01 | 2018,343 | 0,07 | ||
Температура нагрева для трущихся пар груженного вагона.
| | | | | | | |
| 100-90 | 95 | 0,0293 | 8783,563 | 5,91 | 30,52 | |
| 90-80 | 85 | 0,028 | 8789,406 | 5,34 | ||
| 80-70 | 75 | 0,0265 | 8736,933 | 4,72 | ||
| 70-60 | 65 | 0,025 | 8655,933 | 4,1 | ||
| 60-50 | 55 | 0,0233 | 8495,373 | 3,43 | ||
| 50-40 | 45 | 0,0214 | 8219,011 | 2,73 | ||
| 40-30 | 35 | 0,0194 | 7753,011 | 2,01 | ||
| 30-20 | 25 | 0,017 | 6962,197 | 1,38 | ||
| 20-10 | 15 | 0,0141 | 5539,776 | 0,73 | ||
| 10 | 5 | 0,01 | 2681,01 | 0,17 | ||
Температура нагрева трущихся колесных пар порожнего и груженного вагона не превышает допустимую температуру нагрева равную 70 град. Вагон оборудован эффективной тормозной системой.
6. Определить техническое содержание и приемку тормозного оборудования вагона
6.1. Проверка правильности установки на вагоне АРЖ и привода регулятора ТРП
Проверку АРП осуществляют в соответствии с технологическими картами. Стабильность работы АРП проверяют на стенде циклом последовательных торможений и отпусков. При этом регулятор должен приходить в действие, но величена хода регулирующего винта, т.е. расстояние а, при отпуске изменяться не должна. Для проверки действия регулятора на стягивание ТРП необходимо повернуть корпус на один–два оборота регулирующего винта и увеличить расстояние а, что соответствует роспуску ТРП. Затем на поверхности защитной трубы и винте, мелом, наносят продольную линию и производят 2–3 цикла торможения. При каждом отпуске регулирующая гайка должна наворачиваться на винт, сокращая расстояние а. Поворот регулирующей гайки наблюдается по смещению меловой черты нанесённой на винте. Регулятор усл. №574Б после 3-х тормозных циклов уменьшает расстояние а на 25–30 мм.
Для проверки действия регулятора необходимо поворачивать корпус по или против часовой стрелки. Уменьшение или увеличение размера а, соответственно, свидетельствует о нормальной работе АРП на стягивание, роспуск ТРП производится вращением корпуса регулятора вручную. При новых тормозных колодках контрольный размер а должен быть не менее 500 мм.
Для поддержания выхода штока ТЦ в установленных пределах обеспечивают установку размера А – расстояние между упором и крышкой корпуса.
На порожнем вагоне упор АРЖ может касаться плиты или иметь зазор а не более 3-х мм. При правильно отрегулированном зазоре кольцевая выточка на стержне АРЖ должна выступать из корпуса не менее чем на 2 мм. Если относительное положение упорного стержня и кольцевой выточки не соответствует указанным требованиям, необходимо снятием или постановкой металлических прокладок. Регулировать зазор на вагоне с помощью гайки АРЖ, зашплинтованной в АКП запрещается.
6.2. Выполнение полного и сокращённого опробования автотормозов
6.2.1. Полное опробование автотормозов.
Полное опробование тормозов с проверкой состояния тормозной магистрали и действия тормозов у всех вагонов в поезде производится:
-
на станциях формирования перед отправлением поезда;
-
после смены локомотива;
-
на станциях предшествующих перегонам с затяжными спусками, где останавливаются по техническим надобностям.
Перед началом проведения полного опробования автотормозов проверить целостность тормозной магистрали поезда и убедиться в свободности прохождения сжатого воздуха по ней. Для этого осмотрщик вагонов хвостовой группы по парковой связи или радиосвязи обязан известить машиниста локомотива о начале проведения проверки , а затем , соблюдая технику безопасности открыть последний концевой кран хвостового вагона и по истечении 8-10с закрыть его.
При срабатывании автотормозов локомотива, определяемом по загоранию лампы «ТМ» сигнализатора № 418, машинист обязан протянуть ленту скоростемера и произвести ступень торможения снижением давления в уравнительном резервуаре на 0.5-0.6 кгс/см2. После того, как закончится выпуск воздуха из магистрали через кран машиниста, произвести отпуск и зарядку тормозной сети поезда и сообщить о результатах проверки осмотрщику вагонов головной группы.
После полной зарядки тормозной сети поезда до установленного давления машинист и осмотрщик вагонов обязаны проверить плотность тормозной сети. Для этого после отключения компрессоров регулятором по достижении в главных резервуарах локомотива предельного давления (на паровозах путем закрытия паровыпускного вентиля насоса) и последующего снижения этого давления на 0.4-0.5 кгс/см2 при поездном положении ручки крана машиниста.
Осмотрщики вагонов должны проверить отпуск тормоза у каждого вагона по уходу штока тормозного цилиндра и отпуск тормозных колодок от колес. При выявлении не сработавших на отпуск воздухораспределителей не разрешается производить их отпуск вручную до выяснения причин не отпуска. Все выявленные неисправности тормозного оборудования на вагонах должны быть устранены и действие тормозов у этих вагонов вновь проверено.
6.2.2. Сокращённое опробование тормозов.
Сокращённое опробование автотормозов с проверкой состояния тормозной магистрали, по действию тормоза хвостового вагона производится:
-
после прицепки поездного локомотива к составу, если предварительно на станции было выполнено полное опробование тормозов от компрессорной установки или локомотива;
-
после смены локомотивных бригад, когда локомотив от поезда не отцеплялся;
-
после всякого отсоединения рукавов в составе поезда или между составом и локомотивом, соединения рукавов вследствие прицепки ПС, а также после перекрытия концевого крана в составе.
Если должно быть выполнено сокращённое опробование тормозов, а машинист перед отправлением поезда не производит этого, а также если при опробовании не срабатывает автотормоз последнего вагона, то работник проверяющий действие тормоза хвостового вагона обязан не допустить отправление поезда.
При выполнении сокращённого опробования по сигналу работника отвечающего за опробование тормозов «произвести торможение», машинист должен подать свисток – 1-н короткий и снизить давление в магистрали на величину установленную для полного опробования. После проверки срабатывания автотормоза хвостового вагона на торможение подаётся сигнал «отпустить тормоза». По этому сигналу машинист подаёт свистком 2-а коротких сигнала и отпускает тормоза постановкой ручки КМ в 1-е положение. Ручку КМ выдерживают в 1-м положении, в грузовом поезде, до получения давления в УР на 0,5 кгс/см2 выше предтормозного зарядного давления и последующим переводом ручки КМ в последнее положение.
Если сокращённое опробование тормозов в поездах произведено после полного от стационарной компрессорной установки, то машинисту вручается справка ВУ–45, как при полном опробовании.
Если при сокращённом опробовании тормозов в поезде будут обнаружены не сработавшие на отпуск ВР, то тогда не разрешается производить их отпуск вручную до выяснения причин неисправности. В этих случаях необходимо проверить, нет ли перекрытых концевых кранов в поезде особенно в тех местах, где прицеплялись или отцеплялись вагоны. Неисправные ВР – заменить.
Справка формы ВУ–45 составляется в двух экземплярах. Подлинник справки передаётся машинисту локомотива, а копия сохраняется в течение 7 суток у должностного лица, производившего опробование тормозов состава.
6.3. Проведение смены изношенных тормозных колодок
Для замены изношенных тормозных колодок на вагоне, в ПТО производится ограждение состава на пути. Смена производится при включенном тормозе вагона. Для этого слесарь перекрывает разобщительный кран, выпускает воздух из ЗР с помощью отпускного клапана, тем самым производится отпуск тормозов. Для безопасности работы, перед сменой колодок, под колесо кладут тормозной башмак или подбивают деревянные клинья. Далее производят роспуск ТРП с помощью АРП усл. №574Б. Затем вынимают чеку, соединяющую колодку с башмаком, снимают изношенные колодки , вставляют в башмак новую колодку и забивают чеку. Стягивают тормозную тягу с помощью АРП. Включают тормоз вагона, открывают разобщительный кран.
6.4. Регулировка ТРП тормоза вагона при смене колодок и вынужденной подкатке других колёсных пар
Тяги рычагов соединены крайними отверстиями в головке тяги, ТРП регулируется так чтобы выход штока поршня ТЦ, при ПСТ соответствовал данным «Инструкции ЦВ–4024». Регулировка выхода штока осуществляется расстановкой валиков в тягах, серьгах, а с помощью АРП регулируем зазор А: при новых колодках 500 мм, а при изношенных ТРП должна быть отрегулирована в соответствии с «Инструкции ЦВ–4024». При полномерных колёсах регулирование ТРП производится в зависимости от значений диаметра колёс отдельно для каждой тележки согласно «Инструкции ЦВ–4024».
Контролируют размер серьги, распорной тяги и расстояние от центра пятника до тяги вагона.
6.5. Подготовка тормозной системы вагона при вынужденной замене композиционных колодок чугунными
При смене тормозных колодок следует оградить вагон или поезд сигналами , выключить воздухораспределитель и выпустить весь воздух из камер и запасного резервуара. Смена производится при включенном тормозе вагона. Для этого слесарь перекрывает разобщительный кран, выпускает воздух из ЗР с помощью отпускного клапана, тем самым производится отпуск тормозов. Для безопасности работы, перед сменой колодок, под колесо кладут тормозной башмак или подбивают деревянные клинья. Далее производят роспуск ТРП с помощью АРП усл. №574Б. Затем вынимают чеку, соединяющую колодку с башмаком, снимают изношенные колодки , вставляют в башмак новую колодку и забивают чеку. Затем для постановки композиционных колодок после чугунных необходимо разобрать (переставить) крепление вертикального рычага промежуточного механизма, т.е. изменить плечи (передаточное число) вертикального рычага. Потом стягивают тормозную тягу с помощью АРП. Включают тормоз вагона, открывают разобщительный кран.
6.6. Проверка правильности включения режимов ВР
У грузовых вагонов оборудованных чугунными тормозными колодками, ВР включают на гружёный режим при загрузке вагона более 6 тс на ось; на средний – от 3-х до 6-ти тс на ось включительно; на порожний – менее 3-х тс на ось.
Включение ВР в грузовых поездах на горный режим необходимо перед затяжными спусками с крутизной 0,018 и более, а также применять по местным условиям установленных приказом начальника дороги.
Испытание тормозной части ВР производится во время зарядки ЗК. Для этого «Р» «Г» – зарядка ЗК от 0 до 0,12 МПа должна произойти в магистральной части ВР за 10 секунд. Проверяют мягкость действия после зарядки всех камер и резервуаров до зарядного давления, отключают ЗР от блока КМ и снижают в нём давление, давление в ТЦ не должно повышаться.
Допускается у груженых грузовых поездов применять горный режим торможения по местным условиям на спусках меньше чем 0,018. У вагонов оборудованных АРЖ, включить ВР на гружёный режим, при чугунных колодках, с закреплением режимного переключателя стопорным кольцом.
6.7. Приемка тормоза вагона после капитального ремонта
6.7.1. Общие требования.
При капитальном ремонте тормозное оборудование с вагонов снимают и направляют в контрольные пункты автотормозов, или в тормозное отделение завода воздухораспределителями, авторежимы, авторегуляторы, краны концевые, разобщительные, соединительные рукава. Разбирают рычажную передачу, проверяют состояние её деталей и при необходимости ремонтируют. Подвески триангелей и траверс подвергают дефектоскопированию. Кроме того, разбирают воздухопровод, снимают, ремонтируют и испытывают ТЦ, ЗР.
При всех видах ремонта и единой технической ревизии вагона мастер или бригадир обязаны тщательно проверить качество выполненных работ по тормозному оборудованию в объеме, предусмотренном настоящей Инструкцией и соответствующей технической документацией, и предъявить тормозное оборудование должностным лицам для приемки.
Проверку работы тормоза вагона производить с помощью типовой установки (рис. 6.1.), аналогичной установке для проверки тормоза грузовых вагонов.
-
Проверка плотности воздухопровода.
Установку подключают одной соединительной головкой к источнику сжатого воздуха давлением не ниже 0,6 Мпа, другой – к соединительному рукаву вагона. Зарядку магистрального воздухопровода при отключённом ВР до давления 0,6-0,65 Мпа, производить 1 положением ручки КМ, зарядку тормозной системы до нормального зарядного давления и полный отпуск тормоза – 2 положением. После служебных торможений ручку КМ приводят в 4 положение. При проверке пневматического тормоза контролируют зарядку тормозной системы грузового вагона – по манометру ЗР, торможение – по давлению воздуха в ТЦ, а также по выходу штока ТЦ и плотности прижатая тормозных колодок, полный отпуск по отсутствию давления в ТЦ – отход всех колодок от колёс.
Заряжают тормозную систему до давления 0,53-0,55 Мпа: при включённом ВР. Далее воздухопровод вагона отключить от установки и по манометру ТМ проверить падение давления, которое не должно превышать 0,01 Мпа в течение 5 мин с начального 0,53-0,55 Мпа
5 6
3
4
1
7
2
8
9
10
Рис.6.1.
1-соединительный рукав; 2- разобщительный кран; 3- кран машиниста; 4- разобщительный кран; 5 манометр; 6- манометр; 7- соединительный рукав; 8- кран с дроссельным отверстием диаметра 2 мм; 9 – магистральный резервуар; 10 – водоспускной кран.
6.7.3. Проверка действия пневматического тормоза.
Зарядить тормозную систему вагона до 0,53-0,55 Мпа. Включить ВР на «ПР» и «РР». На вагонах, оборудованных АРЖ, тормоз испытывать с закреплением ручки режимного переключателя ВР в соответствии с типом колодок («СР» - композиционные колодки, «ГР» – чугунные)снизить давление в М 0,054±0,001 Мпа. При этом тормоз должен прийти в действие и не отпускать в течение 5 мин. Затем повысить давление в М до зарядного – тормоз должен отпустить за время не более 70с.
После зарядки тормоза снизить давление в М до 0,35±0,01 Мпа. Давление в ТЦ должно быть 0,14-0,23 Мпа. Наблюдаемое по манометру падение давление в ЗР с установившегося в нём после торможения не должно превышать 0,01 Мпа за 3 мин, а при давлении в М до зарядного произойдёт полный отпуск тормозов.
После зарядки тормоза включить ВР на горный и груженый режим и «С» в зависимости от типа колодок, и на вагонах с АРЖ подложить под упор вилки АРЖ прокладку толщиной 32-1 мм. Снизить давление в М до 0,35 Мпа. Давление в ТЦ должно быть 0,28-0,35 Мпа при композиционных колодках и 0,39-0,45 Мпа – при чугунных. При повышении давления в М до зарядного должен произойти полный отпуск тормоза.
При проверке воздухопровода: его заряжают давлением до 0,6 Мпа, после чего его обстукивают молотками и обмывают все соединения. Образование мыльных пузырей недопустимо.
По окончанию проверки тормоза ВР включить на порожний режим. У вагонов, оборудованных АРЖ, проверить закрепление режимного переключателя ВР на соответствующий режим («ГР» – чугунные колодки; «СР» – композиционные).
6.8. Проверка обеспеченности поезда тормозными средствами и правильность включения режимов ВР
Все поезда, отправляемые со станции, должны быть обеспечены тормозами с гарантированным нажатием тормозных колодок в соответствии с нормативами по тормозам, утвержденными МПС.
В исключительных случаях, вследствие отказа автотормозов у отдельных вагонов в пути следования поезд может быть отправлен с промежуточной станции с тормозным нажатием менее установленного нормативами до первой станции, где имеется пункт технического обслуживания вагонов, с выдачей машинисту предупреждения об ограничении скорости. Порядок отправления и следования таких поездов устанавливается начальником дороги.
Фактический вес грузовых вагонов в составах поездов определять по поездным документам.
Для удержания на месте после остановки на перегоне в случае неисправности автотормозов грузовые поезда должны иметь ручные тормоза и тормозные башмаки в соответствии с нормами.
При отказе автотормозов в пути следования во всем поезде следовать дальше можно только после восстановления их действия. В противном случае поезд выводится с перегона вспомогательным порядком, установленным Инструкцией по движению поездов и маневровой работе на железных дорогах.
Список использованной литературы
1. Методическое указание “Выбор тормозной системы подвижного состава”, Москва 1985г. МИИТ.
2. Иноземцев В.Г. и др. “Автоматические тормоза”, Москва Транспорт, 1981г.
3. Методическое указание “Вопросы расчёта и проетирования механической части тормозной системы вагонов”, Москва 1996г. МИИТ.
4. Методическое указание “Расчёт силовой и механической части тормозной системы”, Москва 1974г. Лариохин В.И.
5. Иноземцев В.Г. “Тормоза ж.д. подвижного состава”, Москва Транспорт 1979г.
6. Крылов В.И. и др. «Справочник по тормозам».
55
60>
















