146977 (691726)
Текст из файла
Содержание
1. Устройство и ремонт системы управления реверсом и режимами работы гидропередачи УГП 750–1200
2. Уход за экипажной частью
3. Износ и поломки механизма реверса
4. Методы устранения
5. Проверки при монтаже
6. Техническая характеристика УГП
7. Безопасность при ремонте механизма УГП
8. Организация производственных участков
9. Перечень использования оборудования
10. Расчет трудоемкости ремонта механизма реверса
Список литературы
1. Устройство и ремонт системы управления реверсом и режимами работы гидропередачи УГП 750-1200
Для переключения реверса-режима унифицированная гидропередача оборудована системой управления, состоящей из электропневматических вентилей, блокировочного клапана и концевых выключателей фиксаторов сервоцилиндров. Нормальная работа реверс-режимного устройства гидропередачи зависит в значительной мере от исправного состояния этих элементов.
Переключение реверса и режима затрудняется иногда из-за возникающего положения подвижной муфты «зуб в зуб». Для устранения такого положения в гидропередаче создается медленное вращение включаемых ее частей.
В гидропередаче УГП 750–1200 проворачивание (доворот) вторичного вала передачи происходит под действием воздуха, находящегося в гидромуфте.
Конструктивная особенность гидропередачи УГП 750/2Т (отсутствие гидромуфты) определила переключение реверс-режима без задержки подвижных муфт в нейтрали и без проворачивания вторичного вала действием воздуха в гидроаппаратах.
Процесс переключения реверса или режима гидропередачи УГП 750/2Т протекает следующим образом:
1) освобождается шток поршня включенного сервоцилиндра от фиксатора путем подачи воздуха в последний;
2) производится переключение электропневматических вентилей, в результате чего включается муфта другого направления движения или другого режима работы под действием давления воздуха в рабочей полости сервоцилиндра, связанного с этой муфтой;
3) фиксируется шток поршня включенного сервоцилиндра.
В схему управления переключением реверс-режима гидропередачи УГП 750/2Т в отличие от рассмотренной схемы управления реверс-режимом гидропередачи УГП 750–1200 введен блок реле гидродоворота. Назначение его – обеспечить автоматическое импульсное включение электрогидравлического вентиля первого гидротрансформатора для доворота подвижных муфт до включаемого положения при их возможном попадании «зуб в зуб» во время переключения реверс-режима.
В схеме управления двухтрансформаторной гидропередачи дизель-поездов ДР1 и ДР1П блок реле гидродоворота образован двумя реле времени.
В гидропередаче УГП 750/2Т блок реле гидродоворота выполнен на полупроводниковых приборах по схеме мультивибратора. Электрическая схема блока реле гидродоворота обеспечивает два временно устойчивых состояния, в одном из которых открыт транзистор Т1, а в другом–транзистор 72. В каждом из состояний схема может находиться лишь время, определяемое постоянными времени цепей (С8 и КЭ1, С9 и КЭ2).
Блок реле доворота работает следующим образом. При включении питания (75 В, постоянный ток) на клеммы плюс и минус заряжается конденсатор КЭ2. Включение блока производится подачей +75 В на клемму 21, при этом транзистор 77 открыт, транзистор 72 закрыт и катушка реле Р обесточена. Конденсатор КЭ1 заряжается через открытый транзистор 7/, а конденсатор К32 разряжается через резисторы С9 и RkI.
По мере разряда конденсатора КЭ2 положительный потенциал на базе транзистора 72 снижается до нуля и транзистор 72 открывается. При этом транзистор Т1 закрывается, включается реле Р и своими замыкающими контактами замыкает цепь. Продолжительность этого состояния определяется временем разряда конденсатора КЭ1 через резисторы С8 и Rk2. Одновременно с этим заряжается конденсатор КЭ2.
В момент завершения разряда конденсатора КЭ1 открывается транзистор 77, а 72 закрывается Реле Р отключается, в результате чего первый гидротрансформатор опорожняется в течение разряда конденсатора КЭ2. Импульсный режим работы блока продолжается до прекращения подачи питания на клемму 21 посредством контактов реле движения.
Импульсное включение реле Р на 1,5 с через каждые 3 с обеспечивается выбором элементов схемы и настройки посредством переменных резисторов С8 и С9. При этом поворот оси резистора С8 по часовой стрелке приводит к увеличению времени включения вентиля ВС1, а С9 – к увеличению паузы. Поворот против часовой стрелки уменьшает установленные выдержки.
Тумблер TBI используется для отключения блока при проверке мегомметром сопротивления изоляции электрических цепей тепловоза во избежание пробоя транзисторов.
Техническое состояние и выдержки времени срабатывания реле блока гидродоворота проверяют при всех видах деповского ремонта. Контакты реле при загрязнении зачищают. Установленные выдержки времени срабатывания реле в случае необходимости регулируют.
Осуществление процесса переключения, сигнализация и электромеханическая блокировка положения реверс-режимного механизма обеспечиваются концевыми выключателями фиксаторов и блокировочными контактами барабанов сервоцилиндров.
Техническое состояние концевых выключателей и контактов у контактных барабанов сервоцилиндров проверяют при техническом обслуживании и при всех видах деповского ремонта гидропередачи. Контакты очищают от грязи, оплавленные или подгоревшие контакты зачищают личным напильником или стеклянной шкуркой.
При необходимости в концевом выключателе регулируют положение подвижного контакта относительно неподвижных при нейтральном положении сервоцилиндра: он должен занимать примерно среднее положение.
Проверяют и регулируют также зазор (0,5–1,5 мм) между корпусом и буртом упора конечного выключателя при поднятом вверх до упора фиксаторе сервоцилиндра.
Контакты у контактных барабанов сервоцилиндров должны иметь нажатие 1–1,4 кгс. Отклонение контактирующих поверхностей скользящих контактов от оси контактных пластин во включенном положении должно быть не более 0,7 мм. Неполное прилегание контактов к барабану не допускается. При необходимости давление контактов и их положение относительно контактного барабана регулируют путем смещения контактной стойки по пазам кронштейна или смещения контактов по пазам панели.
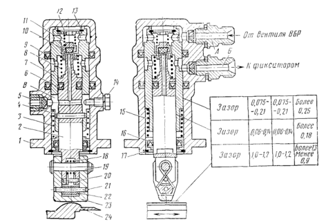
В систему блокировок переключения реверс-режима гидропередачи УГП 750–1200, УГП 350–500, Фойт и др. входит также блокировочный клапан (рис. 112), исключающий возможность переключения реверса или режима при движении тепловоза.
Клапан блокировки включается в пневматическую систему управления тепловозом. При этом его полость Л сообщается с главной воздушной магистралью при включении электропневматического вентиля ВБР, полость Б сообщена с фиксаторами сервоцилиндров, а полость В-с атмосферой. При отсутствии сжатого воздуха в полости А полости Б и В сообщаются между собой через сверление в золотнике 2.
Клапан блокировки
Клапан установлен на корпусе привода датчика скорости так, что между наконечником 23 и шайбой 24, закрепленной на турбинном валу первого гидротрансформатора, выдержан зазор 1–1,2 мм.
При поступлении в полость А сжатого воздуха втулка 7 движется вниз вместе с клапаном 10 и золотником 2, при этом клапан 10 прижат пружиной 11 к своему седлу во втулке 7, а золотник пружиной 8 – к упору во втулке. Это движение происходит до тех пор, пока не выберется зазор 1–1,2 мм между наконечником 23 и шайбой 24. Дальнейшая работа клапана зависит от того, вращается шайба или нет.
При вращающейся шайбе 24 наконечник 23 увлекается силой трения в месте соприкосновения с шайбой и отклоняется на валике 19. Золотник 2 перемещается со втулкой 7 до упора втулки в стакан 15. Так как клапан 10 по-прежнему прижат пружиной 11 к седлу, то воздух в полость Б не поступает и она остается сообщенной через полость В с атмосферой. Таким образом, при движении тепловоза доступ воздуха к фиксаторам сервоцилиндров перекрыт.
Если тепловоз неподвижен, т.е. шайба 24 не вращается, то наконечник 23 упирается в шайбу, золотник 2 останавливается, а втулка 7 и прижатый к ней клапан 10 продолжают двигаться, сжимая пружины 3 и 8 до тех пор, пока втулка не дойдет до упора в стакан 15. При этом хвостовик золотника поднимает клапан 10 и сжатый воздух из полости А попадет в полость Б и далее в цилиндры фиксаторов, так как сверление в золотнике закроется клапаном. Как только шайба 24 начинает вращаться, подача воздуха к цилиндрам прекратится, потому что под действием пружины 8 золотник опустится вниз, клапан 10 сядет на седло, и через сверление в золотнике и полость В воздух из цилиндров фиксаторов выйдет в атмосферу.
При прекращении подачи воздуха в полость А и сообщении ее с атмосферой все элементы клапана займут первоначальное положение.
Разборка блокировочного клапана производится в случаях необходимости устранения неисправностей, а также для осмотра его состояния. При этом выдерживается определенная последовательность. Расшплинтовав и выбив валик 19, снимают наконечник 23 и пружину 18. Затем, вывернув болт 14 и сняв пружинное кольцо 17, вынимают из корпуса внутренние детали: стакан 15 с манжетой 16, пружину 3 и золотник 2 с втулкой 7. После этого, выбив штифт 4 и вынув золотник 2 и пружину 8, снимают пружинное кольцо 13, крышку 12, пружину 11 и клапан 10.
Все детали, кроме клапана 10, должны быть промыты в керосине (ГОСТ 1842–52) и обдуты сухим сжатым воздухом. После осмотра состояния всех деталей необходимо трущиеся части смазать, полости манжет наполнить смазкой ЦИАТИМ-201 (ГОСТ 6267–59) и собрать клапан.
При всех видах деповского ремонта тепловоза, а также после разборки четкость работы блокировочного клапана вместе с фиксаторами реверса проверяют на специальном приспособлении, которое должно имитировать работу блокировочного клапана на тепловозе. Для этого оно должно включать в себя: воздушную магистраль с манометрами и электропневматическими вентилями, подключаемую к блокировочному клапану и фиксаторам, а также шайбу, приводимую во вращение вручную.
Давление воздуха в системе при испытаниях должно быть 5–5,5 кгс/см2.
Содержанием испытания блокировочных клапанов и фиксаторов реверса являются: а) проверка их работы при неподвижной шайбе; при каждом из 10 включений клапан должен сработать, а поршни фиксаторов резко подняться; б) проверка их работы при вращающейся шайбе; при каждом из 10 включений клапан должен быть «сломлен», а поршни фиксаторов находиться в нижнем положении; в) проверка их работы при повороте шайбы, когда при каждом включении клапан и фиксаторы должны занимать рабочее положение блокировки.
2. Уход за экипажной частью
Экипажная часть тепловоза должна содержаться в чистоте. Все доступные части экипажа следует ежедневно очищать от загрязнения путем протирки или обмывки их жидкостью, хорошо смывающей грязь, но не растворяющей лакокрасочные покрытия тепловоза. Места, не доступные для повседневной очистки, должны очищаться во время каждого очередного ремонта.
При осмотре рамы необходимо обращать внимание на состояние сварных швов и углов вырезов в деталях рамы. Особого внимания требуют углы буксовых вырезов, так как в этих местах, являющихся узлами концентрации напряжений, возможно появление трещин.
Характеристики
Тип файла документ
Документы такого типа открываются такими программами, как Microsoft Office Word на компьютерах Windows, Apple Pages на компьютерах Mac, Open Office - бесплатная альтернатива на различных платформах, в том числе Linux. Наиболее простым и современным решением будут Google документы, так как открываются онлайн без скачивания прямо в браузере на любой платформе. Существуют российские качественные аналоги, например от Яндекса.
Будьте внимательны на мобильных устройствах, так как там используются упрощённый функционал даже в официальном приложении от Microsoft, поэтому для просмотра скачивайте PDF-версию. А если нужно редактировать файл, то используйте оригинальный файл.
Файлы такого типа обычно разбиты на страницы, а текст может быть форматированным (жирный, курсив, выбор шрифта, таблицы и т.п.), а также в него можно добавлять изображения. Формат идеально подходит для рефератов, докладов и РПЗ курсовых проектов, которые необходимо распечатать. Кстати перед печатью также сохраняйте файл в PDF, так как принтер может начудить со шрифтами.















