146977 (691726), страница 6
Текст из файла (страница 6)
Поверхность алюминиевых деталей под наплавку желательно обрабатывать химическим путем подобно обработке сварочной проволоки. Если же это не выполнимо, то можно применить и механический способ. Поверхность деталей при этом предварительно протирают ацетоном или уайт-спиритом до полного удаления жировых остатков, а затем очищают в зависимости от габаритов и конфигурации деталей обработкой на станке или вручную с помощью металлических щеток и шаберов.
Технология разделка трещин при сварке деталей из алюминиевых сплавов аналогична технологии при разделке трещин в стальных деталях. Форма разделки должна быть со скругленными кромками. Предпочтение следует отдавать двусторонней разделке трещин. Трещины в стенках деталей толщиной до 6 мм заваривают без разделки.
Приступая к наплавке или сварке, необходимо прежде всего установить режим сварочного тока и подготовить сварочную головку. При наплавке толстостенных деталей сварочный ток устанавливают 250 – 300 А, тонкостенных 130 – 180 А и менее. В процессе наплавки ток корректируется.
Диаметр вольфрамового электрода выбирают в зависимости от применяемой силы сварочного тока. При силе тока 50 – 150 А применяют электрод диаметром 2–3 мм; при 150 – 210 А – 4 мм и при 210 – 300 А – 5–6 мм. Вольфрамовый электрод зажимают в цанге головки таким образом, чтобы вылет его от кромки сопла составлял 3–6 мм в зависимости от диаметра электрода.
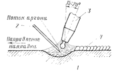
При наплавке ось головки должна быть наклонена в сторону, противоположную направлению наплавки на угол 15-20°. Угол между осью вольфрамового электрода и присадочным прутком должен составлять примерно 90°.
Наплавку производят таким образом, чтобы каждый предыдущий валик находился в зоне действия защитного газа.
При заварке глубоких трещин возникает необходимость многослойного наложения швов. В этом случае для предотвращения возникновения несплошностей в сварочном шве следует каждый предыдущий валик тщательно очищать металлической щеткой от окисной пленки и шлаковых отложений.
При восстановлении алюминиевых деталей наплавкой валики наплавляемого слоя нужно располагать таким образом, чтобы уменьшить деформацию восстанавливаемой детали.
Контроль качества сварки осуществляется внешним осмотром, лабораторными испытаниями образцов, гидравлическим испытанием.
Хромирование. Хромирование занимает преимущественное место из числа известных методов восстановления деталей, так как дает возможность одновременно с восстановлением размеров повысить надежность работы и срок службы деталей.
Хромирование производится в ванне, имеющей двойные стенки, промежуток между которыми заполнен паро-водяной смесью для поддерживания требуемой температуры электролита. Для удаления газов и паров предусмотрена бортовая вентиляция. Внутренние стенки ванны футеруются свинцом или винипластом. Ввиду низкой теплопроводности винипласта обогрев и охлаждение электролита осуществляются с помощью змеевика из свинцовых или титановых труб.
Схема дуговой наплавки в среде аргона
5. Проверки при монтаже
На верхний корпус гидропередачи устанавливают привод реверса и режимов (сервоцилиндры). Ставят фиксирующие цилиндрические штифты, сервоцилиндры закрепляют на корпусе болтами, которые стопорят проволокой. Установив привод реверса и режима на гидропередаче, производят: 1) регулирование выхода подвижной муфты; 2) регулирование механической блокировки; 3) проверку работы фиксаторов; 4) испытание сервоцилиндров сжатым воздухом.
Регулирование выхода муфты включает в себя две основные операции: 1) проверку биения шейки вала при включенных режимах; 2) нанесение контрольных рисок положения муфты в нейтрали и во включенном положении.
Биение шейки вала проверяют так. Окружность муфты и вала разбивают на четыре равные части и наносят карандашом риски. Устанавливают магнитную стойку с индикаторной головкой в положение 0 и подводят ножку индикатора к поверхности шейки вала. Поворачивая муфту через шестерню, проверяют биение в четырех положениях вала через каждые 90°, а затем поворачивают на такой же угол вал. При каждом повороте на 90° риски вала и муфты должны совпадать.
Биение шейки вала допускается не более 0,4 мм без учета зазора в зубьях.
Для нанесения рисок положений подвижной муфты для гидропередач мощностью 750 л. с. ее устанавливают в положение «Включено»; при этом торцы зубьев шестерни и муфты должны совместиться, что проверяют визуально. Затем замеряют расстояние от торца поверхности диаметром 48 мм вала до торца стакана (размер аг на рис., замеряют фактическую толщину крышки привода от плоскости прилегания ее к стакану до плоскости привертывания крышки вместе с прокладкой (размер а2), примерная величина этого размера должна быть 121 мм. Разность размеров а2 – – ах = а3 соответствует включенному положению муфты. В этом положении строго через центр вала на зубчатом торце вала наносят риску, а затем эту риску переносят на крышку привода. К размеру а3 прибавляют 72 мм; полученное расстояние а4 соответствует положению муфты в нейтральном состоянии.
Прибавив к размеру а4 еще 72 мм, получают размер а5, соответствующий второму включенному положению муфты. Определив все эти размеры, крышку привода с прокладкой закрепляют окончательно. Соединяют вал подвижноймуфты с рычагом и последний заштифтовывают. При установлении подвижной муфты в нейтральное н во второе включенное положение также наносят на торец вала и крышку привода соответствующие контрольные риски.
Регулировка механической блокировки реверса. Подвижную муфту устанавливают в нейтральное положение и проверяют нейтральное положение сервоцилиндров. При этом конусные поверхности блокировочных стержней должны касаться боковых поверхностей выемок секторов, зазор между ними допускается не более 0,3 мм. Регулирование производят за счет изменения толщины прокладок. После установки нейтрали регулируют длину стержня блокировки. При включении муфты в одно из рабочих положений один конец стержня должен установиться в паз сектора, а другой – против выступа сектора второго сервоцилиндра. Между концом стержня и выступом сектора должен быть зазор 0,05–0,8 мм.
Длину стержня регулируют за счет ввертывания или вывертывания упора стержня. После регулировки вывертывают технологические болты, поставленные во время сборки привода реверса, ставят сборочные болты и стопорят их проволокой.
Проверка системы фиксаторов – штоков сервоцилиндров. Муфту реверса или режима устанавливают в одно крайнее положение «Включено», затем в другое включенное положение. При каждом включении стержень фиксатора должен западать в паз зубчатой рейки. Входить в паз рейки и выходить из него фиксатор должен свободно, без заеданий. Если эти требования не выполняются, регулирование производят способом, описанным в гл. X.
Испытание сервоцилиндров. К штуцерам подвода воздуха подсоединяют наконечники с воздушным шлангом и с помощью вентиля подают сжатый воздух давлением 5–5,5 кгс/см2 поочередно в рабочие полости одного и другого сервоцилиндров. При подаче воздуха в сер-воцилиндр должна включаться соответствующая муфта и срабатывать система блокировки.
Проверку работы сигнализатора и конечных выключателей производят во время обкаточных испытаний.
После испытания на корпус сервоцилиндров устанавливают таблички, соответствующие положениям муфты. При нейтральном положении подвижных муфт отмечают положение полумуфт нижних валов нанесением рисок на валу и полумуфтах. Одновременно с проверкой работы сервоцилиндра определяется суммарный люфт от поршня до рычага, который допускается не более 2,5 мм.
6. Техническая характеристика УГП
7. Безопасность при ремонте механизма УГП
При ремонте оборудования каждый должен знать технику безопасности.
Перед началом работы следует привести в порядок спец одежду: застегнуть обшлага рукавов, заправить одежду и застегнуть ее на все пуговицы, надеть каску.
Осмотреть рабочее место, убрать все, что может помешать при работе.
Рабочее место не должно быть загромождено деталями и другими материалами. Также требуется осмотреть рабочий инвентарь: на ручках инструментах не должно быть задир, заусенцев, трещин и т.д.
Требования безопасности во время работы
Во время работы разборку и сборку гидропередачи производить только на оборудованных позициях.
При разборке запрещается кидать съемные детали на пол. Каждую деталь снимать только спец оборудованием. При работе напильником, зубилом только при надетых очках.
Категорически запрещается хранение запасных частей возле электрощита.
Управлять ремонтными машинами, производить мойку гидропередачи в моечной машине имеют право только работники, обученные и испытанные в знании правил техники безопасности, при эксплуатации данных механизмов.
Запрещается выполнять слесарные работы на гидропередаче во время производства электросварочных работ.
Приямки для размещения тары для мусора и металлолома содержать закрытыми, открывать только при их загрузке.
При выполнении электросварочных работ на ремонте гидропередач для предупреждения воздействия лучей дуги на слесарей, рабочее место должно быть ограничено переносной ширмой или щитком.
Требования безопасности в аварийных ситуациях.
При любой неисправности механизмов, угрожающих безопасности труда работников обрыва заземления, при повреждении подводящих кабелей и других неисправностях произвести выключение механизма доложить мастеру и не приступать к работе до устранения неисправности.
При возникновении возгорания на участке, работники должны немедленно приступить к тушению очага возгорания первичными средствами пожаротушения. Если же очаг возгорания своими силами потушить не возможно, следует вызвать пожарную охрану и поставить в известность администрацию предприятия.
Требования безопасности по окончании работ.
По окончании электросварочных работ или во время технологических перерывов сварочное оборудование должно быть выключено.
Отключить ремонтные машины и другие механизмы и оборудование.
Привести в порядок рабочее место.
Убрать инструмент и приспособления в установленные места.
Сообщить обо всех замечаниях во время работы неполадках руководителю работ.
8. Организация производственных участков
В основу организации производственных участков цехов, производящих ремонт тепловозных гидропередач, как и других цехов локомотиворемонтных предприятий, следует принимать их специализацию по технологическому или предметному направлению.
Технологическое направление предполагает специализацию участков по стадиям процесса, или по однородным работам. При этой специализации участки, выполняя однородные по своему характеру работы, не выдают завершенной продукции в виде готовых узлов или агрегатов. В этом случае усложняется оперативное планирование производства, но обеспечивается лучшее использование оборудования.
Предметное направление более прогрессивное и выражается в специализации участков по определенным узлам изделия. На каждом таком участке выполняется весь комплекс работ, необходимый для полного ремонта, сборки и испытания соответствующего узла и выдачи его в окончательно готовом виде.
Предметная специализация участков, обеспечивая комплектность и завершенность продукции, повышает ответственность руководителей за ее своевременную выдачу и качество и облегчает оперативное планирование производства. Однако необходимость наличия на предметном участке полного комплекта оборудования для выполнения всего комплекса разнообразных работ независимо от недостаточной загрузки отдельных его типов понижает коэффициент использования оборудования.
Технологическое направление специализации производственных участков свойственно в большей мере единичному и мелкосерийному производству, а предметное – крупносерийному и массовому.
В цехах локомотиворемонтного производства с учетом его специфики обычно существуют параллельно как технологические, так и предметные участки с преобладанием тех или других в зависимости от масштабов производства и уровня его специализации.
Согласно цех имеет следующие производственные участки.
А. С технологической специализацией
1. Разборочный, выполняющий общую разборку гидропередачи, а также мойку ее составных частей и узлов.
2. Сварочный, выполняющий сварочные и наплавочные работы для всех участков цеха.















