126151 (690917), страница 5
Текст из файла (страница 5)
Наиболее широко применяют трехкулачковый самоцентрирующий патрон.
Рисунок 6
- трехкулачковый самоцентрирующий патрон.
На одной стороне этого диска выполнены пазы (имеющие форму архимедовой спирали), в которых расположены нижние выступы кулачков, а на другой — нарезано коническое зубчатое колесо, сопряженное с тремя коническими зубчатыми колесами 5. При повороте ключом одного из колес 5 диск 4 (благодаря зубчатому зацеплению) также поворачивается и посредством спирали перемещает одновременно и равномерно все три кулачка по пазам корпуса б патрона. В зависимости от направления вращения диска кулачки приближаются к центру патрона или удаляются от него, зажимая или освобождая деталь. Кулачки обычно изготовляют трехступенчатыми и для повышения износостойкости закаливают. Различают кулачки крепления заготовок по внутренней и наружной поверхностям; при креплении по внутренней поверхности заготовка должна иметь отверстие, в котором могут разместиться кулачки. Кулачковые патроны могут оснащаться механизированным приводом тяговым или встроенным.
Патроны с тяговым приводом имеют зажимные элементы, связанные цельными или пустотелыми тягами с пневмо- или гидроцилиндром.
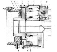
Рисунок 7 - Патроны с тяговым приводом.
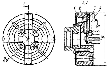
Патрон с встроенным приводом имеет встроенный пневмоцилиндр 6 с поршнем 5 и крепится к станку фланцем 1. Резиновое кольцо 11 смягчает удары поршня о фланец 4. Уплотнительные кольца 10 и 12 обеспечивают герметичность пневмопривода. Ползуны 7 (с зажимными кулачками 8) имеют выступы 9, которые входят в пазы поршня 5. Угол наклона пазов 40°30’, что обеспечивает условия самоторможения. При подаче воздуха по каналам 2 и З в левую или правую полость цилиндра ползуны 7 перемещаются от центра патрона или к его центру и через кулачки 8 разжимают или зажимают заготовку. Четырехкулачковый патрон с независимым перемещением кулачков состоит из корпуса 1, в котором выполнены четыре паза, в каждом пазу смонтирован кулачок 4 с винтом 3, используемым для независимого перемещения кулачков по пазам в радиальном направлении. От осевого смещения винт З удерживается сухарем 2.
При повороте кулачков на 1800 патрон может применяться для крепления заготовок по внутренней поверхности. На передней поверхности патрона нанесены концентричные круговые риски (расстояние между рисками 10—15 мм), с помощью которых кулачки выставляются на одинаковом расстоянии от центра патрона.
Рисунок 8 - Четырехкулачковый патрон
Заключение
В результате выполнения КП по Технологии машиностроения был разработан технологический процесс механической обработки детали «Втулка», который включает в себя: операции токарной обработки, сверление, шлифование. На наиболее точную поверхность осуществлен расчет межоперационных припусков, в результате выполненного расчета спроектирована заготовка для данной детали. На часть операций механической обработки определены режимы резания путем аналитического расчета, а на остальные – назначены по общим машиностроительным нормативам. Проведенно технологическое нормирование операции механической обработки.
В конструкторской части курсового проекта рассмотрено устройство и принцип работы установочного приспособления ,мерительного инструмента, режущего инструмента для токарной операции.
В приложении курсового проекта представлен комплект технологической документации, который включает в себя: 1) комплект технологической документации (технологический процесс механической обработки детали «Втулка»); 2) графическая часть (чертеж детали, технологической наладки, режущего инструмента).
Литература
-
Маталин А.А. Основы технологии машиностроения. , М. 1986г.
-
Горбацевич А.Ф. Курсовое проектирование по технологии машиностроения. Минск. «Высшая школа» 1975г. 288с. с ил.
-
Нефедов Н.А., Осипов К.А. Сборник задач и примеров по резанию металлов и режущему инструменту. Изд. 3-е, перераб. и доп., М, Машиностроение 1977г. 288с. с ил.
-
Гелин Ф.Д. Металлические материалы справ. – Мн.: Высш. шк., 1987. – 368с.
-
Дёмина Л.Н. Шадрина Е.Л. Методические указания и справочные материалы по выполнению курсового проекта. Воронеж. ВГК ПТЭиС, 2008г.
Приложения
| Н. контр. | ||||||||||||||||||||
|
| ||||||||||||||||||||
Технологический процесс изготовления детали «втулка»
ГОСТ 3.1418-82 Форма 2а
| Взам. | ||||||||||||||||||||||||||||||||||||||
| Подп. | ||||||||||||||||||||||||||||||||||||||
| 3 | 4 | |||||||||||||||||||||||||||||||||||||
| .60140. | 010 | |||||||||||||||||||||||||||||||||||||
| П.И. | D или В | L | t | l | S | n | V | ТВ. | ТО. | |||||||||||||||||||||||||||||
| О | 01 | 8. Точить фаску под углом 45° относительно поверх. 1 | ||||||||||||||||||||||||||||||||||||
| Т | 02 | Резец подрезной ВК8 ГОСТ 18868-73. | ||||||||||||||||||||||||||||||||||||
| 03 | Штангенциркуль ШЦ-250-0,05 ГОСТ 166-80 | |||||||||||||||||||||||||||||||||||||
| Р | 04 | 80 1 1 1 0,1 800 201 0,012 | ||||||||||||||||||||||||||||||||||||
| 05 | ||||||||||||||||||||||||||||||||||||||
| О | 06 | 9. Сверлить отверстие 13 поверхность 6 | ||||||||||||||||||||||||||||||||||||
| Т | 07 | Сверло с коническим хвостовиком ГОСТ 6648-64 | ||||||||||||||||||||||||||||||||||||
| 08 | Штангенциркуль ШЦ-250-0,05 ГОСТ 166-80 | |||||||||||||||||||||||||||||||||||||
| Р | 09 | 13 35 6,5 1 0,1 300 12,3 1,2 | ||||||||||||||||||||||||||||||||||||
| 10 | ||||||||||||||||||||||||||||||||||||||
| О | 11 | 10. Расточить конус под углом 45° относительно поверхности 6 | ||||||||||||||||||||||||||||||||||||
| Т | 12 | Резец расточной ВК8 ГОСТ 18868-73 | ||||||||||||||||||||||||||||||||||||
| 13 | Штангенциркуль ШЦ-250-0,05 ГОСТ 166-80 | |||||||||||||||||||||||||||||||||||||
| Р | 14 | 25 6 6 1 0,1 300 23,6 0,2 | ||||||||||||||||||||||||||||||||||||
| 15 | ||||||||||||||||||||||||||||||||||||||
| О | 16 | 11. Расточить отверстие 40 поверхность 7 | ||||||||||||||||||||||||||||||||||||
| Т | 17 | Резец расточной ВК8 ГОСТ 18868-73 | ||||||||||||||||||||||||||||||||||||
| 18 | Штангенциркуль ШЦ-250-0,05 ГОСТ 166-80 | |||||||||||||||||||||||||||||||||||||
| Р | 19 | 40+0,025 20 13,5 6 0,07 500 62,8 0,57 | ||||||||||||||||||||||||||||||||||||
| 20 | ||||||||||||||||||||||||||||||||||||||
| 21 | ||||||||||||||||||||||||||||||||||||||
Размещено на http://www.allbest.ru/















