126151 (690917), страница 4
Текст из файла (страница 4)
Кυ = 1
4. Определяем частоту вращения шпинделя - n, об/мин
об/мин.
5.Уточняем частоту вращения шпинделя по паспорту и корректируем ее в ближайшую меньшую сторону.
Принимаем n = 1600 об/мин.
6.Пересчитываем скорость резания, Vф.
Vф – фактическая скорость резания:
Расчет режимов резания на отверстие диаметром 40+0,025. Шероховатость Ra = 6,3 мкм. Исходные данные: деталь «втулка» из стали ХВГ. Заготовка – «прокат». Обработка производится на вертикально-сверлильном станке. Режущий инструмент – сверло спиральное, зенкер, развертка. Инструментальный материал – быстрорежущая сталь Р6М5
Операция «Сверлильная».
Переход 1. Сверлить отверстие 1.
1.Глубина резания
, мм
, мм (данные берутся из расчета припусков).
2. Находим подачу S, мм/об [5. табл. П 2.16.].
S=0,28 – 0,33мм/об принимаем S = 0,29 мм/об.
-
Рассчитываем скорость резания Vм/мин
-
. (10)
Т – период стойкости, мин [5. табл. П 2.21]
Т = 45 мин.
Находим неизвестные [5. табл. П 2.19.].
Сv = 9,8,
q = 0,40,
y = 0,5,
m = 0,2.
Находим поправочные коэффициенты:
,
КMV-коэффициент на обрабатываемый материал [5. табл. П 2.1-П 2.4.].
[5. табл. П 2.1.]. (11)
,
КИV –коэффициент на инструментальный материал
[5. табл. П 2.6.].
К1V – коэффициент, учитывающий глубину сверления:
[5. табл. П 2.22.].
Подставляем значения в формулу:
м/мин.
4. Рассчитываем скорость вращения шпинделя n об/мин
об/мин.
5.Уточняем частоту вращения шпинделя по паспорту и корректируем ее в ближайшую меньшую сторону.
Принимаем n = 200 об/мин.
6. Пересчитываем фактическую скорость резания V м/мин:
м/мин.
Переход 2. Растачивание чистовое отверстия 1.
1.Скорость резания V=150, мм [5.табл. П 2.13].
2.Расчитываем скорость вращения шпинделя n об/мин
об/мин,
3. Уточняем частоту вращения шпинделя по паспорту и корректируем ее в ближайшую меньшую сторону.
Принимаем n = 1000 об/мин.
4. Пересчитываем фактическую скорость резания V м/мин
м/мин.
2.3 Определение норм времени
Исходные данные: деталь «Втулка». Длина обрабатываемой поверхности 7 мм, диаметр 80. Заготовка – «прокат» из стали ХВГ. Обработка производится на токарном станке. Приспособление – токарный патрон.
Переход 1. Точить наружную поверхность 1 предварительно.
Резец проходной. Угол резца в плане φ = 45.
1. Основное время
мин, (12)
lр.х = 7 мм – длина рабочего хода инструмента (по чертежу).
lвр,пер = 2,6 мм – величина врезания и перебега инструмента [5. табл. П 3.17.].
n = 500 об/мин - частота вращения (по расчету режимов резания).
Sоб = 0,6 мм/об - подача на оборот (по расчету режимов резания).
2. Вспомогательное время, связанное с переходом
Твсп1 = 0,09 мин [5. табл. П 3.9.]
Переход 2. Точить наружную поверхность 1 окончательно.
Резец проходной. Угол резца в плане φ = 45.
1. Основное время
мин,
lр.х = 7 мм – длина рабочего хода инструмента (по чертежу).
lвр,пер = 2,6 мм – величина врезания и перебега инструмента [5. табл. П 3.17.].
n = 1000 об/мин – частота вращения (по расчету режимов резания).
Sоб = 0,144 мм/об - подача на оборот (по расчету режимов резания).
2. Вспомогательное время, связанное с переходом
Твсп2 = 0,09 мин [5. табл. П 3.9.].
Исходные данные: деталь «Втулка». Длина обрабатываемой поверхности 21 мм, диаметр 50. Заготовка – «прокат» из стали ХВГ. Обработка производится на токарном станке. Приспособление – токарный патрон.
Переход 1. Точить наружную поверхность 1 предварительно.
Резец проходной. Угол резца в плане φ = 45°.
1. Основное время
мин,
lр.х = 21 мм – длина рабочего хода инструмента (по чертежу).
n = 800 об/мин - частота вращения (по расчету режимов резания).
Sоб = 0,6 мм/об - подача на оборот (по расчету режимов резания).
2. Вспомогательное время, связанное с переходом
Твсп1 = 0,09 мин [5. табл. П 3.9.].
Исходные данные: деталь «Втулка» из стали ХВГ. Заготовка – «прокат». Обработка производится на вертикально-сверлильном станке. Приспособление – тиски пневматические с призматическими губками.
Переход 1. Сверлить отверстие 1.
Сверло спиральное.
1. Основное время
мин,
lр.х = 28 мм – длина рабочего хода инструмента (по чертежу).
lвр,пер = 6 мм – величина врезания и перебега инструмента [5. табл. П 3.18.].
n = 200 об/мин – частота вращения (по расчету режимов резания).
Sоб = 0,29 мм/об - подача на оборот (по расчету режимов резания).
2. Вспомогательное время, связанное с переходом
Твсп1 = 0,1 мин [5.табл. П 3.11.].
3. Конструкторская часть
3.1 Описание конструкции и принципа работы мерительного устройства
Штангенциркули
Штангенциркуль ШЦ-II-250-0,05 ГОСТ 166-89, Штангенциркуль ШЦ-II-250-0,1-2 ГОСТ 166-89, Паспорт ШЦ-II-250.00.000 ПС
НАЗНАЧЕНИЕ ИЗДЕЛИЯ Штангенциркуль типа ШЦ-II ГОСТ 166-89 предназначен для измерения наружных и внутренних размеров и разметочных работ. Диапазон измерений 0-250 мм, значение отсчета по нониусу 0,05 и 0,1 мм.
Пример обозначения при заказе штангенциркуля со значением отсчета по нониусу 0,05 мм:
ШЦ-II-250-0,05 ГОСТ 166-89.
То же, со значением отсчета по нониусу 0,1 мм класса точности 2:
ШЦ-II-250-0,1-2 ГОСТ 166-89
ТЕХНИЧЕСКИЕ ХАРАКТЕРИСТИКИ
Наименование показателей
ШЦ-II-250-0,05
ШЦ-II-250-0,1-2
Диапазон измерений, мм
0 - 250
0 - 250
Значение отсчета по нониусу, мм
0,05
0,1
Класс точности штангенциркуля - 2
Погрешности измерений, мм
± 0,05
± 0,1
Габаритные размеры, мм
370×125×10
370×125×10
Масса, кг, не более
0,425
0,425
1 - штанга; 2 - рамка; 3 - нониус; 4 - винт стопорный; 5 - движок; 6 - винт микрометрический; 7 - винт стопорный; 8 – гайка
Рисунок 2 - Штангенциркуль
Штангенциркуль имеет две шкалы и микрометрическое устройство для тонкой регулировки рамки. Основная шкала нанесена на штанге с делениями через 1 мм, вторая шкала - на нониусе, который закреплен на рамке. Фиксация рамки производиться при помощи стопорного винта. Плавное перемещение рамки обеспечивается пружиной, расположенной внутри рамки.
Наружные размеры измеряются при помощи обеих пар губок. Верхние губки используются для разметочных работ. Для измерения внутренних размеров используются нижние нижние губки. При таких замерах измеряемый размер равен величине отсчета по шкале штангенциркуля плюс величина губок. Размер сдвоенных губок маркируется на одной из губок штангенциркуля.
Отсчет размеров производиться методом непосредственной оценки совпадения деления шкалы с делениями нониуса.
Указание мер безопасности
Во избежание травматизма необходимо:
- осторожно обращаться с острыми разметочными губками;
- не допускать измерений размеров на ходу станка, при движении режущего инструмента и при вращении измеряемой детали.
Подготовка к работе
Расконсервируйте штангенциркуль после извлечения из чехла:
- протрите штангенциркуль, особенно измерительные поверхности, салфеткой, смоченной нефрасом;
- обдуйте теплым воздухом или протрите насухо чистой салфеткой.
Проверьте установку нониуса на ноль. Совместите, при необходимости, нулевые штрихи шкал и нониуса.
Порядок работы
В процессе работы и по окончании ее протирайте штангенциркуль салфеткой, смоченной в водно-щелочном растворе СОЖ, затем насухо — чистой салфеткой.
По окончании работы покройте поверхности штангенциркуля тонким слоем любого технического масла типа "Индустриальное" ГОСТ 20799-88 и уложите в чехол.
Не допускайте в процессе эксплуатации:
- грубых ударов или падения во избежание изгибов штанги и других повреждений;
- царапин на измерительных поверхностях;
- трения измерительных поверхностей об контролируемую деталь.
3.2 Описание конструкции и принципа работы режущего инструмента
Обработка резанием является универсальным методом размерной обработки. Метод позволяет обрабатывать поверхности деталей различной формы и размеров с высокой точностью из наиболее используемых конструкционных материалов. Он обладает малой энергоемкостью и высокой производительностью. Вследствие этого обработка резанием является основным, наиболее используемым в промышленности процессом размерной обработки деталей.
Режущий инструмент Резцы для обработки торцов и уступов. Торцы и уступы обрабатывают подрезными, проходными, отогнутыми или проходными упорными резцами.
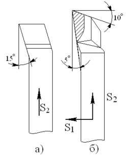
Подрезной резец а) предназначен для обработки наружных торцевых поверхностей. При подрезании торца подача резца осуществляется перпендикулярно оси обрабатываемой детали. Подрезной резец б) позволяет обрабатывать различные торцевые и другие поверхности с продольной и поперечной подачами. Рисунок 3 – подрезной резец
Подрезные резцы изготовляют с пластинами из быстрорежущих сталей и твёрдых сплавов. Главный задний угол α=10÷15˚, передний угол γ выбирают в зависимости от обрабатываемого материала.
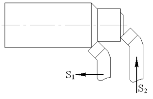
Рисунок 4 – проходной отогнутый резец.
Проходным отогнутым резцом можно выполнять подрезку торца при поперечной подачи s1 и обтачивание при продольной подаче s2 резца.
Рисунок 5 - Проходной упорный резец.
Проходным упорным резцом можно подрезать торцы и обтачивать уступы при продольной подаче s1.
Резцы для подрезания торцов должны устанавливаться точно по оси детали, иначе на торце детали остаётся выступ. При большом диаметре торцевой поверхности припуск снимают с поперечной подачей в несколько проходов. Уступы более 2 – 3мм подрезают проходным резцами в несколько приёмов. Сначала уступ образуется при продольной подаче s1 резца, а затем подрезается при поперечной подаче s2
Режимы резанья. При подрезании торцов и уступов поперечная и продольная подачи определяются так же, как и при обтачивании цилиндрических поверхностей. Поперечная подача обычно берётся меньше продольной. Для черновой обработки торцов рекомендуются поперечные подачи 0,3 – 0,7мм/об при глубине резанья 2 – 5мм, а для чистовой обработки – 0,1 – 0,3мм/об при глубине резания 0,7 – 1мм.
Скорость резанья для обработки торцов и уступов обычно на 20% выше, чем при обработке наружных цилиндрических поверхностей, так как время участия резца в процессе резания незначительно и он не успевает нагреться до критической температуры.
3.3 Описание конструкции и принципа работы установочного приспособления
На токарных станках применяют двух-, трех- и четырехкулачковые патроны с ручным и механизированным приводом зажима.
В двухкулачковых самоцентрирующих патронах закрепляют различные фасонные отливки и поковки; кулачки таких патронов, как правило, предназначены для закрепления одной детали.
В трехкулачковых самоцентрирующих патронах закрепляют заготовки круглой и шестигранной формы или круглые прутки большого диаметра.
В четырехкулачковых самоцентрирующих патронах закрепляют прутки квадратного сечения, а в патронах с индивидуальной регулировкой кулачков – детали прямоугольной или несимметричной формы.
. (10) 















