126151 (690917), страница 2
Текст из файла (страница 2)
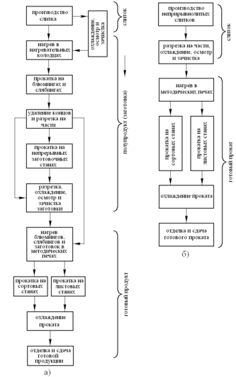
Рисунок 1 - Технологическая схема получения готового проката
2 Расчетная часть
2.1 Расчет промежуточных припусков и размеров заготовки
Исходные данные. Деталь «Втулка». Технические требования - диаметр
80, шероховатость Ra = 6,3 мкм. Материал детали – сталь ХВГ. Общая
длина детали – 28 мм. Метод получения заготовки - прокат. Обработка производится в патроне на токарном станке 16К20. Требуется определить межоперационный и общий припуски и диаметральный размер заданной поверхности заготовки.
1. Назначаем технологический маршрут обработки:
- точение черновое
- точение чистовое
2. В графу 2 записываем элементарную поверхность детали и технологические переходы в порядке последовательности их выполнения.
3. Заполняем графы 3, 4 и 9 по всем технологическим переходам. Данные для заполнения граф 3 и 4 взяты из табл. П 1.11 и П 1.18, допуск (графа 9) на диаметральный размер проката взят из табл. П 1.1.
Для выполнения расчета промежуточных припусков при обработке
указанной шейки вала аналогичным методом необходимо собрать данные:
Rzi-1; Ti-1; ρi-1; εi..
4. Суммарное значение пространственных погрешностей (графа 5) взят из табл. П 1.6.
ρ1= 14мкм.
Ку – коэффициент уточнения [5. табл. П 1.21.].
Ку = 0,06 – черновое точение
Ку = 0,05 – чистовое точение.
Таблица 3 - межоперационный и общий припуски и диаметральный размер поверхности заготовки.
| № п/п | Маршрут обработки поверхности | Элементы припуска, мкм | Расчетный припуск, мкм | Расчетный размер, мкм | Допуск по переходам, в мм | Предельный размер, мм | Предельные припуски, мм | |||||||||||
| Rzi-1 | Ti-1 | ρi-1 | εi | max мм | min мм | max мм | min мм | |||||||||||
| 1 | 2 | 3 | 4 | 5 | 6 | 7 | 8 | 9 | 10 | 11 | 12 | 13 | ||||||
| 1 | Наружная поверхность 80 | |||||||||||||||||
| а | Прокат | 125 | 100 | 14 | - | - | 81,211 | 620 | 81,21 | 80,59 | - | - | ||||||
| б | Черновое точение | 100 | 80 | 0,84 | 200 | 850,98 | 80,361 | 540 | 80,36 | 79,82 | 1,39 | 0,23 | ||||||
| в | Чистовое точение | 25 | 25 | 0 | 0 | 361,68 | 80 | 87 | 80 | 79,913 | 0,44 | 0,18 | ||||||
Тогда ρ1 = 0,06 · 14 = 0,84мкм
ρ2 = 0,05 · 0,84 ≈ 0 мкм
Данные заносим в графу 5.
5. Погрешность установки заготовок (графа 6) в трехкулачковом
самоцентрирующем патроне при черновом обтачивании εi1 =200мкм [табл. П 1.2.]; при чистовом обтачивании без переустановки – εi2 = 0
6. Расчет минимального припуска (графа 7) при обработке наружной
поверхности проката в патроне производится по формуле:
2Zimin = 2(Rzi-1+Ti-1+√ρi-12+εi2) (4)
Для чернового точения:
2Z I min = 2(125+100+√142+2002)=2(225+√40196) = 850,98
Для чистового точения:
2Z i min = 2(100+80+√0,842)=2∙180,84 = 361,68
7. Расчет промежуточных минимальных диаметров по переходам проводится в порядке, обратном ходу технологического процесса обработки этой поверхности, т.е. от размера готовой детали к размеру заготовки, путем последовательного прибавления к наименьшему предельному размеру готовой поверхности детали минимального припуска 2Zi min. Результаты заносятся в графу 8.
8. В графу 11 записываются размеры по всем технологическим переходам, округляя их увеличением до того же знака десятичной дроби, с каким задан допуск на размер для каждого перехода.
9. Наибольшие предельные размеры (графа 10) определяются путем прибавления допуска к округленному минимальному предельному размеру.
10. Предельные размеры припусков Zi max (графа 12) определяются как разность предельных максимальных размеров и Zi min (графа 13) – как разность предельных минимальных размеров предшествующего и выполняемого переходов.
Исходные данные
Деталь «Втулка». Технические требования - диаметр
50, шероховатость Ra = 6,3 мкм. Материал детали – сталь ХВГ. Длина обрабатываемой поверхности – 25 мм. Метод получения заготовки - прокат. Обработка производится в патроне на токарном станке 16К20. Требуется определить межоперационный и общий припуски и диаметральный размер заданной поверхности заготовки.
Назначаем технологический маршрут обработки:
- точение черновое
- точение чистовое.
В графу 2 записывают элементарную поверхность детали и технологические переходы в порядке последовательности их выполнения.
Заполняем графы 3, 4 и 9 по всем технологическим переходам. Данные для заполнения граф 3 и 4 взяты из табл. П 1.4 и П 1.7., допуск (графа 9) на диаметральный размер проката взят из табл. П 1.1.
Суммарное значение пространственных погрешностей (графа 5) взят из [5. табл. П 1.6.].
ρ0 = 14мкм.
Таблица 4 - межоперационный и общий припуски и диаметральный размер поверхности заготовки.
| № п/п | Маршрут обработки поверхности | Элементы припуска, мкм | Расчетный припуск, мкм | Расчетный размер, мкм | Допуск по переходам, в мм | Предельный размер, мм | Предельные припуски, мм | |||||||||||
| Rzi-1 | Ti-1 | ρi-1 | εi | max мм | min мм | max мм | min мм | |||||||||||
| 1 | 2 | 3 | 4 | 5 | 6 | 7 | 8 | 9 | 10 | 11 | 12 | 13 | ||||||
| 1 | Наружная поверхность 50 | |||||||||||||||||
| А | Прокат | 125 | 100 | 14 | - | - | 51,211 | 620 | 51,21 | 50,59 | - | - | ||||||
| Б | Черновое точение | 100 | 80 | 0,84 | 200 | 850,98 | 50,361 | 540 | 50,36 | 49,82 | 1,39 | 0,23 | ||||||
| В | Чистовое точение | 25 | 25 | 0 | 0 | 361,68 | 50 | 87 | 50 | 49,913 | 0,44 | 0,18 | ||||||
Находим коэффициенты уточнения [5. табл. П 1.21.]. для:
- чернового точения Ку = 0,06
- чистового точения Ку = 0,05
ρ = ρ0 · Ку
ρ1 = 14 · 0,06 = 0,84мкм
ρ2 = 0,05 · 0,84 ≈ 0 мкм
Данные заносим в графу 5.
Погрешность установки заготовок (графа 6) в трехкулачковом самоцентрирующем патроне при черновом обтачивании εу1 =200мкм /1/[5. табл. П 1.2.]; при чистовом обтачивании без переустановки – εу2 = 0 мкм.
Расчет минимального припуска (графа 7) при обработке наружной поверхности проката в патроне производится по формуле:
Для черновом точении:
2Zimin=2(125+100+√142+2002)=2(225+√40196)=850,98
Для чистового точения:
2Zimin=2(100+80+√0,842)=2∙180,84=361,68
В графу 11 записываются размеры по всем технологическим переходам, округляя их увеличением до того же знака десятичной дроби, с каким задан допуск на размер для каждого перехода.
Наибольшие предельные размеры (графа 10) определяются путем прибавления допуска к округленному минимальному предельному размеру.
Предельные размеры припусков Zi max (графа 12) определяются как разность предельных максимальных размеров и Zi min (графа 13) – как разность предельных минимальных размеров предшествующего и выполняемого переходов.
Исходные данные. Деталь «Втулка». Требуется определить межоперационный и общий припуски и размер заготовки на отверстие диаметром 40H7(+0,025) с шероховатостью Ra = 0,8 мкм. Материал детали – сталь ХВГ. Общая длина детали – 28 мм. Метод получения заготовки - прокат. Обработка производится на вертикально-сверлильном станке, приспособление - пневмотиски с призматическими губками.















