125707 (690652), страница 3
Текст из файла (страница 3)
** Для слабо агрессивных и нейтральных сред со скоростью коррозии металла менее 0,05 мм в год (для агрессивных сред масса больше в среднем на 8—10 %).
*** Для давлений до 1,6 МПа.
При оптимальной компоновке пластин число пакетов для горячего и холодного теплоносителя может быть неодинаковым (как на рис.1.5, б). В условном обозначении схемы компоновки число слагаемых в числителе соответствует числу пакетов (последовательных ходов) для горячего теплоносителя, в знаменателе — для холодного; каждое слагаемое означает число параллельных каналов в пакете (в конденсаторах однопакетная компоновка пластин по ходу пара).
В полуразборных теплообменниках пластины попарно сварены, доступ к поверхности теплообмена возможен только со стороны хода одной из рабочих сред.
Разборные аппараты могут работать при давлении 0,002—1,0 МПа и температуре рабочих сред от' —20 до +180°С, полуразборные — при давлении 0,002—2,5 МПа и той же температуре; неразборные (сварные) аппараты могут работать при давлении 0,0002—4,0 МПа и температуре от — 100 до +300 °С.
Разборные теплообменники изготовляют по ГОСТ 15518—83 в трех исполнениях: I — на консольной раме, II — на двухопорной раме, III — на трехопорной раме.
Таблица 1.4. Конструктивные характеристики разборных пластинчатых теплообменников (по данным /8/)
| Характеристики | Площадь пластины, м2 | |||||
| 0,2 | 0,3 | 0,6 | 1.3 | |||
| Габариты пластины, мм: | ||||||
| длина | 960 | 1370 | 1375 | 1915 | ||
| ширина | 460 | 300 | 600 | 920 | ||
| толщина * | 1,0 | 1,0 | 1,0 | 1,0 | ||
| Эквивалентный диаметр канала, мм | 8,8 | 8,0 | 8,3 | 9,6 | ||
| Поперечное сечение канала, 104 м2 | 17,8 | 11,0 | 24,5 | 42,5 | ||
| Приведенная длина канала, м | 0,518 | 1,12 | 1,01 | 1,47 | ||
| Масса пластины, кг ** | 2,5 | 3,2 | 5,8 | 12,0 | ||
| Диаметр условного прохода штуцеров, мм | 80; 150 | 65 | 200 | 300 | ||
*В облегченном варианте толщина пластины может быть уменьшена до 0,5мм.
** Для пластины толщиной 0,8 мм.
Рис.1.6. Пластинчатый теплообменник на двухопорной раме: / 4 — штуцеры для теплоносителей
Теплообменник в исполнении II показан на рис.1.6. В табл. 1.3 и 1.4 даны поверхности теплообмена и основные параметры разборных пластинчатых теплообменников. Более подробные сведения о разборных, полуразборных и сварных теплообменниках приведены в литературе [8].
1.3 Спиральные теплообменники
В спиральных теплообменниках (рис.7) поверхность теплообмена образована двумя листами из углеродистой или коррозионно-стойкой стали, свернутыми на специальном станке в спирали. С помощью приваренных дистанционных штифтов между листами сохраняется одинаковое по всей спирали расстояние, равное 12 мм. Таким образом, получаются два спиральных канала, заканчивающихся в центре двумя полуцилиндрами, отделенными друг от друга перегородкой. К периферийной части листов приварены коробки. Каждый полуцилиндр с торцевой стороны и каждая коробка имеют штуцер для входа или выхода теплоносителя. С торцов спирали зажимают между дисками с помощью крышек. Для герметизации используют прокладки из резины, паронита, асбеста или мягкого металла. Согласно ГОСТ 12067—80, спиральные теплообменники имеют поверхности теплообмена 10—100 м2, работают при давлениях до 1 МПа и температуре от —20 до +200 °С. Поверхности теплообмена и основные параметры их приведены в табл. 2.5.
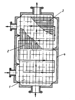
1.4 Блочные графитовые теплообменники
Теплообменники из графита широко распространены в химической промышленности благодаря очень высокой коррозионной стойкости и высокой [до 100 Вт/(м*К)] теплопроводности графита. Наибольшее применение находят блочные теплообменники. Основным элементом их является графитовый блок, имеющий форму параллелепипеда, в котором просверлены вертикальные и горизонтальные непересекающиеся отверстия для прохода теплоносителей (рис.8). Аппарат собирают из одного или нескольких блоков. С помощью боковых металлических плит в каждом блоке организуется двухходовое движение теплоносителя по горизонтальным отверстиям. Теплоноситель, движущийся по вертикальным каналам в теплообменниках, собранных из блоков размером 350X515X350 мм3 (второе число — длина горизонтальных каналов), может совершать один или два хода, в зависимости от конструкции верхней и нижней крышек. В аппаратах, собранных из блоков с увеличенными боковыми гранями (350X700X350), теплоноситель, движущийся по вертикальным каналам, может совершать два или четыре хода.
Таблица 1.5. Поверхности теплообмена и основные параметры спиральных теплообменников (по ГОСТ 12067—80)
| t. м | Толщина листа, мм | Ширина листа, м | Длина канала, м | Площадь сечения канала, 10' м2 | Масса теплообменника, кг, не более | d штуцеров для жидких теплоносителей, мм | |||||
| 10,0 | 3,5 | 0,4 | 12,5 | 48 | 1170 | 65 | |||||
| 12,5 | 3,5 | 0,4 | 15,6 | 60 | 1270 | 65 | |||||
| 16,0 | 3,5 | 0,5 | 16,0 | 60 | 1480 | 65 | |||||
| 20,0 | 3,5 | 0,4 | 25,0 | 48 | 1770 | 100 | |||||
| 20,0 | 4,0 | 0,7 | 14,3 | 84 | 1620 | 100 | |||||
| 25,0 | 3,5 | 0,5 | 25,0 | 60 | 2270 | 100 | |||||
| 25,0 | 4,0 | 0,7 | 17,9 - | 84 | 1970 | 100 | |||||
| 31,5 | 3,5 | 0,5 | 31,5 | 60 | 2560 | 100 | |||||
| 31,5 | 4,0 | 0,7 | 22,5 | 84 | 2560 | 100 | |||||
| 40,0 | 3,9 | 1,0 | 20,0 | 120 | 2760 | 100 | |||||
| 40,0 | 4,0 | 0,7 | 28,6 | 84 | 3160 | 100 | |||||
| 50,0 | 3,9 | 1,0 | 25,0 | 120 | 3460 | 150 | |||||
| 50,0 | 6,0 | 1,1 | 22,7 | 138 | 3960 | 150 | |||||
| 63,0 | 3,9 | 1,0 | 31,5 | 120 | 4260 | 150 | |||||
| 63,0 | 6,0 | 1,1 | 28,6 | 138 | 4760 | 150 | |||||
| 80,0 | 3,9 | 1,0 | 40.0 | 120 | 5450 | 150 | |||||
| 80,0 | 6,0 | 1.1 | 36,4 | 138 | 5450 | 150 | |||||
| 100,0 | 3,9 | 1,0 | 50,0 | 120 | 5960 | 150 | |||||
| 100.0 | 4,0 | 1,25 | 40,0 | 150 | 5960 | 150 | |||||
Рис. 1.7. Спиральный теплообменник
Рис. 1.8. Схема блочного (из двух блоков) графитового теплообменника:
/ — графитовый блок; 2 — вертикальные каналы; 3 — горизонтальные каналы; 4 — корпус.















