125707 (690652), страница 2
Текст из файла (страница 2)
** Толщины труб указаны для условных давлений не выше 1,6 МПа.
Таблица 1.2. Поверхности теплообмена и основные параметры разборных многопоточных теплообменников типа «труба в трубе»*
| Число параллель-ных потоков | Поверхность теплообмена (м2) при длине труб, м | Площадь сечений потоков 104 м2 | ||||||||
| Число | ||||||||||
| труб в | ||||||||||
| одном | внутри | в кольцевых | ||||||||
| аппарате, шт. | 3,0 | 6,0 | 9,0 | тепло-обменных | зазорах межтрубного | |||||
| труб | пространства | |||||||||
| 3 | 6 | 3 | 6 | 38 | 92 | |||||
| 5 | 10 | 5 | 10 | --- | 63 | 154 | ||||
| 7 | 14 | --- | 14 | 21 | 88 | 216 | ||||
| 12 | 24 | — | 24 | 36 | 151 | 371 | ||||
| 22 | 44 | — | 44 | 66 | 277 | 680 | ||||
* Диаметр теплообменных труб 48X4 мм, диаметр кожуховых труб 89X5 мм.
Допускаются также теплообменные трубы диаметром 38X3,5 и 57X4 мм и кожуховые трубы диаметром 108X4 мм прн тех же длинах. Предельные условные давления теплоносителей 1,6 и 4,0 МПа.
1.2 Пластинчатые теплообменники
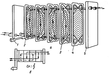
В пластинчатых теплообменниках поверхность теплообмена образована набором тонких штампованных гофрированных пластин. Эти аппараты могут быть разборными, полуразборными и неразборными (сварными). В пластинах разборных теплообменников (рис. 1.4) имеются угловые отверстия для прохода теплоносителей и пазы, в которых закрепляются уплотнительные и компонующие прокладки из специальных
Рис.1.4. Пространственная схема движения теплоносителей (а) и условная схема компоновки пластин (б) в однопакетном пластинчатом разборном теплообменнике:
/ — неподвижная плита; 2 — теплообменная пластина; 3 — прокладка; 4 — концевая пластина; 5 - подвижная плита
термостойких резин. Пластины сжимаются между неподвижной и подвижной плитами таким образом, что, благодаря прокладкам между ними, образуются каналы для поочередного прохода горячего и холодного теплоносителей. Плиты снабжены штуцерами для присоединения трубопроводов. Неподвижная плита крепится к полу, пластины и подвижная плита закрепляются в специальной раме. Группа пластин, образующих систему параллельных каналов, в которых данный теплоноситель движется только в одном направлении (сверху вниз или наоборот), составляет пакет. Пакет по существу аналогичен одному ходу по трубам в многоходовых кожухотрубчатых теплообменниках.
На рис. 1.5 даны примеры компоновки пластин. При заданном расходе теплоносителя увеличение числа пакетов приводит к увеличению скорости теплоносителя, что интенсифицирует теплообмен, но увеличивает гидравлическое сопротивление.
Рис. 1.5. Примеры компоновки пластин:
а - симметричная двухпакетная схема; б — несимметричная схема (три пакета для горячего теплоносителя два — для холодного)
Таблица 1.3. Поверхность теплообмена и основные параметры разборных пластинчатых теплообменников (по ГОСТ 15518—83)
| Поверхность теплообмена F (м2), число пластин N (шт.) и масса аппарата М (кг) при поверхности одной пластины f (м2) | |||||||||||||||||
| / = 0,2 | / = 0,3 | / = 0,5* | / = 0,6 | /=1.3 | |||||||||||||
| F | N | М | F | N | М** | F | N | М*** | F | N | М** | F | N | М | |||
| 1 | 8 | 570 | 3 | 12 | 280 | 31,5 | 64 | 1740 | 10 | 20 | 960 | 200 | 156 | 5 350 | |||
| 2 | 12 | 590 | 5 | 20 | 315 | 50 | 100 | 2010 | 16 | 30 | 1030 | 300 | 232 | 6 470 | |||
| 5 | 28 | 650 | 8 | 30 | 345 | 63 | 126 | 2200 | 25 | 44 | ИЗО | 400 | 310 | 7610 | |||
| 6,3 | 34 | 670 | 10 | 36 | 365 | 80 | 160 | 2460 | 31,5 | 56 | 1220 | 500 | 388 | 11 280 | |||
| 10 | 52 | 750 | 12,5 | 44 | 400 | 100 | 200 | 2755 | 40 | 70 | 1300 | 600 | 464 | 12 430 | |||
| 12,5 | 66 | 800 | 16 | 56 | 440 | 140 | 280 | 3345 | 50 | 86 | 1400 | 800 | 620 | 14 740 | |||
| 16 | 84 | 1340 | 20 | 70 | 485 | 160 | 320 | 4740 | 63 | 108 | 1530 | _ | _ | _ | |||
| 25 | 128 | 1480 | — | — | — | 220 | 440 | 5630 | 80 | 136 | 1690 | — | _ | __, | |||
| 31,5 | 160 | 1600 | — | — | — | 280 | 560 | 6570 | 100 | 170 | 1900 | _ | _ | _ | |||
| 40 | 204 | 1750 | — | — | _ | 300 | 600 | 6810 | 140 | 236 | 2290 | _ | _ | _ | |||
| — | — | — | — | — | — | 320 | 640 | 7100 | 160 | 270 | 2470 | _ | _ | _ | |||
| — | — | — | — | — | — | — | — | — | 200 | 340 | 3920 | — | — | _ | |||
| — | — | — | — | — | — | — | — | — | 250 | 420 | 4400 | _ | _ | _ | |||
| — | _ | _ | _ | _ | _ | _ | _ | _ | 300 | 504 | 4890 | _ | _ | _ | |||
* Теплообменники со сдвоенными пластинами (полуразборные).















