124739 (690133)
Текст из файла
КУРСОВАЯ РАБОТА
на тему:
«Характеристика технологического оборудования поточной линии производства сухого обезжиренного молока»
Реферат
Тема данной работы: «Характеристика технологического оборудования поточной линии производства сухого обезжиренного молока».
Цель работы: описать и изучить предназначение, строение и принцип действия оборудования, которое входит в технологическую линию производства сухого обезжиренного молока; ознакомиться с правилами эксплуатации и техникой безопасности, а также выполнить расчеты оборудования данной технологической линии и необходимые чертежи.
Объем курсовой работы:
Чертежи – 2
Разделов – 7
Дополнений – 5
Работа состоит из следующих разделов:
1. Введение
-
Описание технологической схемы производства
-
Сравнительная характеристика технологического оборудования
-
Инженерные расчеты
-
Правила эксплуатации
-
Список использованной литературы
Дополнения
Содержание
-
Введение
-
Описание технологической схемы производства
-
Сравнительная характеристика технологического оборудования
-
Инженерные расчеты
-
Правила эксплуатации
Список использованной литературы
Дополнения
-
Введение
В новых экономических условиях предприятия по переработке сырья животного происхождения и торговые предприятия находятся в стадии становления и совершенствования технологических процессов, что негативно отражается на качестве молочных продуктов питания.
Поэтому важным условием при производстве сухих молочных продуктов является качество сырья, соблюдение технологии их производства и условий хранения, использование надежной тары.
Консервирование сушкой широко применяют в молочной промышленности: сушат цельное и обезжиренное молоко, пахту, молочную сыворотку, смеси цельного молока с обезжиренным молоком, пахтой или сливками, без добавок или с добавками. Ассортимент сухих молочных продуктов довольно обширный: коровье цельное сухое молоко 20%-ной и 25%-ной жирности, сухое молоко «Домашнее», сухие сливки, сухие высокожирные сливки, сухие молочные продукты, сухие молочные продукты повышенной растворимости (сухое молоко «Смоленское», сухое быстрорастворимое молоко), сухие многокомпонентные смеси (сухие смеси для мороженого, для пудинга). Эти продукты получают методом распылительной сушки.
Молоко сухое цельное - сухой молочный продукт с массовой долей жира не менее 20%; изготовляемый из цельного или нормализованною молока.
Молоко сухое обезжиренное - сухой молочный продукт с массовой долей жира не более 1,5 %, изготовляемый из обезжиренного молока.
При производстве всех видов сухих молочных продуктов удаление свободной воды осуществляется в две ступени — сгущением и сушкой предварительно сгущенного продукта. Сгущение выпариванием осуществляется до такой общей массовой доли сухих веществ, при которой массовая доля ККФК в воде не превышает 18…20% и продукт не утрачивает текучести (при температуре выпаривания).
Сгущенные смеси высушивают до конечной влажности, устанавливаемой в зависимости от формы связи воды с составными частями сухого вещества. Конечная влажность сухого молочного продукта, представляющая собой связанную воду, составляет не более 15% массовой доли белка в нем. На этом основано нормирование массовой доли влаги в сухих молочных продуктах, по достижении которой заканчивается процесс сушки. В конце сушки того или иного продукта должно быть обеспечено равновесие между величиной заданной массовой доли влаги в нем и относительной влажностью воздуха, окружающего его.
Сухое цельное молоко имеет следующий химический состав: СОМО - 70,9%, в том числе молочного сахара содержится 35…38, белка – 26…28, минеральных веществ - 5,8…6,2, жира - 26,1, влаги - 3, но не более 4 при герметической упаковке и не более 7% при негерметической.
2. Описание технологической схемы
Сушка молока производится двумя методами: распылительным (воздушное) и пленочным (контактное).
При распылительном методе подготовленное нормализованное молоко пастеризуют при 90°С, а затем сгущают в вакуум-выпарных аппаратах до массовой доли в нем сухого вещества 43…52%. После этого молоко подвергают гомогенизации. Из гомогенизатора его при этой же температуре подают в форсунку или диск сушильной башни. Сухое молоко из башни шнеком подается на фасовку.
Сушилки бывают дисковые, в которых молоко поступает в диск, вращающийся с большой частотой, и форсуночные, где молоко в форсунки подается ротационным насосом под давлением. В сушильной башне молоко распыляется на мельчайшие капельки (размером 20…100 мкм), навстречу которым снизу вверх движется горячий (140…170 °С) воздух из калорифера.
Частицы сухого молока, высушенные горячим воздухом, оседают на дно сушильной башни. Температура молока в зоне сушки около 60°С, благодаря чему не происходит коагуляции белка. Воздух из сушильной башни удаляется через фильтры.
Сухое молоко из сушильной башни подается пневмотрансформатором в бункер, где оно охлаждается до 15…20°С. В зависимости от растворимости, органолептической оценки и других показателей сухое молоко подразделяют на высший и I сорт. Количество нерастворимого осадка в молоке высшего сорта, полученного при распылительной сушке, должно быть не более 0,2 мл, I сорта -0,8 мл.
Фасуют сухое молоко в мелкие и крупные жестяные банки и др. При использовании сухого молока как полуфабриката его фасуют в бочки или барабаны по 20-30 кг. Герметически упакованное молоко может храниться до 8 месяцев при температуре 1…10°С и относительной влажности воздуха в хранилище не более 85%, в негерметической упаковке - только 3 месяца.
При производстве сухого молока пленочным методом сушка осуществляется на вальцовых (барабанных) сушилках.
Качество продукта, полученного этим методом, ниже, чем при распылительном способе. Поэтому на вальцовых сушилках сушат только обезжиренное молоко и пахту. Вальцовые сушилки представляют собой два барабана, расположенных один над другим на расстоянии 0,6…1 мм. Внутрь барабана под давлением поступает пар, а на поверхность вращающихся барабанов подается сгущенное молоко.
Молоко, соприкасаясь с горячей поверхностью барабанов, высыхает. Пленку сухого молока снимают ножи, плотно прилегающие к поверхности вальцов, она поступает в желоб и шнеком подается к мельнице. В мельнице пленку измельчают в порошок. Сухое молоко, полученное на барабанных сушилках, используется в хлебопекарном и других производствах.
Сухие сливки без сахара получают так же, как и сухое молоко. Массовая доля влаги в них не более 4% при герметическом упаковывании и не более 7% при негерметическом, жира не менее 42%.
Сухое быстрорастворимое молоко получают на специальных установках, где частицы сухого молока отсасываются из башни, попадают в циклоны. Здесь они освобождаются от воздуха и с помощью специального устройства вновь подаются в распылительную турбину. В турбине частицы сухого молока смешиваются с каплями сгущенного молока, образуя агломераты больших размеров, которые высушиваются и превращаются в крупные быстрорастворяющиеся частицы сухого молока.
Производство сухого цельного молока происходит по следующей схеме. Сырое молоко, оцененное по качеству, учтенное по массе, очищенное и охлажденное, направляется в емкость для составления нормализованной смеси путем прибавления к нему обезжиренного молока или пахты (реже сливок).
Тепловая обработка нормализованных смесей перед выпариванием - в подогревателях (85…86оС), с завершением ее подогревом острым паром до 140оС, с последующим охлаждением в самоиспарителе. Нормализованная смесь, подвергнутая тепловой обработке, подсгущается в первых двух корпусах вакуум-выпарной установки и с массовой долей сухих веществ 46…50 % из калоризатора третьего корпуса направляется на гомогенизацию при температуре 45…60 °С в одноступенчатом аппарате и давлении 10…15 МПа, в двухступенчатом — Р1=11,5…12,5 МПа и Р2=2,5…3,0 МПа. Гомогенизация обеспечивает уменьшение свободного поверхностного жира в готовом продукте в 2…3 раза. В сушильной камере распылительной сушилки (одностадийная сушка) подсгущенная и гомогенизированная нормализованная смесь высушивается воздухом (165…180 или 140…170оС, в зависимости от вида сушилки). Частицы продукта со дна камеры через вибролоток попадают в систему пневмотранспорта. Мелкие частицы продукта выводятся из камеры вместе с отработанным воздухом (65…85 оС) в батарею циклонов, где из него выделяются частицы порошка размером более 10 мкм. Эффективность циклонной очистки составляет 95,0…97,4%. Частицы продукта, накапливаемые в циклонах, направляются в общую пневмотранспортную линию, подающую готовый продукт в разгрузочный циклон. При подаче до разгрузочного циклона продукт охлаждается на 10…15°С ниже температуры засасываемого из цеха воздуха. Из разгрузочного циклона продукт подается в бункер-накопитель, откуда на фасование в потребительскую (пакеты с вкладышами из воздухе- и влагонепроницаемого материала) или транспортную (бумажные мешки, бочки, фанерные-барабаны с вкладышами из полиэтилена) тару. Ангидридное состояние лактозы в продукте придает ему свойство высокой гигроскопичности, поэтому при фасовании необходимо обеспечить герметичность укупоривания.
Формирование состава и свойств сухого цельного молока происходит в две ступени. На 1-й при сгущении массовая доля сухих веществ увеличивается от 11,5 до 48…50% и на 2-й, в процессе сушки,-от 48…50 до 96%. На 1-й ступени происходит увеличение кислотности от 18…20 до 70…80оТ, вязкости от 2 по 120мПа-с, плотности от 1028 до 1130…1140 кг/м3. При температуре выпаривания продукт текуч. В процессе сушки сгущенная нормализованная смесь переходит в сухое состояние, характеризующееся сыпучестью.
3. Сравнительная характеристика технологического оборудования
Гомогенизаторы предназначены для дробления и равномерного распределения жировых шариков в молоке и жидких молочных продуктах. Гомогенизаторы представляют собой многоплунжерные насосы высокого давления с гомогенизирующей головкой. Привод их осуществляется от электродвигателей с помощью клиноременной передачи.
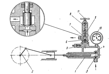
Гомогенизация осуществляется путем прохода продукта под высоким давлением с большой скоростью через гомогенизирующую головку (рис.1), представляющую собой две ступени – щели между притертыми клапаном и седлом, соединенные между собой каналом. Давление в гомогенизаторе регулируется вращением винтов, изменяющих размер щели между клапаном и седлом. При этом на первой ступени устанавливают ѕ необходимого для конкретного продукта давления гомогенизации, на второй – рабочее давление.
Рисунок 1 – Гомогенизирующая головка: 1 – канал, 2 – пружина, 3 – стержень; 4 – клапан; 5 – седло; 6 – регулировочный винт
Гомогенизаторы состоят из следующих основных узлов (рис. 2, 3): кривошипно-шатунного механизма с системой смазки и охлаждения, плунжерного блока с гомогенизирующей и манометрической головками и предохранительным клапаном, станины с приводом. Привод гомогенизатора осуществляется от электродвигателя с помощью клиноременной передачи.
Рисунок 2 – Габаритный чертеж гомогенизатора марки А1-ОГМ: 1 - станина; 2 - предохранительный клапан; 3 - манометрическая головка; 4 - плунжерный блок; 5 - манометр системы смазки; 6 - амперметр; 7 - гомогенизирующая головка
Кривошипно-шатунный механизм гомогенизатора предназначен для преобразования вращательного движения, передаваемого клиноременной передачей от электродвигателя, в возвратно-поступательное движение плунжеров, которые посредством манжетных уплотнений входят в рабочие камеры плунжерного блока и, совершая всасывающие и нагнетательные ходы, создают в нем необходимое давление гомогенизирующей жидкости.
Кривошипно-шатунный механизм состоит из корпуса; коленчатого вала, установленного на двух конических роликоподшипниках; крышек подшипников; шатунов с крышками и вкладышами; ползунов, шарнирно-соединенных с шатунами при помощи пальцев; стаканов; уплотнений; крышки корпуса и ведомого шкива, консольно закрепленного на конце коленчатого вала. Внутренняя полость корпуса кривошипно-шатунного механизма является масляной ванной. В задней стенке корпуса смонтированы маспоуказатель и сливная пробка.
Рисунок 3 – Схема гомогенизатора: 1 – насос; 2 – кривошипно-шатунный механизм; 3 – всасывающий клапан; 4 – нагнетательный клапан; 5 – гомогенизирующая головка; 6 – седло; 7 – клапан; 8 – пружина; 9 – предохранительный клапан; 10 – манометр; 11 – регулировочный винт
Гомогенизаторы марки А1-ОГМ-2,5 имеют принудительную систему смазки наиболее нагруженных трущихся пар, которая применяется в сочетании с разбрызгиванием масла внутри корпуса, что увеличивает теплоотдачу. Охлаждение масла у этих гомогенизаторов производится водопроводной водой посредством змеевика, охлаждающего устройства, уложенного на дне корпуса, а плунжеры охлаждаются водопроводной водой, попадающей на них через отверстия в трубе. В системе охлаждения установлено реле протока, предназначенное для контроля за протеканием воды.
Характеристики
Тип файла документ
Документы такого типа открываются такими программами, как Microsoft Office Word на компьютерах Windows, Apple Pages на компьютерах Mac, Open Office - бесплатная альтернатива на различных платформах, в том числе Linux. Наиболее простым и современным решением будут Google документы, так как открываются онлайн без скачивания прямо в браузере на любой платформе. Существуют российские качественные аналоги, например от Яндекса.
Будьте внимательны на мобильных устройствах, так как там используются упрощённый функционал даже в официальном приложении от Microsoft, поэтому для просмотра скачивайте PDF-версию. А если нужно редактировать файл, то используйте оригинальный файл.
Файлы такого типа обычно разбиты на страницы, а текст может быть форматированным (жирный, курсив, выбор шрифта, таблицы и т.п.), а также в него можно добавлять изображения. Формат идеально подходит для рефератов, докладов и РПЗ курсовых проектов, которые необходимо распечатать. Кстати перед печатью также сохраняйте файл в PDF, так как принтер может начудить со шрифтами.
















