124163 (689879)
Текст из файла
Министерство образования Республики Беларусь
Борисовский государственный политехнический колледж
Расчетно-пояснительная записка
к курсовому проекту по «Технической механике»
Тема: Расчет и проектирование привода конвейера
Разработал:
Коренько А.В.
гр. ТЗ-401, вар.11
Борисов 2007
Содержание
1 Введение
2 Выбор электродвигателя
3 Расчет клиноременной передачи
4 Расчет цепной передачи
5 Расчет закрытой червячной передачи
6 Расчет ведомого вала редуктора
7 Расчет ведущего вала-червяка
8 Подбор подшипников
9 Подбор и проверочный расчет шпонок ведущего вала
10 Подбор и проверочный расчет шпонок ведомого вала
11 Определение конструктивных размеров червячной передачи
12 Компоновочная схема и тепловой расчет редуктора
13 Определение конструктивных размеров крышек подшипников
14 Выбор масла, смазочных устройств
15 Выбор стандартных изделий
Список использованной литературы
1 Введение
Тяговым органом заданного привода является цепная передача В цепных передачах (см. рис.1) вращение от одного вала к другому передается за счет зацепления промежуточной гибкой связи (цепи) с ведущим и ведомым звеньями (звездочками).
Рис.1 Схема цепной передачи с червячным редуктором
В связи с отсутствием проскальзывания в цепных передачах обеспечивается постоянство среднего передаточного числа. Наличие гибкой связи допускает значительные межосевые расстояния между звездочками. Одной цепью можно передавать движение одновременно на несколько звездочек. По сравнению с ременными цепные передачи имеют при прочих равных условиях меньшие габариты, более высокий КПД и меньшие нагрузки на валы, так как отсутствует необходимость в большом предварительном натяжении тягового органа.
Недостатки цепных передач: значительный износ шарниров цепи, вызывающий ее удлинение и нарушение правильности зацепления; неравномерность движения цепи из-за геометрических особенностей ее зацепления с зубьями звездочек, в результате чего появляются дополнительные динамические нагрузки в передаче; более высокие требования к точности монтажа передачи по сравнению с ременными передачами; значительный шум при работе передачи.
Цепные передачи предназначаются для мощности обычно не более 100 кВт и могут работать как при малых, так и при больших скоростях (до 30 м/с). Передаточные числа обычно не превышают 7.
Применяемые в машиностроении цепи по назначению подразделяются на приводные, передающие энергию от ведущего вала к ведомому; тяговые, применяемые в качестве тягового органа в конвейерах; грузовые, используемые в грузоподъемных машинах. Из всех типов природных цепей наибольшее распространение имеют роликовые с числом рядов от 1 до 4, втулочные , одно- и двухрядные, и зубчатые.
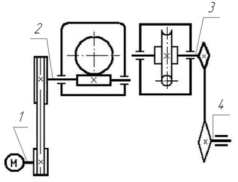
Кинематическая схема привода конвейера приведена на рис.2.
Вращение привода передается от вала электродвигателя 1 к валу ведомой звездочки 4 цепного конвейера посредством клиноременной передачи и червячного редуктора с нижним расположением червяка 2.
Рис.2 Кинематическая схема привода конвейера.
2 Выбор электродвигателя
Исходные данные:
-
мощность на ведомой звездочке Р4=3,5 кВт;
-
число оборотов на ведомой звездочке п4=35 об/мин;
-
работа двухсменная;
-
нагрузка спокойная нереверсивная.
Определяем общий КПД привода по схеме привода
ηобщ=η1 η2 η3 η0 (2.1)
где [1, с.5, табл.1.1]: η1=0,97- КПД ременной передачи;
η2=0,72 - КПД закрытой червячной передачи с однозаходним червяком;
η3=0,95 - КПД цепной передачи;
η0=0,992- коэффициент, учитывающий потери на трение в опорах 2-х валов.
Сделав подстановку в формулу (2.1) получим:
ηобщ.=0,97*0,72*0,95*0,992=0,65
Определяем мощность, необходимую на входе [1,с.4]
Ртр=Р4/ηобщ. (2.2)
где Ртр – требуемая мощность двигателя:
Ртр=3,5/0,65=5,38кВт
Выбираем электродвигатель [1,с.390,табл. П1,П2]
Пробуем двигатель 4А112М4:
Рдв.=5,5кВт;
nс=1500об/мин;
S=3,7%
dдв.=32мм.
Определяем номинальную частоту вращения электродвигателя по формуле (1.3) [1,c.6]:
nном=nc·(1-S);
nном=1500·(1-0,037);
nном=1444,5 об/мин
Определяем общее передаточное число привода
U=nном./n4=1444,5/35=41,3
Производим разбивку передаточного числа по ступеням. По схеме привода
Uобщ.=U1· U2· U3; (2.3)
Назначаем по рекомендации [1,табл.1.2]: U1=2; U2=10;
Тогда
U3= Uобщ./( U1· U2);
U3=2,06, что входит в рекомендуемые пределы
Принимаем U3=2.
Тогда уточняем передаточное число привода по формуле (2.3):
Uобщ.=2*10*2=40
Принимаем окончательно электродвигатель марки 4А112М4
Угловые скорости определяем по формуле
ω=πn/30 (2.4)
По формуле (2.4) определяем угловую скорость вала двигателя
ωдв=πnдв/30=π*1444,5/30=151,3рад/с;
По схеме привода (рис.2) и формуле (2.4) определяем частоты вращения и угловые скорости каждого вала
n2= nдв/U1=1444,5/2=722,3об/мин;
ω2=πn2/30=π*722,3/30=75,6 рад/с;
n3= n2/U2=722,3/10=72,2 об/мин;
ω3=πn3/30=π*72,2/30=7,6 рад/с;
n4= n3/U3=72,2/2=36,1 об/мин;
ω4=πn4/30= π*36,1/30=3,8 рад/с.
Определяем мощность на каждом валу по схеме привода
Р2=Рдв η1=5,5*0,97=5,335 кВт;
Р3=Р2 η2 η0=5,335*0,72*0,992=3,764 кВт;
Р4=Р3 η3=5,124*0,95=3,576 кВт,
что близко к заданному.
Определяем вращающие моменты на каждом валу привода по формуле
(Нм) (2.5)
;
;
;
.
Все рассчитанные параметры сводим в табл.1.
Таблица 1
Параметры кинематического расчета
| № вала | n, об/мин | ω, рад/с | Р, кВт | Т, Нм | U |
| Дв. (1) | 1444,5 | 151,27 | 5,5 | 36,35 | 2 |
| 2 | 722,3 | 75,6 | 5,335 | 70,57 | |
| 10 | |||||
| 3 | 72,2 | 7,6 | 3,764 | 495,3 | |
| 2 | |||||
| 4 | 36,1 | 3,8 | 3,576 | 941 |
3 Расчет клиноременной передачи
Исходные данные:
Мощность на валу меньшего шкива Р1=Рдв =5,5 кВт
Вращающий момент на меньшем шкиве Т1=36,35 Нм
Передаточное число U=3
Частота вращения меньшего шкива nдв=1444,5 об/мин
Угловая скорость вращения меньшего шкива ωдв=151,27 рад/с
По мощности и частоте вращения меньшего шкива выбираем сечение «А» клинового ремня [3,табл.2.1]. Для наглядности, используя ГОСТ1284.1-80 размеры ремня сводим в табл.2.
Таблица 2
Размеры клинового ремня
| Наименование | Обозначение | Величина |
| Обозначение ремня | А | - |
| Диаметр меньшего шкива, мм | d1 | 125 |
| Ширина большего основания ремня, мм | W | 13 |
| Расчетная ширина ремня, мм | Wр | 11 |
| Высота ремня, мм | Т0 | 8 |
| Площадь поперечного сечения, мм2 | А | 81 |
| Угол клина ремня, ° | α | 40 |
| Расчетная длина ремня, мм | Lр | 560…4000 |
| Масса одного метра, кг | q | 0,105 |
Определяем диаметр большего шкива
d2=d1хUх(1-ε) (3.1)
где ε=0,01 – относительное скольжение ремня для передач с регулируемым натяжением ремня.
Подставив значения в формулу (3.1) получим
d2=125х2х0.99=247,5мм
Округляем до ближайшего значения из стандартного ряда
d2=250мм
Рассчитываем уточненное передаточное отношение:
U1=d2/d1=250/125=2, т.е. оно не изменилось.
Назначаем межосевое расстояние в интервале (мм):
аmin=0,55Т0=0,55(125+250)+8=206,25мм
аmax=(d1+ d2)= 125+250=375мм
Принимаем а=300мм
Вычисляем длину ремня:
Lр=2а+0,5π(d1+ d2)+ (d1+ d2)2/4а
Lр=2х300+0,5х3.14(125+250)+(125+250)2/1200=1306мм
Принимаем из стандартного ряда Lр =1320мм. Ввиду очень близкого округления длины ремня нет необходимости пересчитывать межосевое расстояние.
Рассчитываем угол обхвата меньшего шкива
α1=180-57(d2 -d1)/а
α1=180-57(250-125)/300=156º
Рассчитываем скорость ремня
;
где [ν]=25м/с – допускаемая скорость для клиновых ремней,
м/с.
Находим необходимое для передачи число ремней:
(3.2)
где Р0=2 кВт – мощность, допускаемая для передачи одним ремнем «А» с диаметром меньшего шкива 125мм и скоростью ремня 10м/с [3,табл.2.4];
СL=0,95 - коэффициент, учитывающий влияние длины ремня [3,табл.2.5];
Ср=1,2 - коэффициент динамичности нагрузки и режима работы (при среднем режиме работы, при двухсменой работе) [3,табл.2.6];
Сα=0,93 - коэффициент, учитывающий влияние угла обхвата на тяговую способность ремня;
Сz=0,9 - коэффициент, учитывающий число ремней в комплекте (при z=4-6). Подставив значения в формулу (3.2) получим:
ремня
Проверим частоту пробегов ремня Uпр=ν/Lр≤[Uрек]
где [Uрек]=30c-1 – рекомендованное значение частоты пробегов для клиноременной передачи.
Uпр=9,5/1,8=5,3с-1.
Характеристики
Тип файла документ
Документы такого типа открываются такими программами, как Microsoft Office Word на компьютерах Windows, Apple Pages на компьютерах Mac, Open Office - бесплатная альтернатива на различных платформах, в том числе Linux. Наиболее простым и современным решением будут Google документы, так как открываются онлайн без скачивания прямо в браузере на любой платформе. Существуют российские качественные аналоги, например от Яндекса.
Будьте внимательны на мобильных устройствах, так как там используются упрощённый функционал даже в официальном приложении от Microsoft, поэтому для просмотра скачивайте PDF-версию. А если нужно редактировать файл, то используйте оригинальный файл.
Файлы такого типа обычно разбиты на страницы, а текст может быть форматированным (жирный, курсив, выбор шрифта, таблицы и т.п.), а также в него можно добавлять изображения. Формат идеально подходит для рефератов, докладов и РПЗ курсовых проектов, которые необходимо распечатать. Кстати перед печатью также сохраняйте файл в PDF, так как принтер может начудить со шрифтами.















