124158 (689874)
Текст из файла
Федеральное агентство по образованию
ГОУ ВПО «Уральский государственный технический университет - УПИ»
Кафедра «Детали машин»
Курсовой проект
по дисциплине «Детали машин»
Расчет и проектирование коническо-цилиндрического редуктора
Пояснительная записка (ДМ-РКЦ.05.00.ПЗ)
Вариант №
Руководитель:
Студент гр. ММО-402:
2006 г.
Исходные данные
Полезная сила, передаваемая лентой транспортера Р = 24 кН, скорость ленты V = 0,8 м/с, диаметр приводного барабана D = 320 мм, режим работы – средний нормальный, время работы передачи - tx = 10000 ч, коническая передача – с круговыми зубьями, цилиндрическая передача – с косыми зубьями, нагрузка реверсивная.
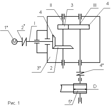
Схема привода конвейера:
1* – электродвигатель;
2* – цепная муфта;
3* - редуктор (1, 2, 3, 4 – зубчатые конические и цилиндрические колеса;I,II,III - валы редуктора: ведущий, промежуточный, тихоходный); 4* – муфта; 5* – барабан.
1. Выбор электродвигателя и кинематических параметров привода
Требуемая мощность электродвигателя 1, с. 23
Ртр = F · V / о
где V, м · с-1 ; F, кН; Ртр, кВт; о - КПД привода
о = к · ц · п4
к = 0,96 – КПД конической зубчатой передачи;
ц = 0,97 – КПД цилиндрической зубчатой передачи;
п = 0,99 – КПД одной пары подшипников качения;
о = 0,96 · 0,97 · 0,99 4 = 0,8945
Р
тр= 24·0,8/0,8945 = 21,5 кВт
Частота вращения тихоходного вала редуктора равна частоте вращения вала барабана:
Выбираем асинхронный электродвигатель серии АМУ225М8 N=22 кВт с nс=750 об/мин, скольжением S = 2 % и с диаметром вала электродвигателя d1=60 мм. Частота вращения вала электродвигателя:
Требуемое передаточное отношение редуктора:
Округляем вычисленное значение Uтр до ближайшего стандартного по ГОСТ 2185- 66 2, табл. 11 и распределяем его между ступенями редуктора [7 табл. 1].
Uр = 16 ; Uб = U1 = 3,55; Uт = U2 = 4,5
Частота вращения валов
n1= 735 об/мин
n2= n1 / U1 = 735/3,55 = 207 об/мин
n3 = n2 / U2 = 207/4,5 = 46 об/мин
Мощности и крутящие моменты, передаваемые валами:
Р1 = Ртр · п = 22 · 0,99 = 21,78 кВт
Р2 = Ртр · к · п2 = 22 · 0,96 · 0,992 = 20,7 кВт
Р3 = Ртр · к · ц · п3 = 22 · 0,96 · 0,97 · 0,992 = 20 кВт
Т1 = 9550 · Р1 / n1 = 9550 · 21,78/735 = 283 Н·м
Т2 = 9550 · Р2 / n2 = 9550 · 20,7/207 = 955 Н·м
Т3 = 9550 · Р3 / n3 = 9550 · 20/46 = 4152 Н·м
2. Расчет конической зубчатой передачи быстроходной ступени
2.1 Выбор материалов и допускаемые напряжения
Диаметры заготовок для шестерни и колеса 3, табл. 2
Находим размер характерного сечения заготовки Sc из условия, что при dЗj200 мм Scj = 0,5 dЗj, а при dЗj 200 мм:
SСj =
SС1 = 0,5 · dЗ1 = 0,5 · 103,3 = 51,65 мм
SС2 =
Используя рекомендации работ 1, 3, при известных значениях Scj выбираем для шестерни сталь 40ХН с поверхностной закалкой зубьев ТВЧ, а для колеса - сталь 45. Их механические характеристики определяем по табл.13. Для шестерни твердость поверхности зуба HRC1п – 48…53 (HRC1пср 50,5), сердцевины зуба НВ1 - 269 … 302; для колеса принимаем вид термообработки – улучшение, тогда НВ2 - 269 … 302 (НВ2 ср 285,5).
Допускаемые контактные напряжения 3, с. 5
(1)
где j = 1 для шестерни и j = 2 для колеса,
- предел контактной выносливости поверхности зубьев, соответствующий базовому числу циклов перемен напряжений, определяется в зависимости от марки стали и ее химико-термической обработки по табл. 2 3, с. 8; KHLj – коэффициент долговечности; SH = 1,1 для колес с однородной структурой материала, SH=1,2 - при поверхностном упрочнении зубьев 4, табл. 2,5.
Для шестерни SH1 = 1,2; для колеса SH1 = 1,1. Предел контактной выносливости для шестерни:
H Lim b1 = 17 · HRC1пср + 200 = 17 · 50,5+200=1059 МПа
для колеса:
H Lim b2 = 2 · HВ2ср + 70 = 2 · 285,5 + 70 =641 МПа
Коэффициент долговечности равен 4, с. 38
где NHE j – эквивалентное число циклов напряжений;
NHO j – базовое число циклов, определяемое в зависимости от твердости по Бринелю или Роквеллу,
Nно = 30 · (НВ)2,4 340 · (HRC)3,15 + 8 · 106
При HRC 56 принимают Nно = 1,2 · 108
Nно1 = 340 · (HRC1пср )3,15 + 8 · 106 = 340 (50,5)3,15+8 · 106 =8,69 · 107
Nно2 = 30 · (HВ2ср )2,4 = 30(285,5)2,4 = 2,35 · 107
Величина NHE j определяется по формуле
NНЕ j = N j · КНЕ ,
Где КНЕ – коэффициент приведения переменного режима работы к постоянному, определяется в зависимости от заданного режима работы по [7 табл. 3] 3, табл. 4 К не = 0,18;
N j = суммарное число циклов напряжений, N j = 60 · t · nj
N 1 = 60 · t · n1 = 60 · 10 000 · 735 = 4,41 · 108
N 2 = 60 · t · n2 = 60 · 10 000 · 207 = 1,242 · 108
N НЕ 1 = N 1 · К НЕ = 4,41 ·108 · 0,18 = 79,38 · 106 = 7,94 · 107
N НЕ 2 = N 2 · К НЕ = 1,242 · 108 · 0,18 = 2,23 · 107
При N не j N но j принимают К HL j = 1. Таким образом,
К HL j = К HL2j = 1.
Определяем:
При расчете конических колес с круговыми зубьями HP выбирается как наименьшее из двух, получаемых по формулам 3, с. 15:
[HP]= 0,45 · (HP1 + HP2 ) = 0,45 · (883 + 583) = 660 МПа
HP = 1,15 · HPj min = 1,15 · HP2 = 670 МПа
Окончательно принимаем HP = 660 МПа
Допускаемые напряжения изгиба 3, с. 18
где
- предел выносливости зубьев при изгибе, соответствующий базовому числу циклов перемен напряжений, определяется в зависимости от марки стали и ее химико-термической обработки по [7 табл. 4] 3, с.16;
SF - коэффициент безопасности, SF = 1,65·SF , где SF – коэффициент, учитывающий способ получения заготовки зубчатого колеса (для поковок и штамповок SF = 1, для проката S F = 1,15; для литых заготовок S F = 1,3);
K FL – коэффициент долговечности; K FС - коэффициент, учитывающий влияние двухстороннего приложения нагрузки. При нереверсивной (односторонней) нагрузке 3, с. 15 K FС = 1 . При реверсивной симметричной нагрузке
K FС = 1 - FС
где FС - коэффициент, учитывающий влияние химико-термической обработки по табл. 3, табл. 5.
Для шестерни
= 600 МПа
S F1 = 1,65 ·
= 1,65 · 1,15 = 1,9
K FС1 = 1 - FС1 = 1 – 0,25 = 0,75
Для колеса
= 1,35 · НВ2 ср + 100 = 1,35 · 285,5 + 100 = 485 МПа
S F2 = 1,65 ·
= 1,65 · 1 = 1,65
K FС2 = 1 - FС2 = 1 – 0,35 = 0,65
Коэффициент долговечности K FLj равен 3, с. 17
mF = 6 при НВ 350 и mF = 9 при НВ 350.
NFO - базовое число циклов напряжений, равное 4 · 106
NFЕ - эквивалентное число циклов напряжений, определяемое по формуле
NFЕj = Nj · KFЕj
где KFЕj - коэффициент приведения переменного режима работы к постоянному.
Для типовых режимов определяется по табл. 3 3, с. 11.
NFЕ1 = N1 · KFЕ1 = 4,386 · 108 · 0,04 = 17,544 · 106
NFЕ2 = N2 · KFЕ2 = 1,392 · 108 · 0,6 = 8,352 · 106
При NFЕj NFОj принимают КFLj = 1, таким образом,
КFL1 = КFL2 = 1.
Определяем FPj по формуле (2)
2.2 Определение геометрических размеров передач
При проектном расчете конической зубчатой передачи в качестве ее основного геометрического параметра определяют ориентировочно внешний делительный диаметр колеса из условия обеспечения контактной выносливости рабочего профиля зуба колеса по формуле:
где
- коэффициент ширины зубчатого венца, который рекомендуется принимать 0,25 … 0,3 1, 5. Предварительно принимают
– ориентировочное значение коэффициента нагрузки;
н - коэффициент, учитывающий вид конической передачи.
Величину н для конических колес с прямыми зубьями принимают равной н = 0,85; для колес с круговыми зубьями по [5 табл. 5].
н =1,13 + 0,13 · U1 = 1,13 + 0,13 · 3,15 = 1,5395
Коэффициент нагрузки определяют по формуле
Где
– коэффициент распределения нагрузки между зубьями;
- коэффициент внутренней динамической нагрузки.
Для непрямозубых передач
;
при n 2000 об/мин;
; при n 2000 об/мин
Принимаем
Коэффициент концентрации нагрузки КН (коэффициент равномерности распределения нагрузки по длине зуба) для передач с круговым зубом при
НВj min 350 принимают КН = 1,
При НВj min 350 коэффициент Кн определяют по формуле
Определяем
(3)
Полученное значение округляем по ГОСТ 12289-76 [7 табл.8] 1, с. 51,
Ориентировочно определяем число зубьев колеса 5, с.4
где К – коэффициент, учитывающий твердость зубьев, определяется по [7табл. 5] 1, табл. 4.18, К=14;
Проверяют выполненные условия 5, с. 4
Если это условие не выполняется, принимают
Число зубьев шестерни
Округляем Z1=17. Уточняем число зубьев колеса
и округляем Z2 = 60.
Вычисляем с точностью до четвертого знака после запятой фактическое значение передаточного числа
его отличие от номинального передаточного числа равно:
Определяем углы делительных конусов с точностью не ниже 1 5,с.5.
Для выравнивания удельных скольжений в зацеплении шестерню рекомендуется выполнять с положительным радиальным смещением, а колесо с равным ему по абсолютной величине отрицательным смещением 5, с.5
Здесь m - угол наклона зуба. При круговых зубьях преимущественно применяют m = 35 1, 5; а при тангенциальных 20…30, обычно угол m выбирают кратным 5.
Находим внешний окружной модуль 5, с.5
Для колес с круговыми зубьями mte
m’te= d e2 / z 2 = 300/60 = 5 мм
Внешний окружной модуль можно не округлять до стандартного значения по ГОСТ 9563-80, так как одним и тем же режущим инструментом можно нарезать колеса с различными модулями из определенного непрерывного интервала значений.
Определяем внешнее конусное расстояние 5, с.5
Ширина шестерни и колеса
Характеристики
Тип файла документ
Документы такого типа открываются такими программами, как Microsoft Office Word на компьютерах Windows, Apple Pages на компьютерах Mac, Open Office - бесплатная альтернатива на различных платформах, в том числе Linux. Наиболее простым и современным решением будут Google документы, так как открываются онлайн без скачивания прямо в браузере на любой платформе. Существуют российские качественные аналоги, например от Яндекса.
Будьте внимательны на мобильных устройствах, так как там используются упрощённый функционал даже в официальном приложении от Microsoft, поэтому для просмотра скачивайте PDF-версию. А если нужно редактировать файл, то используйте оригинальный файл.
Файлы такого типа обычно разбиты на страницы, а текст может быть форматированным (жирный, курсив, выбор шрифта, таблицы и т.п.), а также в него можно добавлять изображения. Формат идеально подходит для рефератов, докладов и РПЗ курсовых проектов, которые необходимо распечатать. Кстати перед печатью также сохраняйте файл в PDF, так как принтер может начудить со шрифтами.















