197503 (689771), страница 5
Текст из файла (страница 5)
Магазин, осуществляющий перемещение изделий с помощью вибраций, показан на рисунке 3.3, ж. Загруженные в спиральный лоток 3 верхней чаши 1 изделия 4 последовательно перемещаются по чашам 1, соединенным между собой лотками 2. Перемещение изделий по спиральным лоткам 3 производится под действием вибрации, создаваемой вибратором 5. По типу накопителей магазины делятся на стационарные и сменные (кассетные). Кассетные накопители, как правило, загружаются автоматически вне магазина на специальных устройствах или непосредственно от ТМ, имеющих возможность каптировать изделия после выполнения операции.
В зависимости от способа расположения ряда изделий МЗУ разделяются на горизонтальные и комбинированные. По способу расположения изделий в ряду можно выделить магазины с расположением изделий вразрядку и вплотную.
Благодаря конструктивной простоте накопителей с плотным расположением изделий, их применение предпочтительно во всех случаях, когда нет необходимости в изоляции при хранении и выдаче.
Шаг между позициями изделий в накопителе выбирается исходя их необходимости исключения контакта между изделиями и создания возможности надежного захвата изделий ПР. Шаг между позициями изделий больше длины изделия в направлении перемещения, поэтому магазины с расположением изделий вразрядку имеют меньшую емкость, чем магазины с плотным расположением.
По числу накопителей МЗУ можно разделить на однопозиционные и многопозиционные. Необходимость увеличения позиций вызвана потребностью сократить время обслуживания одного МЗУ за счет увеличения общей емкости магазина. Кроме того, увеличение числа позиций необходимо для создания емких и компактных магазинов. Число позиций прежде всего зависит от размеров, массы изделий и времени обслуживания одной позиции магазина.
Рисунок 3.2.4 Схемы расположения накопителей (позиций) МЗУ
Многопозиционные магазины, в отличие от однопозиционных, снабжены дополнительным приводом, который обеспечивает подвод накопителей на позицию захвата по мере их выработки.
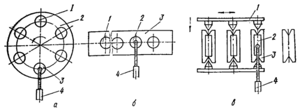
Накопители многопозиционных магазинов располагаются по линейной или круговой схеме. При круговой схеме (рис. 3.2.4, а) накопители 1 располагаются на платформе 2 по окружности. По мере забора изделий ПР 4, подвод очередного накопителя 1 на позицию захвата 3 осуществляется поворотом платформы 2 на угол:
α = 360/n;
где n - число позиций.
В случае линейного расположения (рисунок 3.2.4, б) накопителей 1 на платформе 3 их перемещение на позицию захвата 2 осуществляется за счет перемещения платформы 3 на шаг, равный расстоянию между центрами накопителей. В промышленном производстве получили распространение двух- и трех- позиционные магазины с линейным расположением накопителей. При большом числе накопителей отдается предпочтение круговым схемам.
На основании предложенных конструкций магазинных загрузочных устройств, выбираем многопозиционный поворотный магазин, т. к. для разрабатываемого типа производства он подходит из-за меньших габаритных размеров, изоляции механизма от станка, а также более удобном подводе заготовок к загрузочной позиции.
3.3 Расчет и проектирование поворотного МЗУ
Расчет параметров поворотного МЗУ будем производить согласно следующей схемы /8, с. 308-310/:
Рисунок 3.3.1 Расчетная схема диска поворотного МЗУ
Определим расчетное число деталей:
где Т - время работы МЗУ без загрузки заготовок, мин;
tв - такт выпуска, мин/шт;
Рассчитывая на работу МЗУ без дозагрузки на 60 мин:
Z= 60/5,82 = 10,3
принимаем окончательно z = 10.
Диаметр окружности центров гнезд:
где br-ширина перемычки между гнездами; br=(0,3-0,12)dr=0,178×560=100 мм;
dr-диаметр гнезда;
Наружный диаметр диска:
где br' - наименьшая ширина перемычки между гнездами и наружным диаметром диска;
br' = 0.18×dr=0,18×520=100 мм;
Толщину диска принимаем конструктивно равной 50 мм;
Угол поворота диска за один цикл:
Для прерывания движения поворотного МЗУ при возвращении пневмоцилиндра в исходное положение необходимо предусмотреть стопорящий механизм, выберем для решения этой задачи храповый механизм с вращающейся собачкой (рисунок 3.3.2).
Рисунок 3.3.2 Храповый механизм с вращающейся собачкой
Угол поворота храпового колеса /8,с. 309/:
Радиус расположения центра собачки:
Радиус храпового колеса по впадинам зубьев:
где α-угол поворота колеса;
k - число зубьев колеса, захватываемых собачкой при повороте рабочего органа питателя из позиции в позицию;
z - число зубцов храпового колеса;
Dхр - наружный диаметр храпового колеса;
d1 - диаметр бобышки собачки;
h - высота зуба;
S - зазор между бобышкой и вершиной зуба;
Для данного механизма передний угол зуба принимают равным 8-12˚, угол впадины зуба равен 45-80˚, а угол при вершине носика собачки равен - 5˚.
Для привода во вращательное движение плиты поз. 1 (см. чертеж 050100.ДФ.151001.КР.17.02) необходимо подобрать пневматический цилиндр. Для этого нужно рассчитать усилие, необходимое для поворота плиты. Сопротивление повороту плиты оказывает только сила трения в месте контакта плиты с шариками. Определим эту силу:
где N - реакция опоры, Н;
f - коэффициент трения в шариковом узле, f=0,05;
где m - масса всех частей, действующих на шариковый узел, кг;
g - ускорение свободного падения, g=9,8 м/с2;
где mзi - масса всех заготовок, расположенных на плите;
mi - масса плиты;
где d - диаметр плиты, см;
L -высота плиты, см;
ρ - плотность материала плиты, ρ = 7,6г/см3.
Таким образом на вал, приводящем во вращение плиту, должно быть усилие равное Fтр. Учитывая, что передаточное отношение пары:
где D1 - диаметр ведущего колеса, D1=200 мм;
D2 - диаметр ведомого колеса, D2=400 мм;
Тогда усилие, которое необходимо развить пневматическому цилиндру:
Определим диаметр пневматического цилиндра /10, с. 247/:
где р - давление воздуха в производственной сети, р = 5 кгс/см2;
Выбираем пневматический цилиндр двухстороннего действия с креплением на лапах по ГОСТ 15608-70 /10, с. 228/ со следующими параметрами:
Диаметр цилиндра Dц=125 мм; диаметр штока dш=32 мм.
4 Организационно-технические разработки
В данном разделе сформулируем технические предложения на модернизацию основного технологического оборудования.
В РТК необходимо предусмотреть устройство для уборки стружки. За базовый вариант принимаем скребковый МУС, конструкция которого приспособлена для совместного использования со станками моделей 16К30.
Смену инструмента на станках можно производить с помощью устройства быстрой смены резцовых головок при помощи ПР. При этом происходит резкое сокращение времени на смену инструмента, по сравнению с ручным способом смены.
На станке 16К30Ф3С05 предусмотрена система автоматизированного контроля (САК). Устройство САК обеспечивает получение качественных изделий на каждой отдельной стадии обработки, корректировку положения режущего инструмента по мере износа. Данное устройство подает предупреждающие сигналы в случае возникновения неполадок.
Безопасности обслуживающего персонала обеспечивается с помощью применения ограждений непосредственно на станках, а также ограждения всего РТК.
РТК, представленный в работе удовлетворяет требованиям задания. Дополнительно предусмотрены условия обеспечения безопасности и свободного доступа обслуживающего персонала к различным устройствам для необходимой замены и других целей.
РТК включает в себя следующее количество оборудования:
Токарный станок 16К30Ф305 - 2;
ПР УМ160Ф2.81.01 - 1;
Электрошкаф - 2;
Пульт управления ПР - 1;
Поворотное магазинное загрузочное устройство - 1;
Накопитель - 1;
Заключение
В технологической части курсовой работы осуществлен выбор промышленного робота, разработан технологический процесс на изготовление детали типа фланец, выбрано основное технологическое оборудование, оснастка, разработана планировка РТК;
Значительную роль в повышении производительности играет оптимальное назначение режимов резания и правильность выбора ПР. В данном разделе произведено назначение режимов резания с учетом наиболее длительной работы режущего инструмента;
Применение в РТК поворотного магазинного загрузочного устройства оказывает существенное влияние на условия труда, т. е. избавляет человека от подачи заготовок в необходимую позицию для непрерывной работы РТК.
В организационно-технической части рассмотрена система автоматического контроля (САК), с помощью которой повышается точность обработанных поверхностей, а значит и качество выпускаемой продукции.
РТК, разработанный в курсовой работе содержит поворотное магазинное загрузочного устройства, при помощи которого производится постоянная подача заготовок в загрузочную позицию промышленного робота.
Список литературы
-
Козырев Ю.Г.: Промышленные роботы: Справочник.-2-е изд., перераб. и доп.-М.: Машиностроение, 1988.-392 с.
-
Митрофанов С.П.: Групповая технология машиностроительного производства. В 2-х т. Т. 1. Организация группового производства. - Л.: Машиностроение, 1983. – 470 с.
-
Технологический классификатор деталей машиностроения и приспособлений. Учеб. пособие-К. Высшая школа, 1991. 247 с.
-
Справочник технолога-машиностроителя. В 2-х т. Т 1/Под ред. А.Г. Косиловой и Р.К. Мещерякова. – 4-е изд., перераб. и доп. – М. Машиностроение, 1985. 656 с.
-
Справочник технолога-машиностроителя. В 2-х т. Т 2/Под ред. А.М. Дальского, А.Г. Суслова, А.Г. Косиловой, Р.К. Мещерякова. – 5-е изд., перераб. и доп. – М. Машиностроение-1, 2001 г. 944 с.
-
Обработка металлов резанием: Справочник технолога/В.В. Аникин, Н.Г. Бойм и др.; Под общ. ред. А.А. Панова. – М. Машиностроение. 1988. – 736 с.
-
Гавриш А.П., Двойных Н.А.: Автоматические загрузочные устройства для промышленных роботов. -К.: Техника, 1985, -176 с.
-
Справочник металлиста: В 5-и т. Т. 5./Под ред. Б.Л. Богуславского. М. Машиностроение, 1978. – 673 с.
-
Роботизированные технологические комплексы и гибкие производственные системы в машиностроении: Альбом схем и чертежей: Учеб. пособие для втузов/ Ю.М. Соломенцев, К.П. Жуков, Ю.А. Павлов и др.; Под общ. ред. Ю.М. Соломенцева. – М. Машиностроение, 1989. – 192 с.
-
Горошкин А.К.: Приспособления для металлорежущих станков: Справочник. 7-е изд., перераб. и доп. - М.: Машиностроение, 1979. – 303 с.















