197503 (689771), страница 4
Текст из файла (страница 4)
В данном разрабатываемом варианте в состав РТК входит ПР модели УМ160Ф2.81.1, два токарно-винторезных станка 16К30Ф305, поворотное магазинное загрузочное устройство, накопитель.
Согласно типовым планировкам роботизированных комплексов /4, с. 498/ максимальные размеры РТК составляют:
Lmax=14780 мм; Bmax=5180 мм; Hmax=3000 мм;
2.7 Составление циклограммы работы механизмов РТК
Циклограмму составляют на основании тщательного анализа всех механизмов, с целью выбора наиболее рациональной последовательности движений.
Время движения механизмов рассчитывают с учетом длины хода и скорости перемещения. Длину хода определяют согласно планировке и данным технологического процесса, а скорость перемещения назначают по техническим характеристикам ПР и оборудования.
Для составления циклограммы необходимо заполнить карту взаимодействия промышленного робота с технологическим оборудованием и вспомогательными устройствами.
Время, затрачиваемое на ротацию руки:
от горизонтальной оси: t=1 с
от вертикальной оси: t=4 с.;
Время на перемещение к МЗУ: t=1 с.;
Время на перемещение вниз к МЗУ: t=4 с.;
Время на перемещение вверх от МЗУ: t=1 с.;
Время на перемещение вперед, назад от станков: t=1 с.;
Время на перемещение каретки:
от МЗУ к С1: t=3 с.
от С1 к С2: t=8 с.
от С2 к накопителю: t=3 с.;
Время на зажим и разжим схвата назначаем t=1 с;
Карту представим в виде следующей таблицы:
Таблица 2.7.1 Взаимодействие ПР с токарным станком модели 16К30Ф3С05 при обработке детали типа фланец
| Функции робота | Функции станка, оснастки, дополнительных устройств | |||
| Команды | Действия | Ответные сигналы | Действия | |
| Сигнал о наличии заготовки на загрузочной позиции магазина | ||||
| Захват заготовки с загрузочной позиции магазина, ротация руки и перемещение кисти до требуемой позиции, установка заготовки в патроне. | ||||
| Сигнал о наличии заготовки в патроне | ||||
| Команда на зажим заготовки в патроне | Зажим патрона | |||
| Сигнал о зажиме патрона | ||||
| Отвод руки ПР от С1 Перемещение каретки вперед до станка С2 | ||||
| Команда на перемещение ограждения в положение «открыто» на С2 | Перемещение ограждения в положение «открыто» | |||
| Сигнал о нахождении ограждения в положении «открыто» | ||||
| Перемещение руки, зажим обработанной детали на С2 | ||||
| Команда на раскрепление детали (разжим патрона) | Разжим патрона | |||
| Сигнал о раскреплении детали (разжим патрона) | ||||
| Втягивание руки, перемещение к накопителю (Н) до требуемой позиции. Разжим кисти | ||||
| Сигнал о наличии детали в накопителе | ||||
| Команда на перемещение руки ПР от накопителя (Н) к загрузочной позиции магазина | ||||
| Перемещение руки ПР от накопителя (Н) к загрузочной позиции магазина | ||||
3 Конструкторские разработки
3.1 Разработка технического задания на проектирование поворотного магазинного загрузочного устройства
Техническое задание на проектирование
На стадии технического задания необходимо найти самое оптимальное конструкторское решение, и назначить технические требования на проектируемое магазинное загрузочное устройство.
-
Главной целью проектирования магазина, является непрерывная подача заготовок для стабильной и бесперебойной работы РТК;
-
Источниками разработки являются /7,8/
-
Технические требования:
Исходные данные:
Тип производства - среднесерийное;
Годовая программа, шт - 31000;
Номенклатура деталей типа фланец со следующими габаритными размерами:
L =145-250 мм;
D =400-520 мм;
Количество применяемого оборудования:
Токарный станок 16К30Ф3О5 - 2;
ПР УМ160Ф2.81.01 - 1;
Поворотное магазинное загрузочное устройство -1;
Электрошкаф - 2;
Пульт управления ПР - 1;
Накопитель - 1;
Показателем предназначения поворотного магазинного загрузочного устройства является его производительность. Необходимо обеспечить постоянную подачу заготовок к загрузочной позиции магазина.
Для надежной работы поворотного магазинного загрузочного устройства необходимо своевременное прохождение технического осмотра, а для безопасной работы, необходимо закрыть кожухом все вращающиеся детали. При необходимости участок оснащается дополнительными ограждениями во избежание травм.
Для бесперебойной и стабильной работы поворотного МЗУ, необходимо подавать в рабочую зону заготовки одного диаметра и массы.
Дополнительные требования: масса заготовок должна соответствовать грузоподъемности ПР и техническим характеристикам станка.
3.2 Обоснование разрабатываемой конструкции
Магазинные загрузочные устройства (МЗУ) представляют собой комплекс функциональных механизмов, предназначенных для приемки в ориентированном положении изделий, хранения с расположением их в один ряд и автоматической выдачи изделий в рабочую зону ТМ или в зону захвата ПР, выполняющих функции питателей.
Рассматриваемые устройства применяются:
1) для изделий сложной формы, автоматическое ориентирование которых затруднено или невозможно известными техническими средствами;
2) когда автоматическое ориентирование может привести к порче изделий;
3) при возможности кассетировать (стопировать) изделия на предыдущей операции;
4) в условиях многономенклатурного производства с небольшой годовой программой, при невозможности создания достаточно мобильных АБЗОУ.
Использование ПР в качестве универсальных питателей, простота конструкций и возможность переналадок обеспечило широкое применение магазинов в ГАП.
Изделия укладываются в накопитель МЗУ в ориентированном положении вручную или вставляются стопами, расположенными обычно в сменных кассетах. Укладка изделий в кассеты может осуществляться как вручную, так и на дополнительных устройствах кассетирования.
Рисунок 3.2.1 Структурная схема МЗУ
Несмотря на большое конструктивное разнообразие МЗУ, структура их конструктивных элементов, выполняющих сходные функции, аналогична. Это можно показать на примере двухкассетного магазина с револьверным отделением изделий (рисунок 3.2.1). Основные конструктивные элементы (органы) этого устройства характерны для большинства МЗУ.
Приемник 3 предназначен для облегчения укладки в ориентированном положении в накопитель 2. Конструкция приемника зависит от способа заполнения накопителя. При ручном заполнении используются в основном только направляющие и базирующие плоскости. В случае автоматической загрузки съемных накопителей (кассет) приемник может иметь более сложные элементы ориентирования.
Накопители 2 предназначены для сохранения ориентированного положения изделий при хранении и перемещении. Применяются стационарные и съемные (кассетные) накопители. Число накопителей определяется рядом факторов, основными из которых являются производительность ПР и размеры заготовок. Конструкция накопителя должна обеспечивать свободный доступ к изделиям и исключать возможность их заклинивания в случае засорения.
Основная функция отделителя 6 состоит в изоляции изделий, подлежащих захвату, от влияния других изделий, которое может проявляться, например, в чрезмерной нагрузке нижнего изделия вышележащим, сцеплении изделий за счет заусениц и наличия смазки и т. д. В большой степени конструкции отделителей зависят от формы, размеров, механических, физических и других свойств изделий. В данном случае отделитель 6 выполнен в виде револьверного устройства, обеспечивающего не только отделение изделий от стопы, но и перемещение их на позицию захвата ПР 4.
Установка изделий на позиции захвата производится механизмами поворота 7 и 8 и фиксаторами 5 и 9, обеспечивающими точную остановку основания 1 и отделителя 6 в заданном положении.
Блокирующие устройства предназначены для предотвращения поломок механизмов МЗУ в случае нарушения нормальной работы, например при застревании изделий. Кроме того, блокирующие устройства могут контролировать правильность положения изделий при захвате. В устройстве, показанном на рисунке 3.2.1, функции блокирующих устройств выполняют предохранительные муфты.
Как правило, каждый магазин имеет привод перемещения изделий по накопителю или вместе с накопителем (в случае расположения изделий в плоских кассетах) на участок отделения или позиционного захвата. В рассматриваемом примере изделия в накопителе перемещаются под действием собственного веса, что существенно упрощает конструкцию.
Основными функциями МЗУ (рисунок 3.2.1) являются прием ориентированных изделий приемником 3, хранение и перемещение их в ориентированном положении в накопителе 2, поштучное отделение изделий из общей массы с помощью отделителя 6 и установка изделий с требуемой точностью на позиции захвата.
Изделия, находящиеся в накопителе могут перемещаться двумя способами: под действием собственного веса и под действием дополнительной внешней силы. Магазины первой группы (рисунок 3.2.2) конструктивно просты, надежны. Они применяются, как правило, при заборе изделий снизу.
Рисунок 3.2.2 МЗУ для изделий, перемещающихся под действием собственного веса
На рисунке 3.2.2, а показан магазин элеваторного типа, состоящий из полок 2, закрепленных на бесконечной цепи 4. Загрузка полок 2 изделиями 5 производится сверху, выдача - снизу в захват 1. Перемещение цепи элеватора осуществляется пот действием веса изделий 3. Периодичность подачи изделий на позицию захвата определяется ПР.
В магазине шиберного типа (рисунок 3.2.2, б) перемещение изделии в накопителе производится под собственным весом до упора в шиберный отделитель 1.
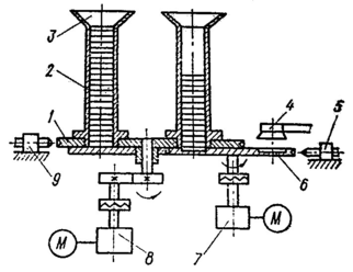
Рисунок 3.2.3 МЗУ для изделий, перемещающихся в накопителе под действием внешних сил
В магазинах второй группы перемещение изделий производится внешними силами. На рисунке 3.2.3, а показано устройство для перемещения изделий 1 по накопителю 3 к отделителю 5 за счет гравитационных сил, создаваемых дополнительным грузом 2. На рисунке 3.2.3, б перемещение изделий 3 в горизонтально расположенном накопителе 2 до упора в отделитель 4 осуществляется за счет гравитационных сил груза 1, передаваемых через систему шкивов. В конструкции, представленной на рисунке. 3.2.3, в, груз заменен пружиной 1, что позволяет сделать магазин более компактным.
Магазин, приведенный на рисунке. 3.2.3, г, осуществляет принудительное перемещение изделий 2 силами трения, возникающими между заготовками и подвижными ремнями 3, образующими накопитель V-образной формы.
Магазин, в котором используется в качестве перемещающей силы энергия электродвигателя, представлен на рис. 3.2.3, д. Он выполнен в виде платформы 4, соединенной посредством троса 2 с электродвигателем 3.
Широко распространена подача изделий 2 под захват 1 ПР в шахтных накопителях 3 с помощью пневматических двигателей - пневмоцилиндров 4 (рисунок 3.2.3, е).















