123886 (689685)
Текст из файла
Содержание
Введение
1Пояснительная записка
Назначение и выбор конструкции редуктора
Выбор сорта масла
Выбор посадок
Сборка редуктора
2 Расчетная часть проекта
Исходные данные для проектирования
Содержание расчета
Выбор электродвигателя и кинематический расчет
Расчет редуктор
Предварительный расчет валов редуктора
Конструктивные размеры шестерни и колеса
Конструктивные размеры корпуса редуктора
Расчет открытой передачи
Проверка долговечности подшипников
Проверка прочности шпоночных соединений
Уточнённый расчет валов
Список используемой литературы
Введение
В современное время развитие народного хозяйства зависит от машиностроения. Для современного машиностроения характерно:
• Повышение требований к техническому уровню
• Повышение требований к качеству и надежности
• Увеличение сроков долговечности техники
Основные требования, предъявляемые к создаваемой машине:
• Высокая производительность
• Надежность
• Технологичность
• Ремонтопригодность
• Минимальные габариты и масса
• Удобство эксплуатации
• Экономичность
• Техническая эстетика
Все эти требования учитывают в процессе проектирования.
При расчетах, конструировании и изготовлении машин должны строго соблюдаться государственные стандарты (ГОСТы), отраслевые стандарты(ОСТы), стандарты предприятий(СТП).Основы надежности закладываются при проектировании изделия, при выборе оптимальных вариантов конструкции. В данном курсовом проекте сконструирован привод подвесного конвейера.
Привод состоит из цилиндрического редуктора и конической передачи. В пояснительной записке выполнены геометрические и прочностные расчеты механических передач, валов, подобраны подшипники, выполнен их расчет на долговечность. В графической части курсового проекта выполнен сборочный чертеж редуктора, рабочие чертежи ведомого вала и зубчатого колеса.
1. ПОЯСНИТЕЛЬАЯ ЗАПИСКА
1.1 Назначение и выбор конструкции редуктора
Редуктором называют механизм, выполненный в виде самостоятельного агрегата с целью понижения частоты вращения ведомого вала и увеличения вращающего момента на ведомом валу. Редуктор состоит из зубчатых или червячных колес, валов, подшипников, крышек подшипников, корпуса и др.
Редукторы широко применяют в приводах различных рабочих машин в разных отраслях машиностроения. Соединение редуктора с двигателем осуществляется с помощью муфты или ременных и цепных передач. Редукторы классифицируют по типам, типоразмерам и исполнениям.
Тип редуктора определяют– по виду применяемых зубчатых передач и порядку их размещения в направлении от быстроходного вала к тихоходному, по числу ступеней передачи и по расположению геометрической оси тихоходного вала в пространстве.
Редукторы бывают цилиндрические, конические, коническо – цилиндрические, червячные, червячно – цилиндрические, цилиндрическо – червячные, планетарные, волновые и т.д.
По числу ступеней передач различают редукторы одноступенчатые, двухступенчатые, трехступенчатые.
По расположению геометрической оси тихоходного вала в пространстве различают редукторы: горизонтальные и вертикальные.
Типоразмер редуктора определяет тип и главный размер тихоходной ступени для цилиндрических и червячных передач главным параметром является межосевое расстояние, конической – внешний делительный диаметр. Другими параметрами зубчатых редукторов являются коэффициент ширины зубчатых колес, модули зубчатых колес, углы наклона зубьев, а для червячных редукторов дополнительно коэффициент диаметра червяка.
Исполнение редуктора определяют передаточное число, вариант сборки, форма концевых участков валов. Основная энергетическая характеристика редуктора – номинальный вращающий момент на тихоходном валу.
Цилиндрические редукторы применяют для передачи движения между валами, оси которых параллельны.
Наиболее распространены вертикальные и горизонтальные цилиндрические ре-дукторы с прямыми и шевронными зубьями.
Максимальное передаточное число одноступенчатого цилиндрического редуктора по ГОСТу равно 12,5. Высота одноступенчатого редуктора с таким или близким к нему передаточным числом больше, чем двухступенчатого с тем же значением. По-этому практически редукторы с передаточным числом, близким к максимальному, применяют редко, ограничиваясь 6.
Выбор горизонтальной и вертикальной схемы для редукторов всех типов обу-словлен удобством общей компоновки привода.
1.2 Выбор сорта масел
Смазывание зубчатого зацепления производится окунанием зубчатого колеса в масло, заливаемое внутрь корпуса до погружения колеса на всю длину зуба.
Контактное напряжение и средняя окружная скорость колес
σн=487,13 МПа
υ=0,62 м/с
Кинематическая вязкость приблизительно равна 40*10-6 м/с (1.табл.10.8).
Принимаем масло индустриальное И-40А (1.табл.10.10).
Подшипники смазываем пластичным смазочным материалом, закладываемым в подшипниковые камеры при монтаже.
Принимаем солидол марки УС-2(1.табл.9.14)
Объем заливаемого масла вычисляем по формуле
Vм=0,6*Pтр.
Vм=0,5*3,3=1,65 дм3=1,65 л
Уровень масла hм, мм, вычисляем по формуле
hм= Vм/(a*b),
где a,b–размеры рабочей камеры, м;
a=2,8 дм3 (по построению);
b=1,3 дм3 (по построению).
hм= 1,65/(2,8*1,3)=0,45 дм=45 мм
1.3 Выбор посадок
Посадка шестерни и колеса на вал H7/t6 (ГОСТ 25347–82).
Посадка муфты на вал редуктора H7/p6 (ГОСТ 25347–82).
Шейки валов под подшипники выполняем с отклонением вала k6. Отклонения отверстий в корпусе под наружные кольца по H7 (ГОСТ 25347–82).
Следующие посадки принимаем, пользуясь справочными данными:
Шейки валов под войлочные уплотнения выполняем с отклонением вала h8.
-
Сборка редуктора
Перед сборкой внутреннюю полость редуктора тщательно очищают и покрывают маслостойкой краской.
Сборку производят в соответствии со сборочным чертежом редуктора, начиная с узлов валов:
В ведущий вал закладывают шпонку и напрессовывают шестерню до упора в бурт; на вал надевают кольца, маслоотражатели и напрессовывают шарикоподшипники, нагретые масле; в камеры вставляют распорные кольца.
Аналогично монтируют ведомый вал.
На корпус центруют крышку редуктора штифтами.
Заворачивают подшипниковые крышки и закладывают войлочное уплотнение.
Проверяют провинчиванием валов отсутствие заклинивания подшипников (валы должны поворачиваться от руки) и закрепляют подшипниковые крышки с войлочным уплотнением болтами, крепят крышку редуктора.
Затем ввертывают пробку маслоспускного отверстия с прокладкой и жезловый маслоуказатель.
Заливают в корпус масло и закрывают смотровое отверстие крышкой с прокладкой из технического картона.
Собранный редуктор обкатывают и подвергают испытанию на стенде по программе, установленной техническими условиями.
2. РАСЧЕТНАЯ ЧАСТЬ ПРОЕКТА
2.1 Исходные данные для проектирования
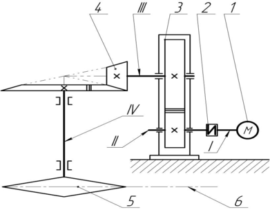
Рисунок 1– Привод к подвесному конвейеру
1–двигатель; 2–МУВЗ; 3–цилиндрический редуктор; 4–коническая передача; 5–ведущие звездочки конвейера; 6–тяговая цепь.
I,II,III,IV– валы, соответственно,– двигателя, быстроходный и тихоходный редуктора, рабочей машины.
Таблица 1–Исходные данные
| Исходные данные | Значения величин |
| Тяговая сила цепи F, кН | 5,5 |
| Скорость грузовой цепи υ, м/с | 0,55 |
| Шаг грузовой цепи p, мм | 80 |
| Число зубьев звездочки z | 9 |
| Допускаемое отклонение скорости грузовой цепи δ, % | 3 |
| Срок службы привода L, лет | 6 |
2.2 СОДЕРЖАНИЕ РАСЧЕТА
2.2.1 Выбор электродвигателя и кинематический расчет
Общий КПД привода η вычисляют по формуле
η = η1* η2* (η3)2* η4 ,
где η1- КПД цилиндрического редуктора ,η1=0,98 (1.табл. 1.1.);
η2- КПД конической передачи, η2=0,97 (1.табл. 1.1.);
η3- КПД, учитывающий потери пары подшипников качения, η3=0,99
(1.табл. 1.1.);
η4- КПД, учитывающий потери в опорах вала подвесного конвейера, η4=0,99 (1.табл. 1.1.).
η=0,98*0,97*(0,99)2*0,99=0,92
Мощность на валу подвесного конвейера P, кВт, вычисляют по формуле
P=F*υ ,
где F -тяговая сила цепи, F=5,5 кH;
υ -скорость тяговой цепи, υ=0,55 м/с.
P=5,5*0,55=3,025 кВт
Требуемую мощность электродвигателя Pтр., кВт, вычисляют по формуле
Pтр. =P/ η
Pтр.=3,025/0,92=3,3 кВт
Частоту вращения вала подвесного конвейера n3, об/мин, вычисляют по формуле
n3=(60*103*υ)/(z*p) ,
где p- шаг грузовой цепи, p=80*10-3м;
z- число зубьев, z = 9.
n3=(60*103*0,55)/(9*80)=45,8 об/мин
Угловую скорость ω3, рад/с, вычисляют по формуле
ω3=π* n3/30
ω3=3,14*45,8/30=4,8 рад/с
Выбираем электродвигатель 4А112MВ6У2
Pдв. = 4,0 кВт
nдв. =1000 об/мин (1.табл. П1)
s = 5,1%
dдв.= 32 мм (1.табл.П2)
Номинальную частоту вращения электродвигателя nдв., об/мин, вычисляют по формуле
nдв. =n-s
nдв. =1000-51=949 об/мин
Угловую скорость электродвигателя ωдв., рад/с, вычисляют по формуле
ωдв.= π* nдв. /30
ωдв.=3,14*949/30=99,3 рад/с
Общее передаточное отношение i вычисляют по формуле
i = ωдв. /ω3
i =99,3/4,8=20,68
Принимаем iред,= 4 (1.стр.36).
Передаточное число открытой передачи iо.п. вычисляют по формуле
iо.п. = i / iред,
iо.п. =20,68/4≈5
Таблица 2 – Частоты вращений и угловые скорости валов редуктора и вала подвесного конвейера
Вал A n1=nдв.=949 об/мин ω1=ωдв.=99,3рад/с
Вал B n2=n1/ iо.п.=237,3 об/мин ω2= ω1/ iо.п.=24,83 рад/с
Вал C n3=47,5 об/мин ω3=4,8 рад/с
Вращающий момент на валу шестерни T1, H*м , вычисляют по формуле
T1=Pтр./ ω1
T1=3300/99,3=33,2 H*м
Вращающий момент на валу колесаT2,H*м, вычисляют по формуле
T2=T1* iред
T2=33,2*4=132,8 H*м
Вращающий момент на валу колеса конической передачи T3,H*м, вычисляют по формуле
T3=T2* iо.п.
T3=135,9*5=664 H*м
2.2.2 Расчет редуктора
Принимаю для шестерни 40ХН, термическая обработка-улучшение,
твердость HB 280.
Принимаю для колеса 40ХН, термическая обработка-улучшение, твердость
HB 250.
Допускаемое контактное напряжение [σн], МПа, вычисляют по формуле
[σн]= σн lim b*KHL/[SH] ,
где σн lim b=2HB+70-предел контактной выносливости при базовом числе циклов;
KHL-коэффициент долговечности, KHL=1;
SH- коэффициент безопасности, SH=1,1.
Допускаемое напряжение для шестерни [σн1], МПа, вычисляют по формуле
[σн1]= (2*HB1+70)*KHL/[SH]
[σн1]=(2*280+70)*1/1,1=572 МПа
Допускаемое напряжение для колеса [σн2], МПа, вычисляют по формуле
[σн1]= (2*HB2+70)*KHL/[SH]
[σн1]=(2*250+70)*1/1,1=518 МПа
Допускаемое контактное напряжение [σн], МПа, вычисляют по формуле
[σн]=0,45*([σн1]+ [σн2])
[σн]=0,45*(572+518)=491 МПа
Межосевое расстояние aω, мм, вычисляют по формуле
aω=Kа*(iред.+1)*3√((T2*KHβ)/( [σн]2*(iред.)2*ψba)),
где Kа–коэффициент для прямозубой передачи, Kа=49,5;
iред.–передаточное число редуктора, iред.=4;
T2–вращающий момент на ведомом валу, T3=132,8 Н*м;
KHβ–коэффициент учитывающий неравномерность распределения на-грузки
по ширине венца, KHβ=1;
[σн] – допускаемое напряжение для материала колес, [σн]=491 МПа;
ψba–коэффициент ширины венца по межосевому расстоянию, ψba=0,25.
aω=49,5*(4+1)*3√((132,8*1*103)/( 4912*42*0,25))=127,8 мм
Принимаю aω=125 мм (1.ст.36)
Нормальный модуль зацепления mn, мм, вычисляют по формуле
mn=(0,01÷0,02)* aω
mn=(0,01÷0,02)*125=(1,25÷2,5) мм
Характеристики
Тип файла документ
Документы такого типа открываются такими программами, как Microsoft Office Word на компьютерах Windows, Apple Pages на компьютерах Mac, Open Office - бесплатная альтернатива на различных платформах, в том числе Linux. Наиболее простым и современным решением будут Google документы, так как открываются онлайн без скачивания прямо в браузере на любой платформе. Существуют российские качественные аналоги, например от Яндекса.
Будьте внимательны на мобильных устройствах, так как там используются упрощённый функционал даже в официальном приложении от Microsoft, поэтому для просмотра скачивайте PDF-версию. А если нужно редактировать файл, то используйте оригинальный файл.
Файлы такого типа обычно разбиты на страницы, а текст может быть форматированным (жирный, курсив, выбор шрифта, таблицы и т.п.), а также в него можно добавлять изображения. Формат идеально подходит для рефератов, докладов и РПЗ курсовых проектов, которые необходимо распечатать. Кстати перед печатью также сохраняйте файл в PDF, так как принтер может начудить со шрифтами.
















